Скачать Типовой проект 903-1-221.86 Альбом 8. Строительные изделияДата актуализации: 01.01.2021
|
| Обозначение: | Типовой проект 903-1-221.86 |
| Обозначение англ: | 903-1-221.86 |
| Статус: | не определен законодательством |
| Название рус.: | Альбом 8. Строительные изделия |
| Дата добавления в базу: | 01.09.2013 |
| Дата актуализации: | 01.01.2021 |
| Дата введения: | 18.12.1985 |
| Дата окончания срока действия: | 30.06.2003 |
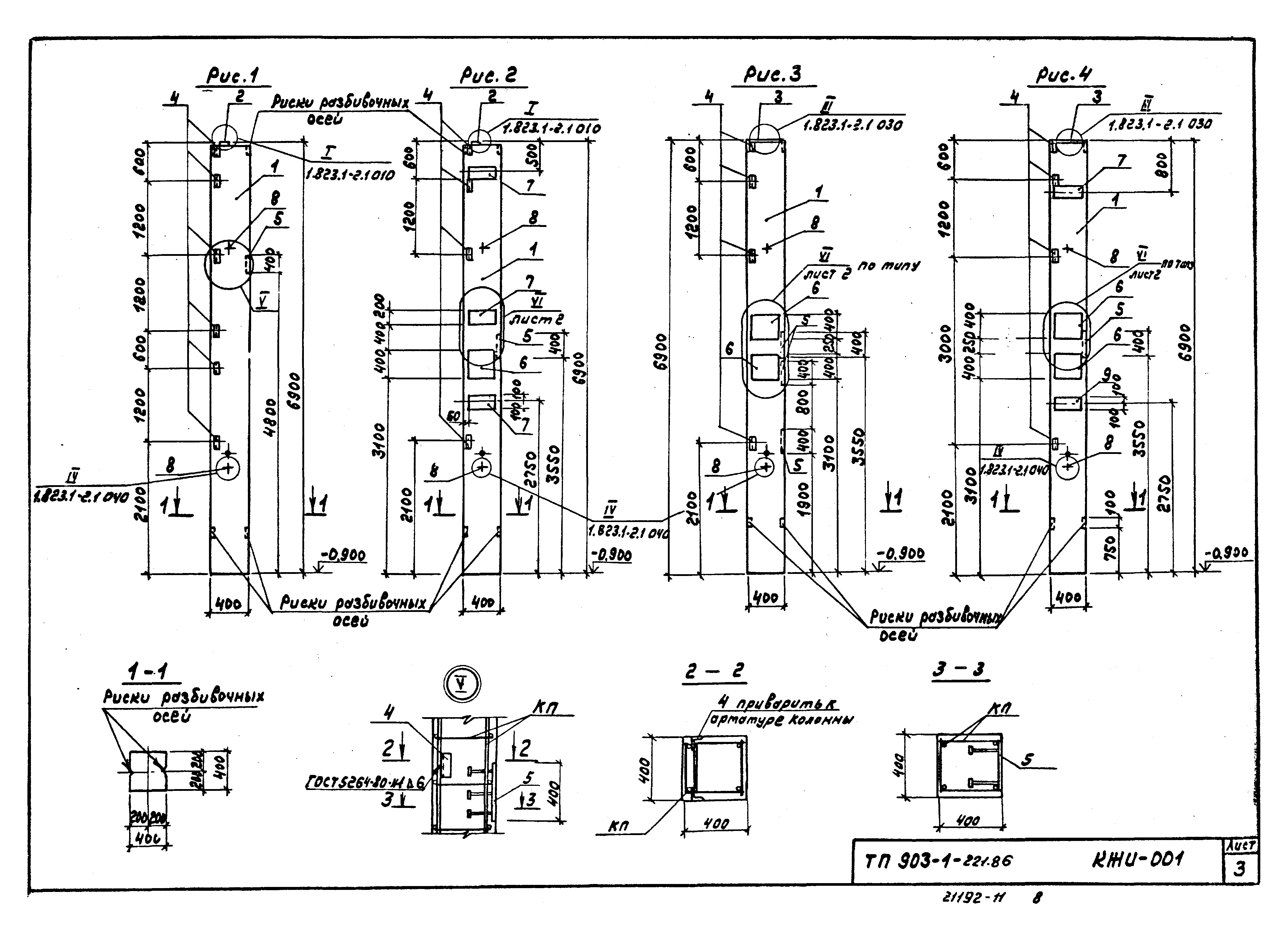
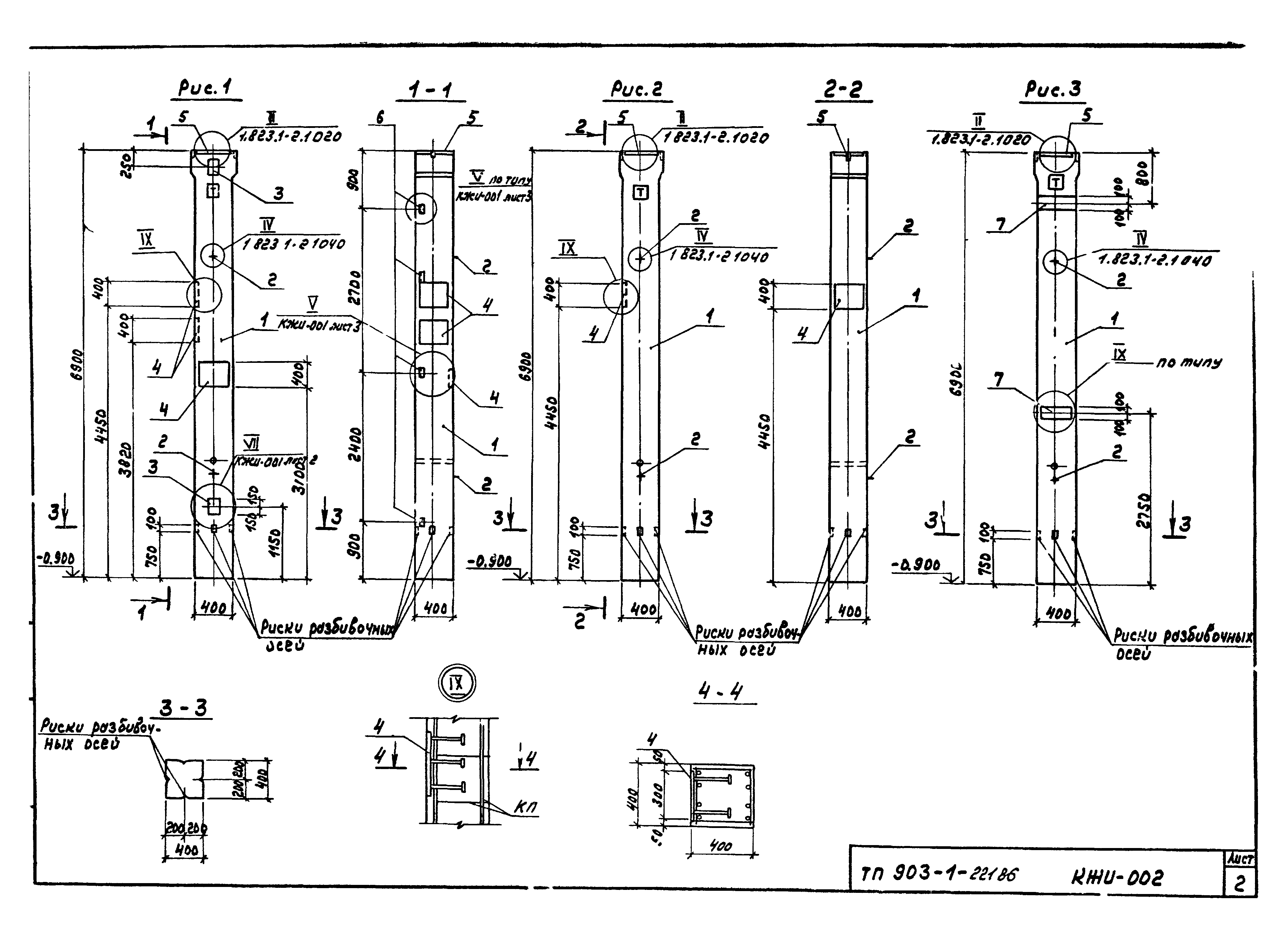
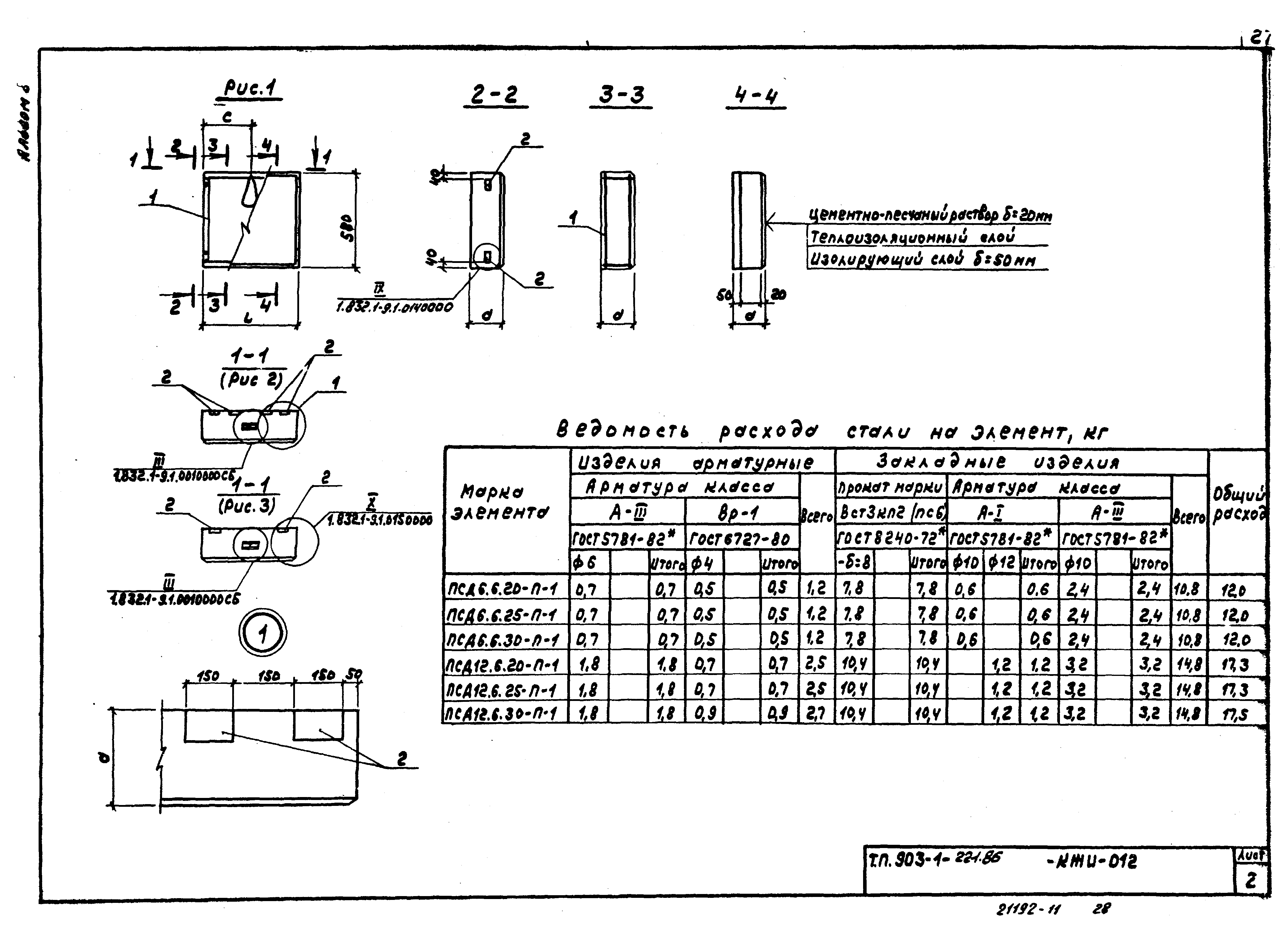
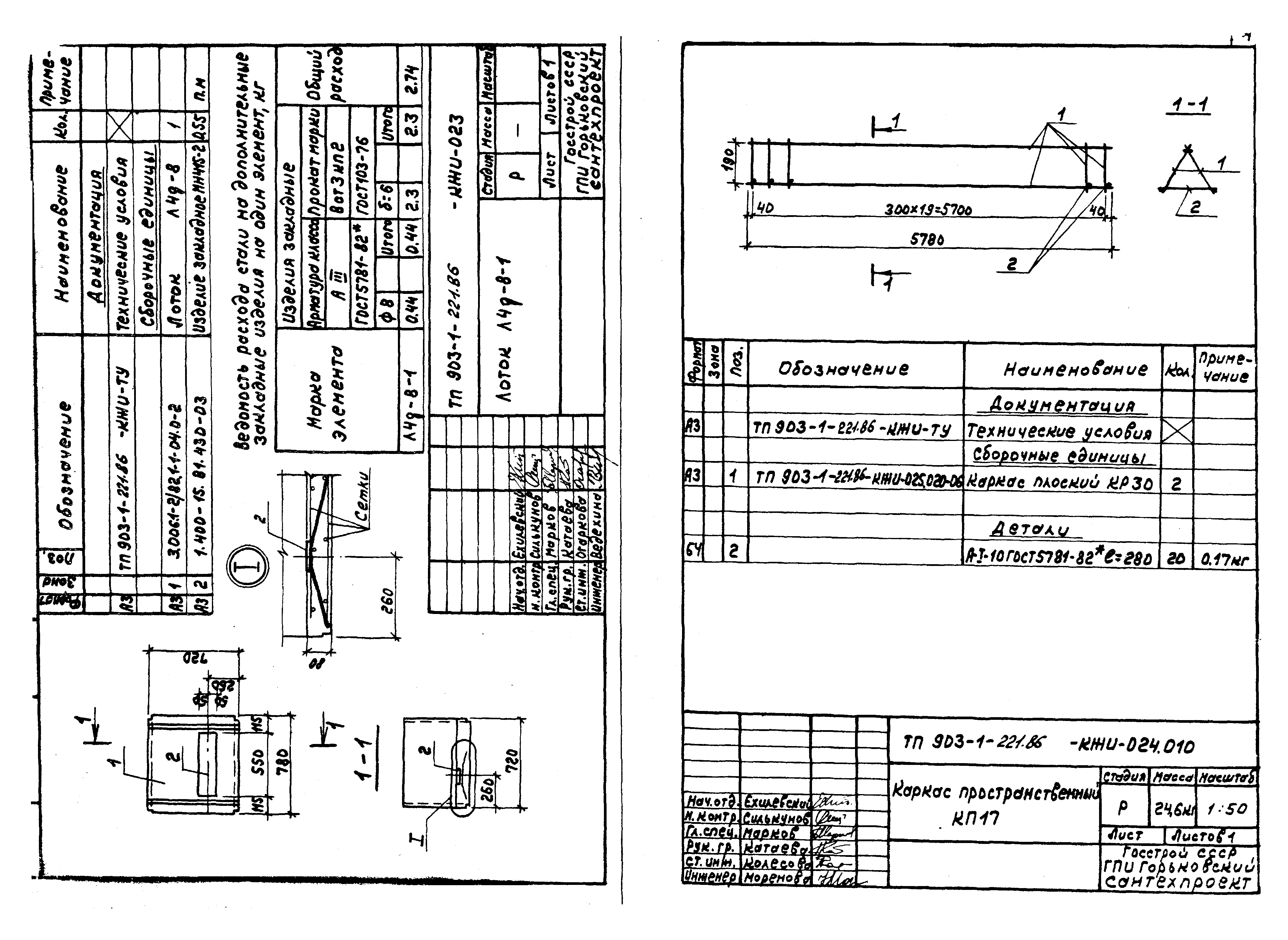
| Оглавление: | ТП 903-1-221.86-КЖИ Содержание альбома ТП 903-1-221.86-КЖИ-ТУ Технические условия ТП 903-1-221.86-КЖИ-001 Колонны крайние ТП 903-1-221.86-КЖИ-002 Колонны средние ТП 903-1-221.86-КЖИ-003 Колонна 1К36.3-22 ТП 903-1-221.86-КЖИ-004 Балка покрытия (1БСП12-48ВрII-а;2БСП12-78ВрII-а) ТП 903-1-221.86-КЖИ-005 Плиты покрытия ТП 903-1-221.86-КЖИ-006 Плиты перекрытия ТП 903-1-221.86-КЖИ-007 Стеновые панели подоконные ТП 903-1-221.86-КЖИ-008 Стеновые панели подкарнизные ТП 903-1-221.86-КЖИ-009 Стеновые панели надоконные и парапетные ТП 903-1-221.86-КЖИ-010 Стеновые панели перемычки высотой 1,2 м ТП 903-1-221.86-КЖИ-010.010 Каркас пространственный (КП5-КП10) ТП 903-1-221.86-КЖИ-010.020 Каркас плоский (КП15-КП20) ТП 903-1-221.86-КЖИ-011 Стеновые панели торцевые угловые ТП 903-1-221.86-КЖИ-012 Стеновые панели простеночные длиной 0.6м;1.2м и высотой 0.6м ТП 903-1-221.86-КЖИ-012.010 Каркас пространственный (КП11-КП16) ТП 903-1-221.86-КЖИ-012.020 Каркас плоский (КР21-КР26,КР38-КР40) ТП 903-1-221.86-КЖИ-013 Стеновые панели простеночные длиной 0.6м;1.2м и высотой 1,2м ТП 903-1-221.86-КЖИ-014 Стеновые панели простеночные длиной 0.9;1.5м;2.1м и высотой 3.0м длиной 3м и высотой 1.2м ТП 903-1-221.86-КЖИ-015 Стеновая панель (1ПСД6.30.20ПП-С-1,1ПСД6.30.25ПП-С-1,1ПСД6.30.30ПП-С-1) ТП 903-1-221.86-КЖИ-016 Стеновые панели парапетные ТП 903-1-221.86-КЖИ-017 Стеновые панели-перемычки высотой 0.9м и длиной 6.0м, высотой 1.2м и длиной 4.3м ТП 903-1-221.86-КЖИ-017.010 Каркас пространственный (КП18-КП23) ТП 903-1-221.86-КЖИ-017.020 Каркас плоский (КР32-КР37) ТП 903-1-221.86-КЖИ-018 Стеновые панели-перемычки угловые ТП 903-1-221.86-КЖИ-018.010 Каркас пространственный (КП24-КП29) ТП 903-1-221.86-КЖИ-019 Стеновые панели простеночных длиной 1.7м и высотой 0.6м ТП 903-1-221.86-КЖИ-020 Панель перегородки длиной 6м ТП 903-1-221.86-КЖИ-021 Панель перегородки (ПГ10,ПГ11,ПГ12,ПГ13) ТП 903-1-221.86-КЖИ-021.030 Сетка арматурная (С6-С9) ТП 903-1-221.86-КЖИ-022 Стеновая панель АСД-4/1.8х2.2 ТП 903-1-221.86-КЖИ-022.060 Каркас АК-4/1.8х2.2 ТП 903-1-221.86-КЖИ-023 Лоток Л4д-8-1 ТП 903-1-221.86-КЖИ-024.010 Каркас пространственный КП17 ТП 903-1-221.86-КЖИ-025.020 Каркас плоский (КР6-КР8;КР10;КР13;КР14;КР30) ТП 903-1-221.86-КЖИ-026.020 Каркас плоский (КР9;КР11;КР12;КР15) ТП 903-1-221.86-КЖИ-027.020 Каркас плоский (КР27-КР29;КР31) ТП 903-1-221.86-КЖИ-028.030 Сетка арматурная (С1-С5) ТП 903-1-221.86-КЖИ-029.040 Изделие закладное (МН1-МН4) ТП 903-1-221.86-КЖИ-030.040 Изделие закладное (МН5-МН7) ТП 903-1-221.86-КЖИ-031.040 Изделие закладное (МН8-МН10) ТП 903-1-221.86-КЖИ-036.040 Изделие закладное (МН21-МН23) ТП 903-1-221.86-КЖИ-032.040 Изделие закладное (МН11-МН12) ТП 903-1-221.86-КЖИ-033.040 Изделие закладное (МН13-МН15) ТП 903-1-221.86-КЖИ-034.040 Изделие закладное (МН16;МН17;МН18) ТП 903-1-221.86-КЖИ-035.040 Изделие закладное (МН19-МН20) ТП 903-1-221.86-КЖИ-037.050 Изделие соединительное (МС21-МС25) ТП 903-1-221.86-КЖИ-038.050 Изделие соединительное (МС27;МС28;МС30-МС32;МС34;МС35) ТП 903-1-221.86-КЖИ-039.050 Изделие соединительное (МС26;МС28;МС33) ТП 903-1-221.86-КЖИ-040 Рама металлическая (РМ1;РМ3) ТП 903-1-221.86-КЖИ-041 Рама металлическая (РМ4;РМ5) ТП 903-1-221.86-КЖИ-042 Решетка (Р1;Р2) ТП 903-1-221.86-КЖИ-043 Щит покрытия ЩП1 ТП 903-1-221.86-КЖИ-043.010 Рама металлическая РМ6 ТП 903-1-221.86-КЖИ-044 Щиты и решетки деревянные ТП 903-1-221.86-КЖИ-045 Опорный столик СМ1 ТП 903-1-221.86-КЖИ-046 Стойка СМ2 |
| Разработан: | Горьковский Сантехпроект |
| Утверждён: | 26.11.1985 Минсельхоз СССР (USSR Minselkhoz 93-ЭГ) |





































































