Скачать Серия 4.900-8 Выпуск IV. Внутреннее санитарно-техническое оборудованиеДата актуализации: 01.01.2021
|
| Обозначение: | Серия 4.900-8 |
| Обозначение англ: | Series 4.900-8 |
| Статус: | не действует |
| Название рус.: | Выпуск IV. Внутреннее санитарно-техническое оборудование |
| Дата добавления в базу: | 01.09.2013 |
| Дата актуализации: | 01.01.2021 |
| Дата введения: | 30.10.1977 |
| Дата окончания срока действия: | 01.07.1988 |
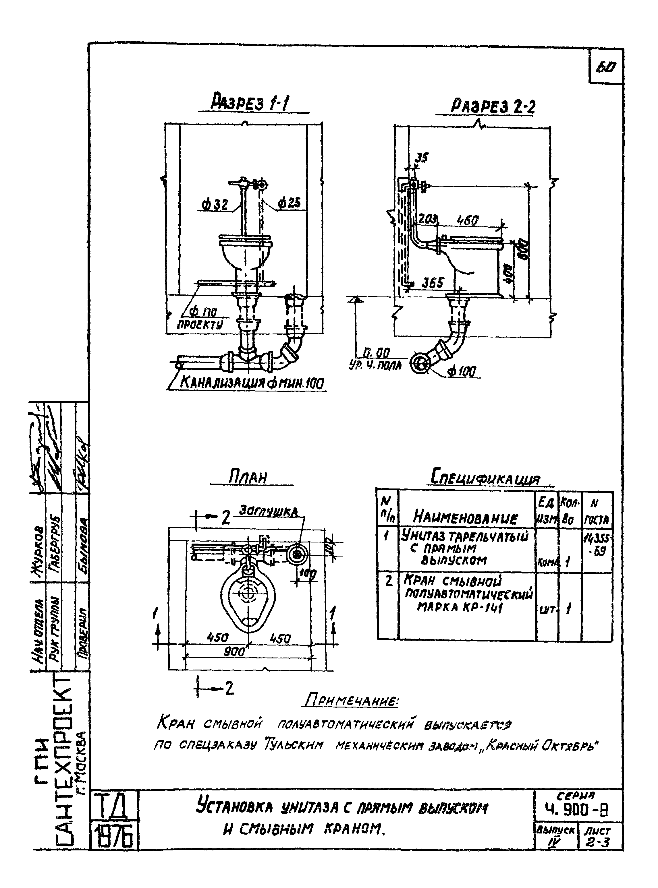
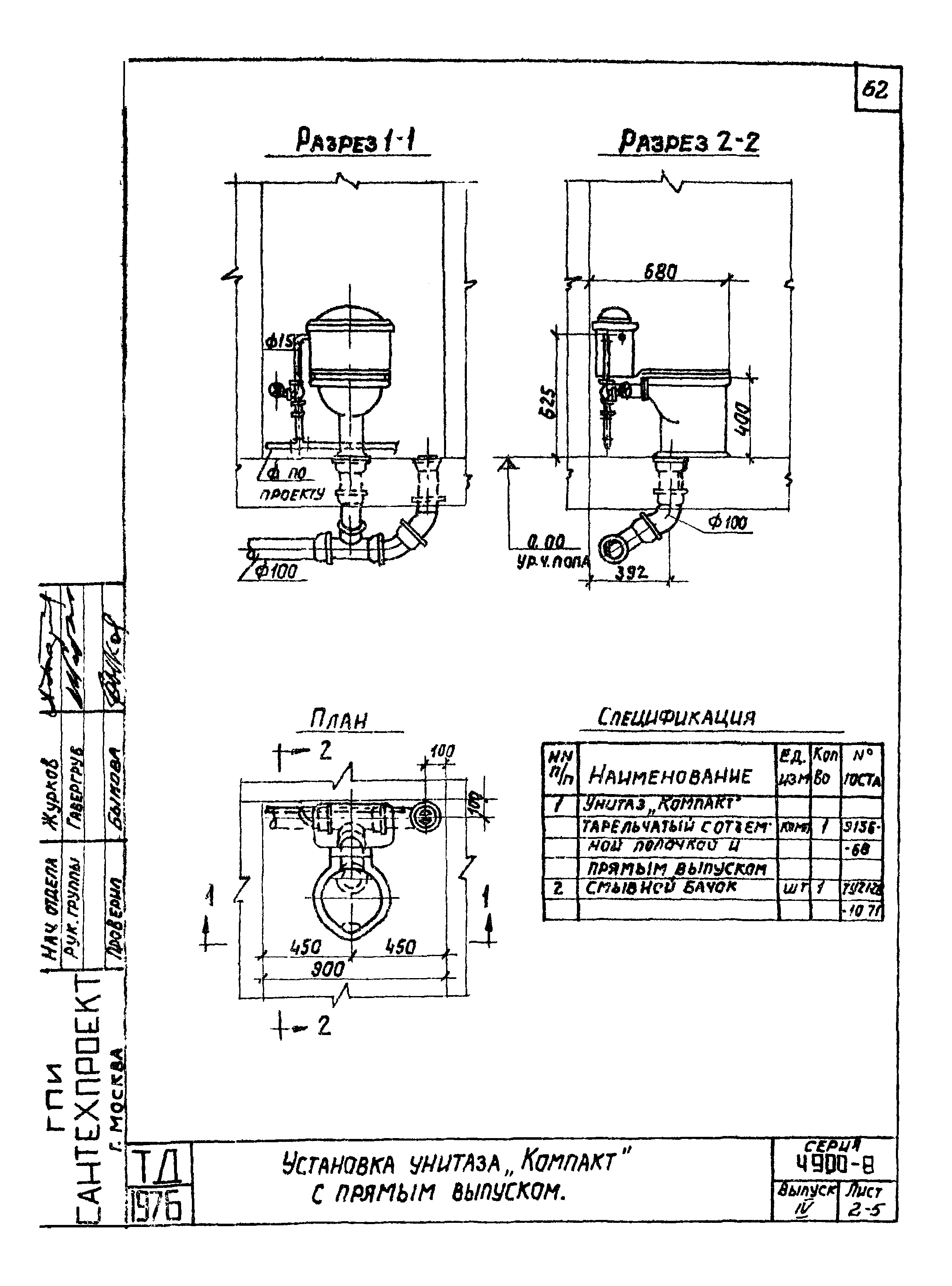
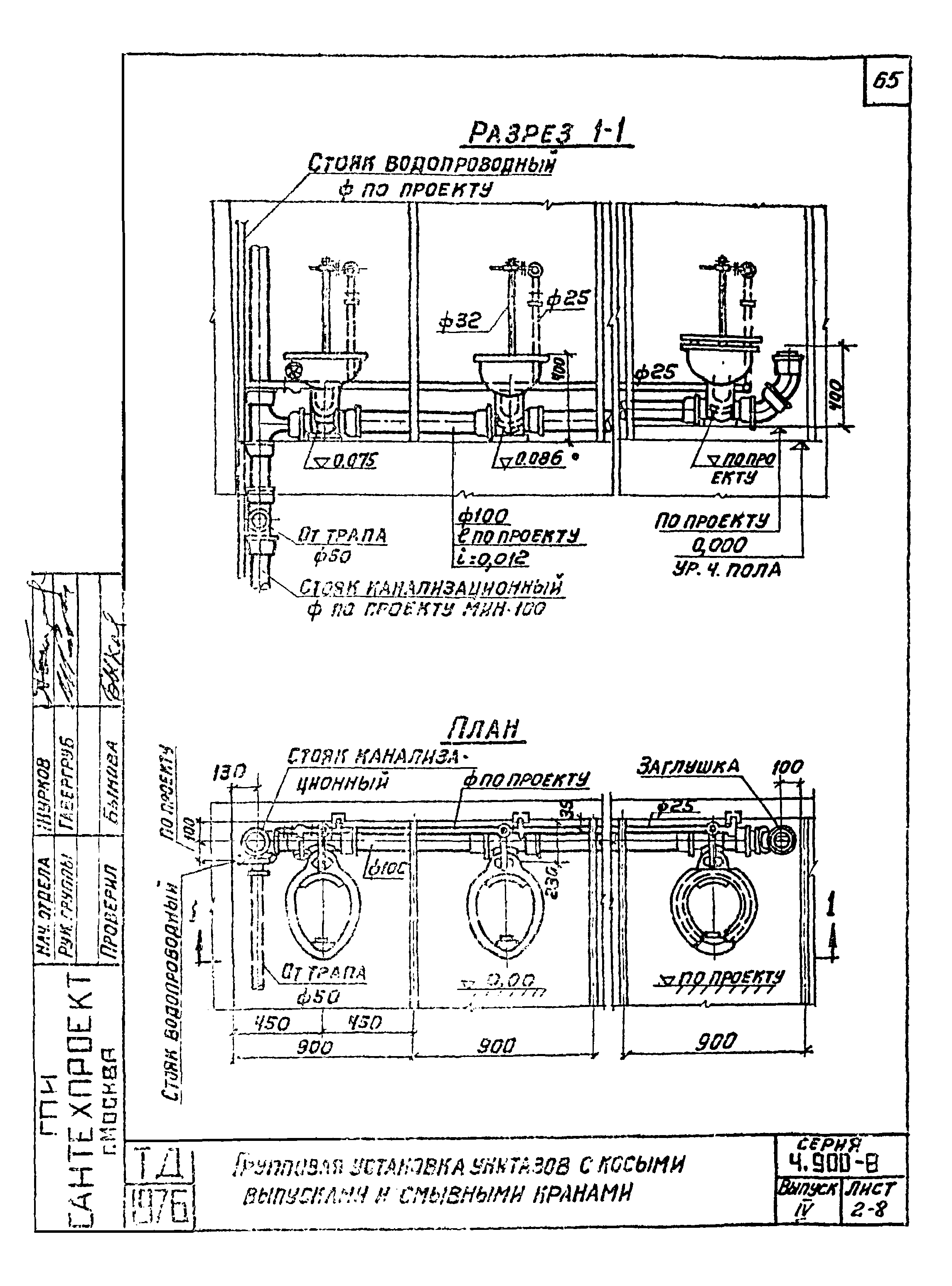
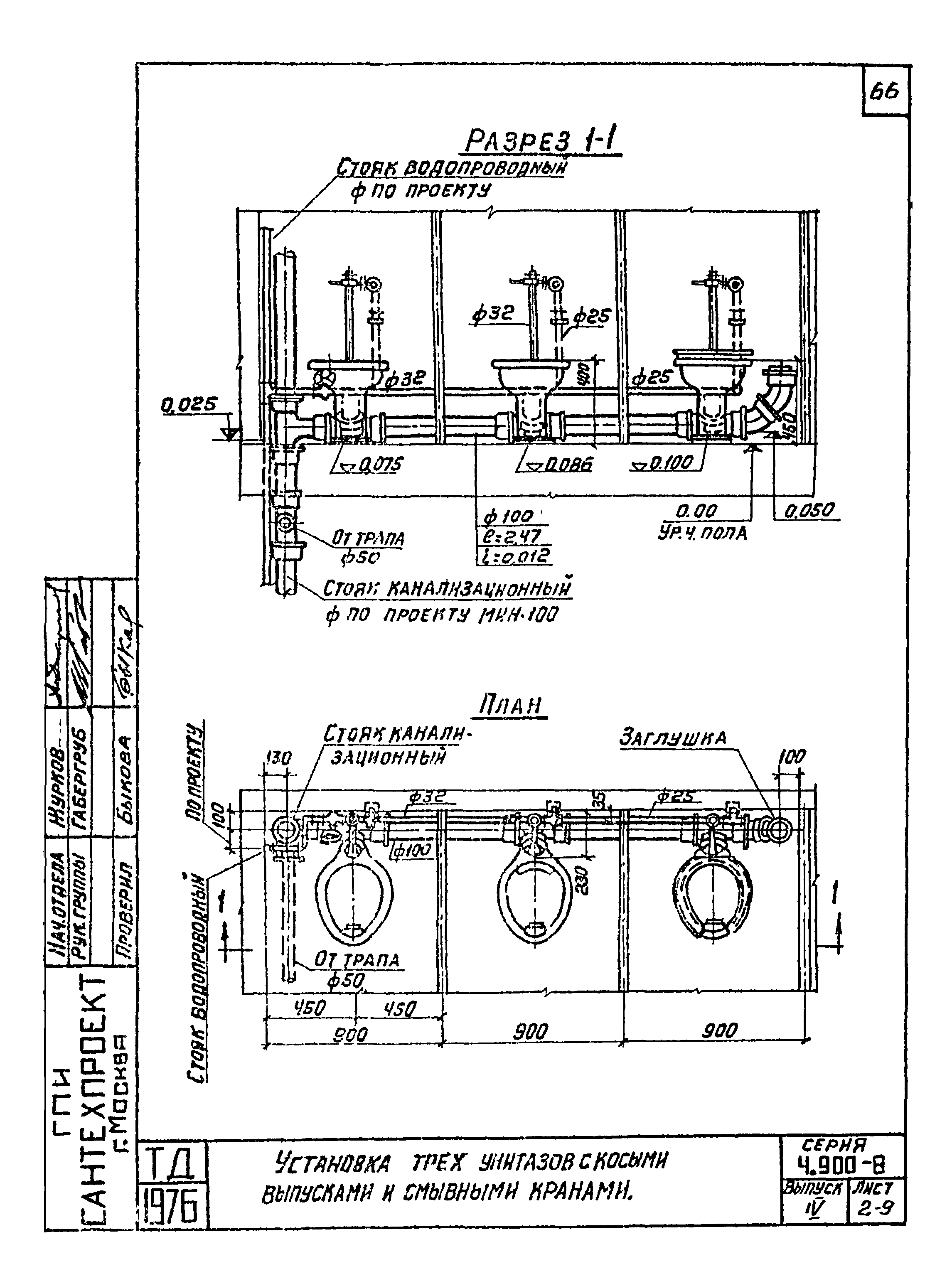
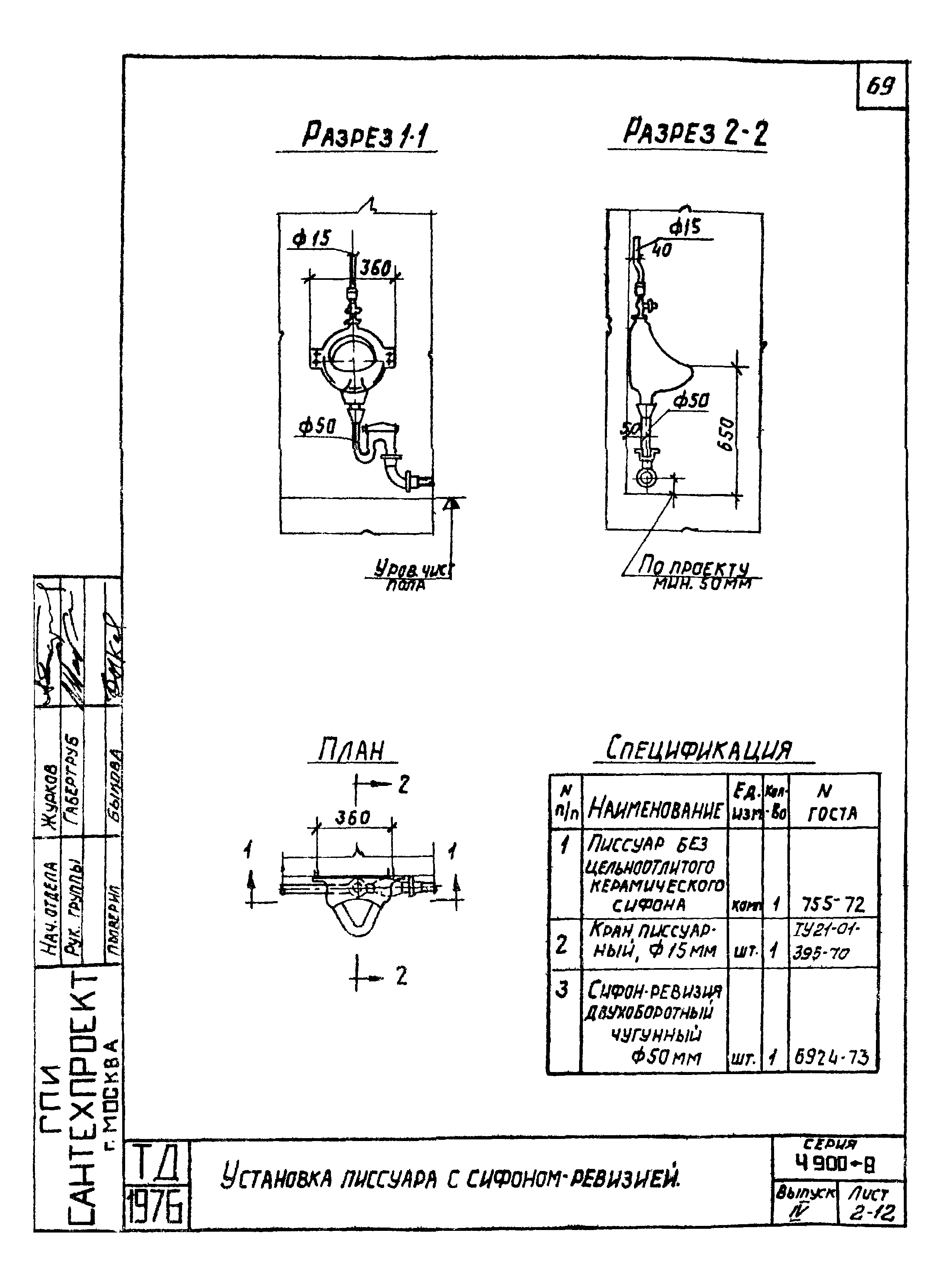
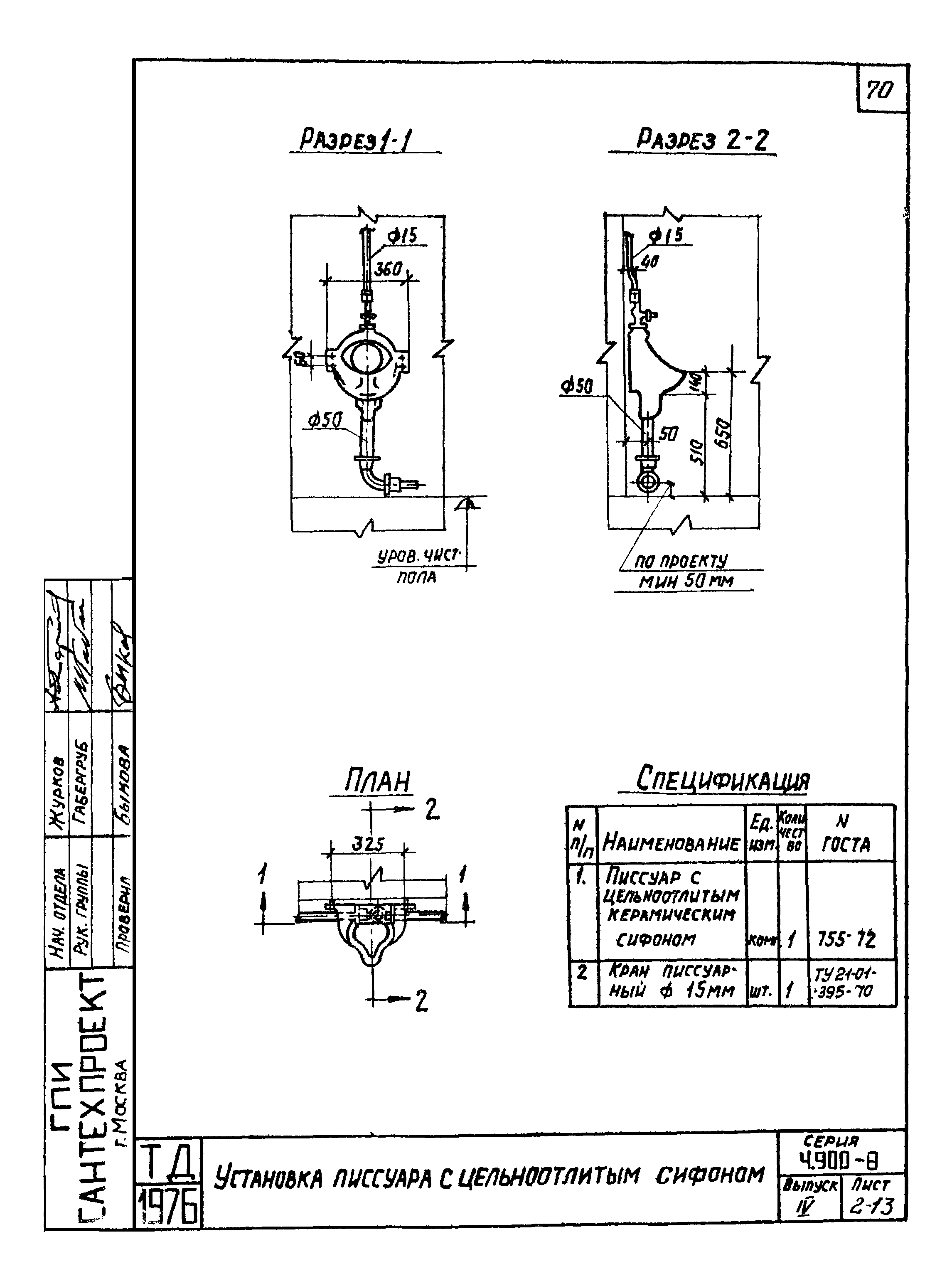
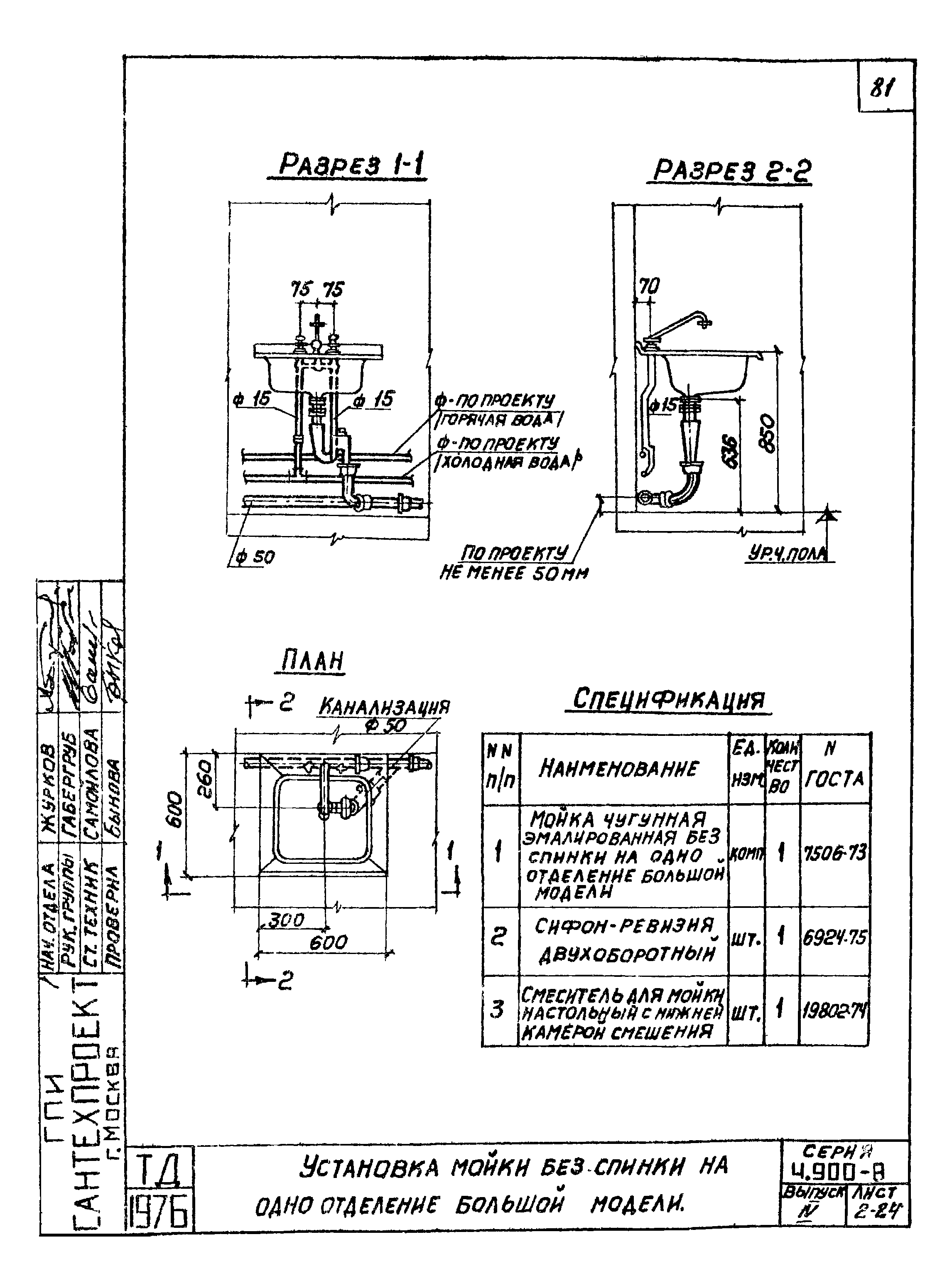
| Оглавление: | 4.900-8 Раздел 1. Санитарные приборы 4.900-8 Унитазы керамические тарельчатые по ГОСТ 14355-69 4.900-8 Заводы-изготовители унитазов керамических тарельчатых по ГОСТ 14355-69 4.900-8 Унитазы керамические козырьковые по ГОСТ 14355-69 4.900-8 Заводы-изготовители унитазов керамических козырьковых по ГОСТ 14355-69 4.900-8 Унитазы "Компакт" керамические тарельчатые по ГОСТ 9156-68 4.900-8 Унитазы "Компакт" керамические козырьковые по ГОСТ 9156-68 4.900-8 Чаша чугунная эмалированная для общественных уборных и сифоны к ней по ГОСТ 3550-73 4.900-8 Чаша чугунная эмалированная крупногабаритная ЧН-66 по ТУ21-26.1-102-75 4.900-8 Писсуары настенные по ГОСТ 755-72 4.900-8 Заводы-изготовители писсуаров настенных по ГОСТ 755-72 4.900-8 Писсуары настенные удлиненные по ГОСТ 755-72 4.900-8 Умывальники керамические по ГОСТ 14360-69 4.900-8 Умывальник керамический полукруглый "Утро" по ГОСТ 13560-68 4.900-8 Умывальник хирургический по ТУ21-РСФСР-328-75 4.900-8 Мойки стальные эмалированные по ГОСТ 14631-69 4.900-8 Мойки чугунные эмалированные по ГОСТ 7506-73 4.900-8 Раковины стальные эмалированные по ГОСТ 8631-75 4.900-8 Сифоны пластмассовые бутылочные с выпусками для умывальников и моек по ГОСТ 11807-66* 4.900-8 Сифоны-ревизии чугунные по ГОСТ 6924-73 4.900-8 Кронштейны чугунные для умывальников и моек по ГОСТ 1153-58* 4.900-8 Раковины лабораторные полуфарфоровые и фарфоровые по ГОСТ 10486-75 4.900-8 Раковина лабораторная фарфоровая по ТУ-21-РСФСР-119-74 4.900-8 Ванны чугунные эмалированные по ГОСТ 1154-73 4.900-8 Поддон душевой мелкий чугунный эмалированный по ГОСТ 10161-73 4.900-8 Выпуск, перелив и сифон для ванн и душевых поддонов по ГОСТ 1152-65* 4.900-8 Ванна ножная с плоским дном по ТУ 21-01-88-67 4.900-8 Бидэ по ТУ 21-28-1-70 4.900-8 Трапы чугунные эмалированные по ГОСТ 1811-73 4.900-8 Трап пластмассовый Ду=100 по ТУ 21-26-1-72-74 4.900-8 Чаша питьевого фонтанчика настенного по ТУ-21-01-РСФСР-120-74 4.900-8 Чаша питьевого фонтанчика напольного по ТУ-21-01-РСФСР-120-74 4.900-8 Раздел 2. Установка санитарных приборов 4.900-8 Установка унитаза с прямым выпуском и высокорасполагаемым смывным бачком 4.900-8 Установка унитаза с косым выпуском и высокорасполагаемым смывным бачком 4.900-8 Установка унитаза с прямым выпуском и смывным краном 4.900-8 Установка унитаза с косым выпуском и смывным краном 4.900-8 Установка унитаза "Компакт" с прямым выпуском 4.900-8 Установка унитаза "Компакт" с косым выпуском 4.900-8 Групповая установка унитазов с прямыми выпусками и высокорасполагаемыми смывными бачками 4.900-8 Групповая установка унитазов с косыми выпусками и смывными кранами 4.900-8 Установка трех унитазов с косыми выпусками и смывными кранами 4.900-8 Установка чаши чугунной клозетной с высокорасполагаемым смывным бачком 4.900-8 Установка чаши чугунной эмалированной напольной крупногабаритной 4.900-8 Установка писсуара с сифоном-ревизией 4.900-8 Установка писсуара с цельноотлитым сифоном 4.900-8 Установка трех писсуаров с цельноотлитыми сифонами 4.900-8 Установка умывальника с сифоном-ревизией и туалетным краном 4.900-8 Установка умывальника с бутылочным сифоном и смесителем 4.900-8 Установка шести умывальников с бутылочными сифонами и смесителями 4.900-8 Установка шести умывальников с туалетными кранами и одним двухоборотным сифоном 4.900-8 Установка четырех умывальников с групповым смесителем и педальными пусками воды 4.900-8 Установка умывальника круглого с индивидуальными изливами 4.900-8 Установка хирургического умывальника с локтевым смесителем 4.900-8 Установка раковины стальной эмалированной с одним водоразборным краном 4.900-8 Установка раковины стальной эмалированной с двумя водоразборными кранами 4.900-8 Установка мойки без спинки на одно отделение большей модели 4.900-8 Установка душевой кабины с мелким поддоном 4.900-8 Групповая установка душевых кабин с групповым смесителем 4.900-8 Групповая установка душевых кабин с мелкими поддонами 4.900-8 Установка ванны чугунной эмалированной ПВ-0 4.900-8 Установка ванны ножной с плоским дном 4.900-8 Установка бидэ 4.900-8 Установка фонтанчика питьевого настенного с ручным управлением 4.900-8 Установка фонтанчика питьевого настенного с педальным управлением 4.900-8 Монтажная схема установки трапов по ГОСТ 1811-73 |
| Разработан: | Союзводоканалниипроект |
| Утверждён: | 05.10.1977 СоюзводоканалНИИпроект (SoyuzvodokanalNIIproject 262) |
| Чем заменён: |


























































































