Скачать Типовой проект 902-2-363.83 Альбом VIII. Нестандартизированное оборудование. Токоприемник кольцевой (из ТП 902-2-346)Дата актуализации: 01.01.2021
|
| Обозначение: | Типовой проект 902-2-363.83 |
| Обозначение англ: | 902-2-363.83 |
| Статус: | не действует |
| Название рус.: | Альбом VIII. Нестандартизированное оборудование. Токоприемник кольцевой (из ТП 902-2-346) |
| Дата добавления в базу: | 01.09.2013 |
| Дата актуализации: | 01.01.2021 |
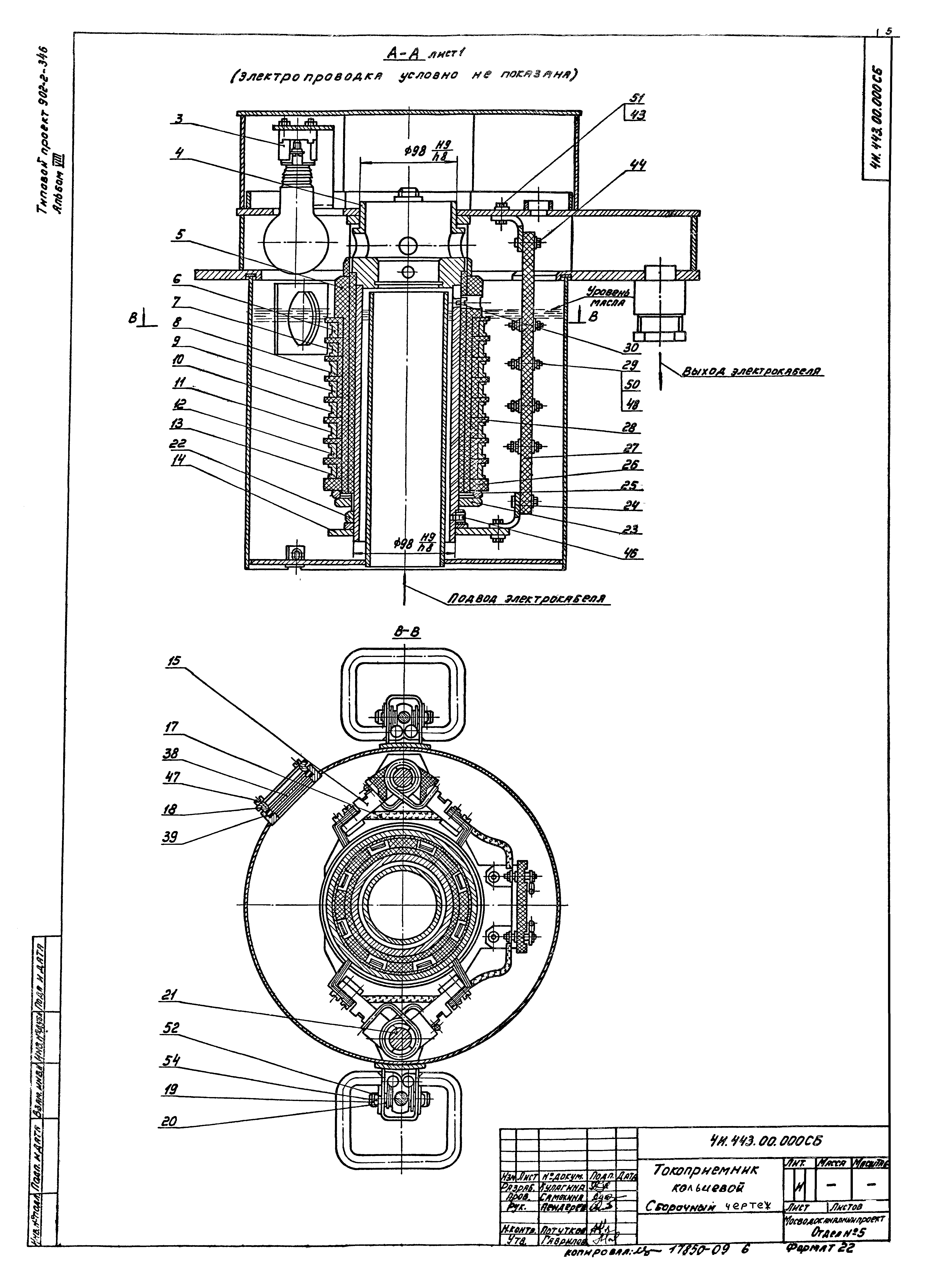
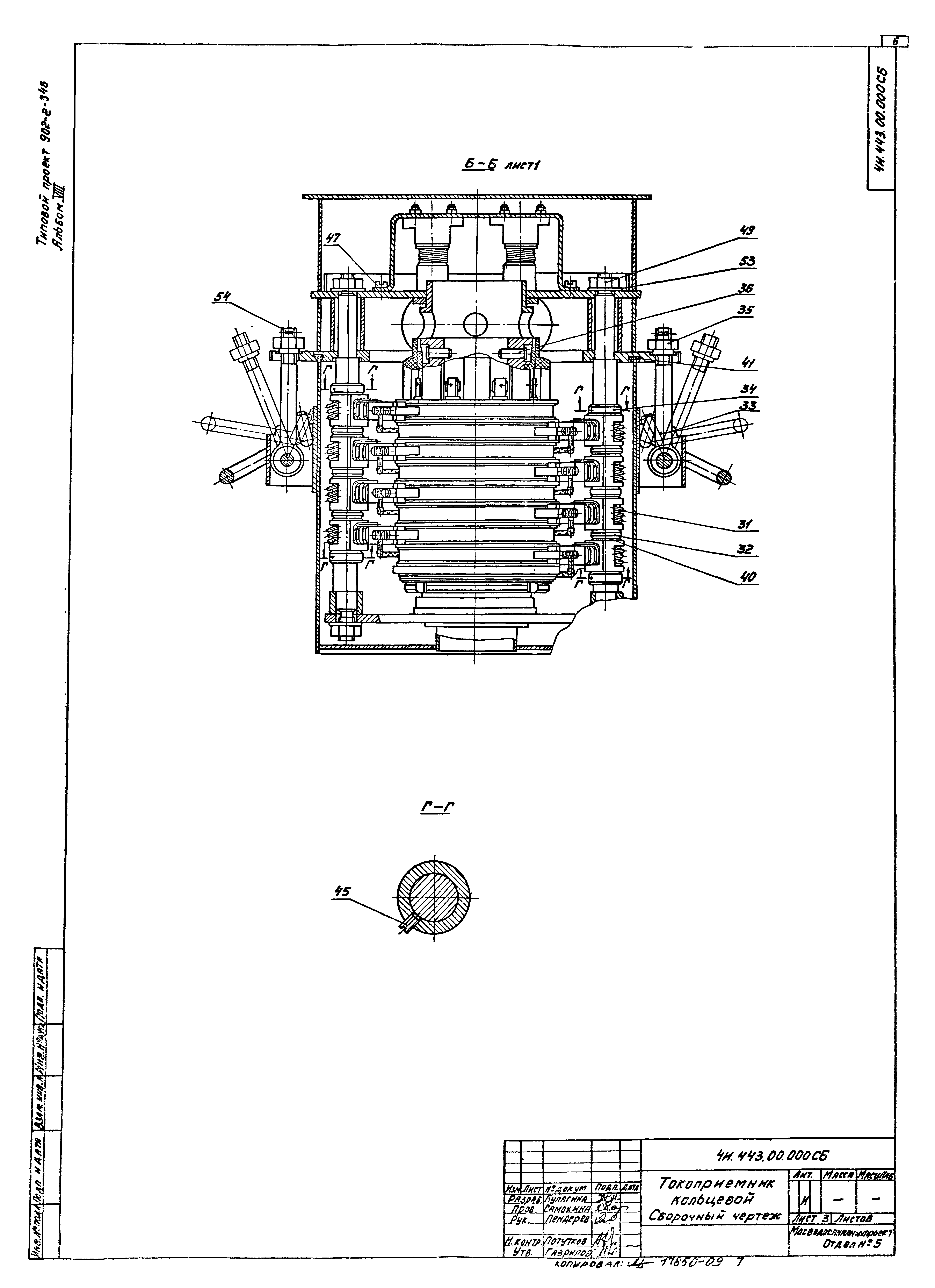
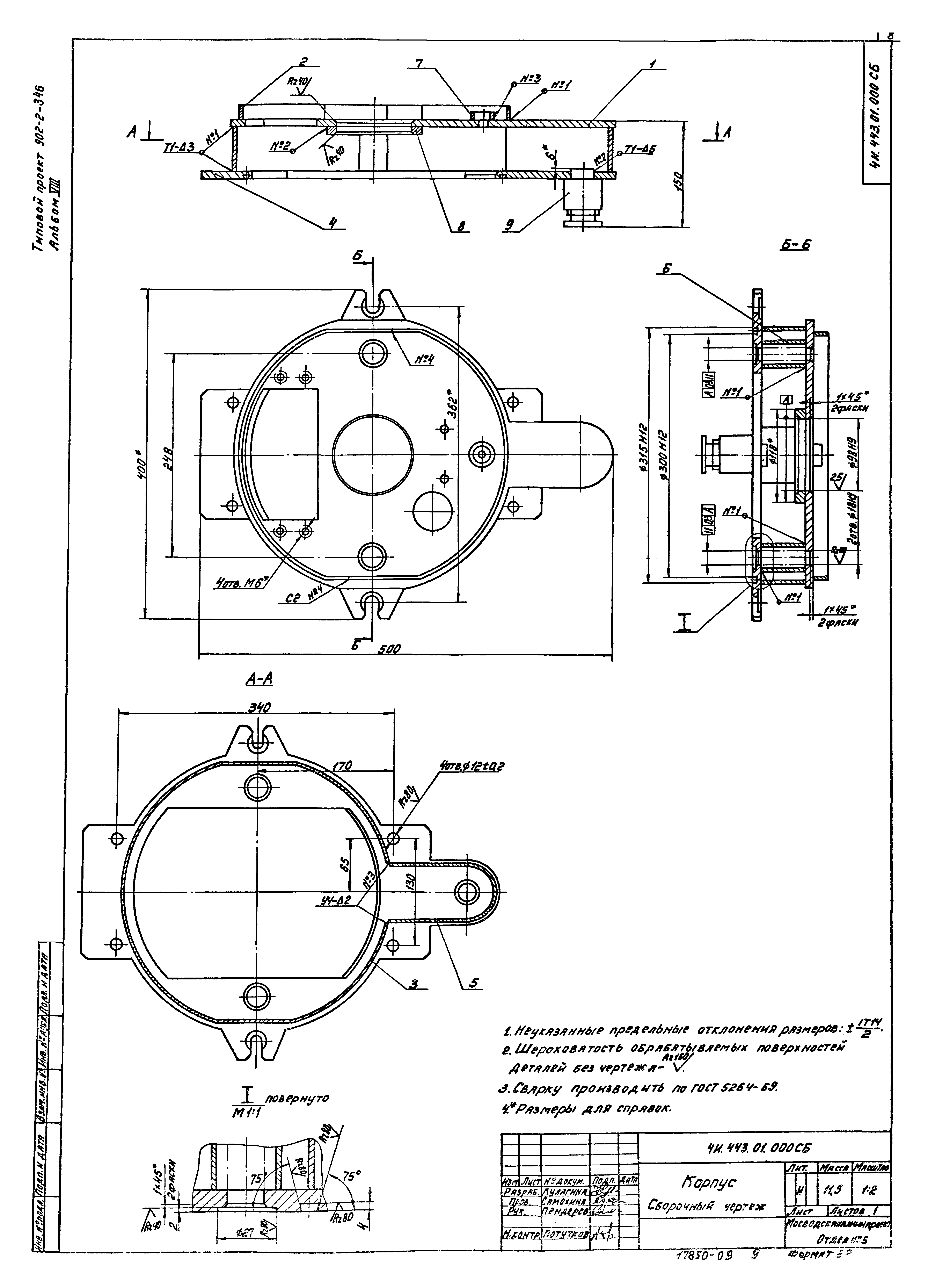
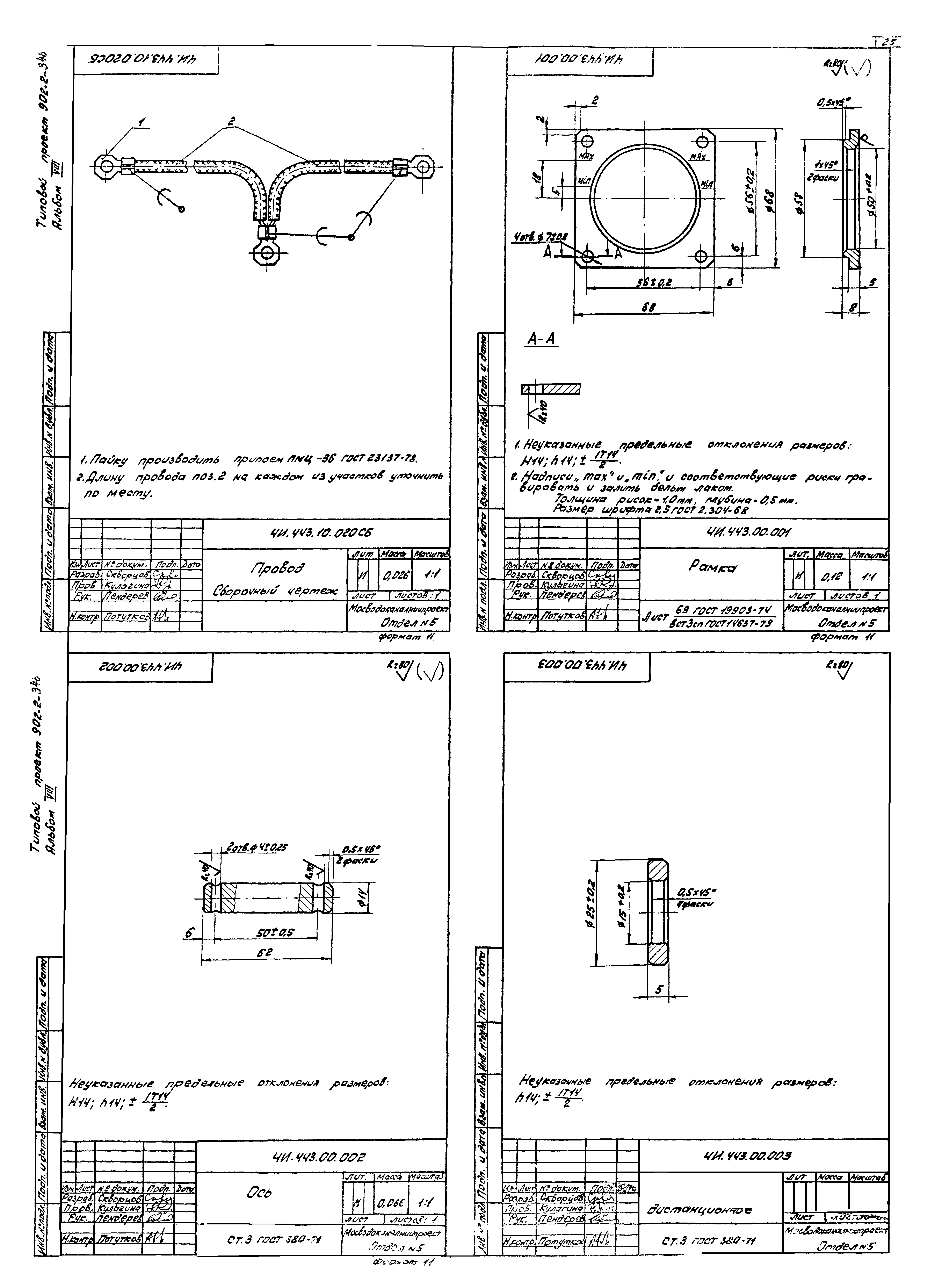
| Оглавление: | ТП 902-2-346 Титульный лист ТП 902-2-346 Содержание альбома ТП 902-2-346 4И.443.00.000 ТУ Токоприемник кольцевой. Технические условия ТП 902-2-346 4И.443.00.000 СБ Токоприемник кольцевой. Лист 1 ТП 902-2-346 4И.443.00.000 СБ Токоприемник кольцевой. Лист 2 ТП 902-2-346 4И.443.00.000 СБ Токоприемник кольцевой. Лист 3 ТП 902-2-346 4И.443.00.000 Токоприемник кольцевой. Спецификация. Лист 1-4 ТП 902-2-346 4И.443.01.000 СБ Корпус ТП 902-2-346 4И.443.01.000 Корпус. Спецификация. Лист 1-2 ТП 902-2-346 4И.443.01.001 Фланец верхний ТП 902-2-346 4И.443.01.002 Борт ТП 902-2-346 4И.443.01.003 Стенка ТП 902-2-346 4И.443.01.004 Фланец нижний ТП 902-2-346 4И.443.01.005 Стенка ТП 902-2-346 4И.443.02.000 Бак. Спецификация ТП 902-2-346 4И.443.02.001 Днище ТП 902-2-346 4И.443.02.002 Скоба ТП 902-2-346 4И.443.02.000 СБ Бак ТП 902-2-346 4И.443.02.003 Обечайка наружная ТП 902-2-346 4И.443.02.004 Ручка ТП 902-2-346 4И.443.02.005 Бобышка ТП 902-2-346 4И.443.02.006 Бобышка ТП 902-2-346 4И.443.03.000 Кронштейн с лампами. Спецификация. Лист 1-2 ТП 902-2-346 4И.443.04.000 Втулка направляющая. Спецификация ТП 902-2-346 4И.443.03.000 СБ Кронштейн с лампами ТП 902-2-346 4И.443.03.001 Кронштейн ТП 902-2-346 4И.443.04.000 СБ Втулка направляющая ТП 902-2-346 4И.443.04.001 Головка ТП 902-2-346 4И.443.04.002 Труба ТП 902-2-346 4И.443.05.000 Втулка изолирующая. Спецификация ТП 902-2-346 4И.443.05.001 Кольцо ТП 902-2-346 4И.443.05.000 СБ Втулка изолирующая ТП 902-2-346 4И.443.06.000 СБ Кольцо токосъемное ТП 902-2-346 4И.443.06.001 Кольцо ТП 902-2-346 4И.443.06.003 Пластина ТП 902-2-346 4И.443.05.002 Полоса ТП 902-2-346 4И.443.06.000 Кольцо токосъемное. Спецификация. Лист 1-3 ТП 902-2-346 4И.443.07.000 СБ Траверса ТП 902-2-346 4И.443.07.000 Траверса. Спецификация ТП 902-2-346 4И.443.07.001 Пластина ТП 902-2-346 4И.443.08.000 Щетка. Спецификация ТП 902-2-346 4И.443.08.000 СБ Щетка ТП 902-2-346 4И.443.08.001 Щеткодержатель ТП 902-2-346 4И.443.08.002 Пластина ТП 902-2-346 4И.443.08.010 Щетка. Спецификация ТП 902-2-346 4И.443.08.010 СБ Щетка ТП 902-2-346 4И.443.09.000 Колпак. Спецификация ТП 902-2-346 4И.443.09.000 СБ Колпак ТП 902-2-346 4И.443.09.001 Стенка ТП 902-2-346 4И.443.10.000 Электропроводка. Спецификация ТП 902-2-346 4И.443.10.000 СБ Электропроводка ТП 902-2-346 4И.443.10.010 Провод. Спецификация ТП 902-2-346 4И.443.10.010 СБ Провод ТП 902-2-346 4И.443.10.011 Наконечник ТП 902-2-346 4И.443.10.020 Провод. Спецификация ТП 902-2-346 4И.443.10.020 СБ Провод ТП 902-2-346 4И.443.00.001 Рамка ТП 902-2-346 4И.443.00.002 Ось ТП 902-2-346 4И.443.00.003 Кольцо дистанционное ТП 902-2-346 4И.443.00.004 Валик ТП 902-2-346 4И.443.00.005 Кольцо ТП 902-2-346 4И.443.00.006 Гайка ТП 902-2-346 4И.443.00.007 Кронштейн ТП 902-2-346 4И.443.00.008 Шайба ТП 902-2-346 4И.443.00.009 Кольцо ТП 902-2-346 4И.443.00.011 Панель ТП 902-2-346 4И.443.00.012 Кольцо изолирующее ТП 902-2-346 4И.443.00.013 Винт контактный ТП 902-2-346 4И.443.00.014 Винт ТП 902-2-346 4И.443.00.015 Пружина ТП 902-2-346 4И.443.00.016 Кольцо ТП 902-2-346 4И.443.00.017 Болт откидной ТП 902-2-346 4И.443.00.018 Кольцо установочное ТП 902-2-346 4И.443.00.019 Гайка ТП 902-2-346 4И.443.00.021 Палец ТП 902-2-346 4И.443.00.022 Пробка |
| Разработан: | МосводоканалНИИпроект |
| Утверждён: | 17.11.1982 МосводоканалНИИпроект (192) |






























