Скачать Типовой проект 902-2-365.83 Альбом VI. Часть 1. Нестандартизированное оборудование. Илоскреб (из ТП 902-2-363.83)Дата актуализации: 01.01.2021
|
| Обозначение: | Типовой проект 902-2-365.83 |
| Обозначение англ: | 902-2-365.83 |
| Статус: | не действует |
| Название рус.: | Альбом VI. Часть 1. Нестандартизированное оборудование. Илоскреб (из ТП 902-2-363.83) |
| Дата добавления в базу: | 01.09.2013 |
| Дата актуализации: | 01.01.2021 |
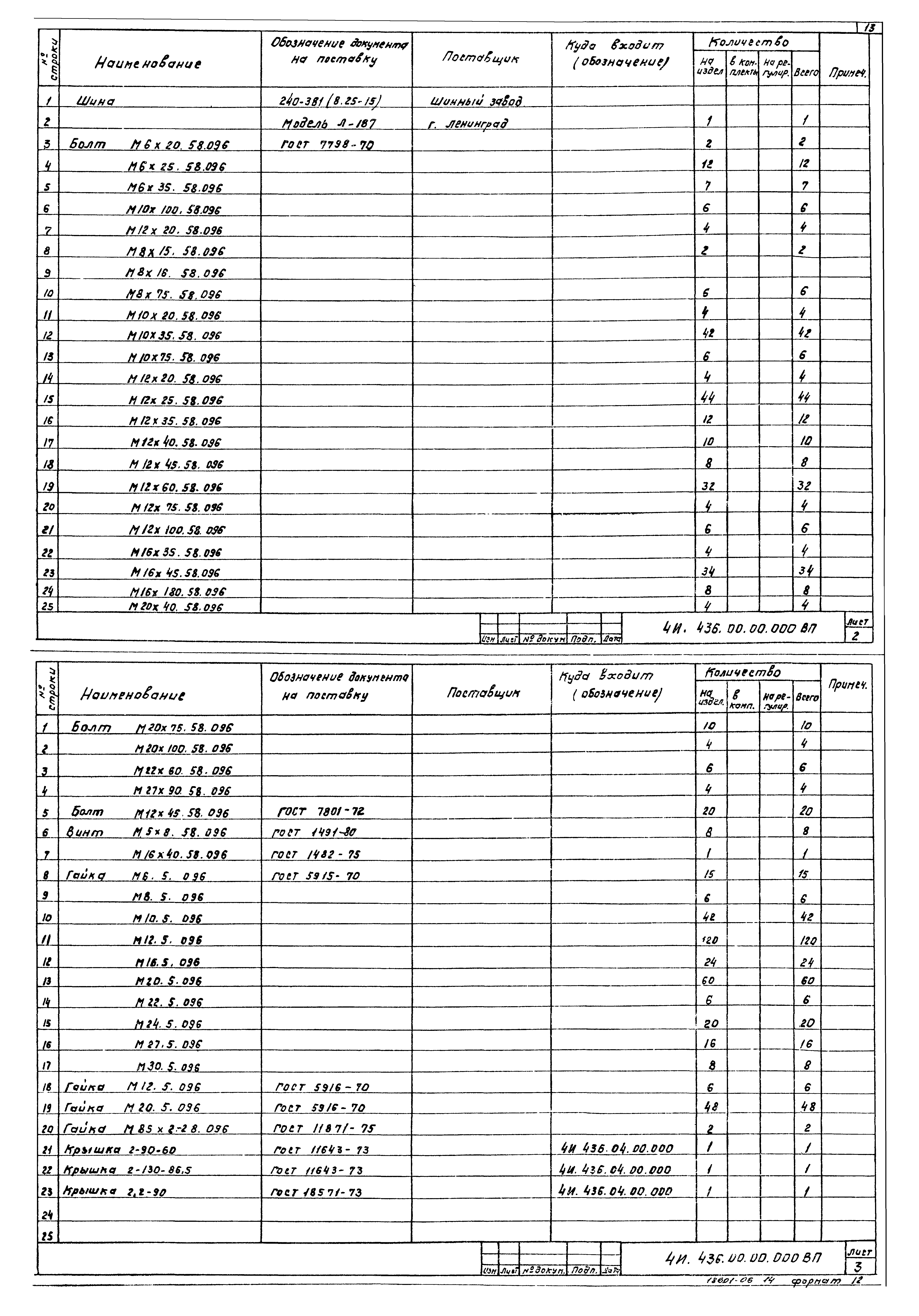
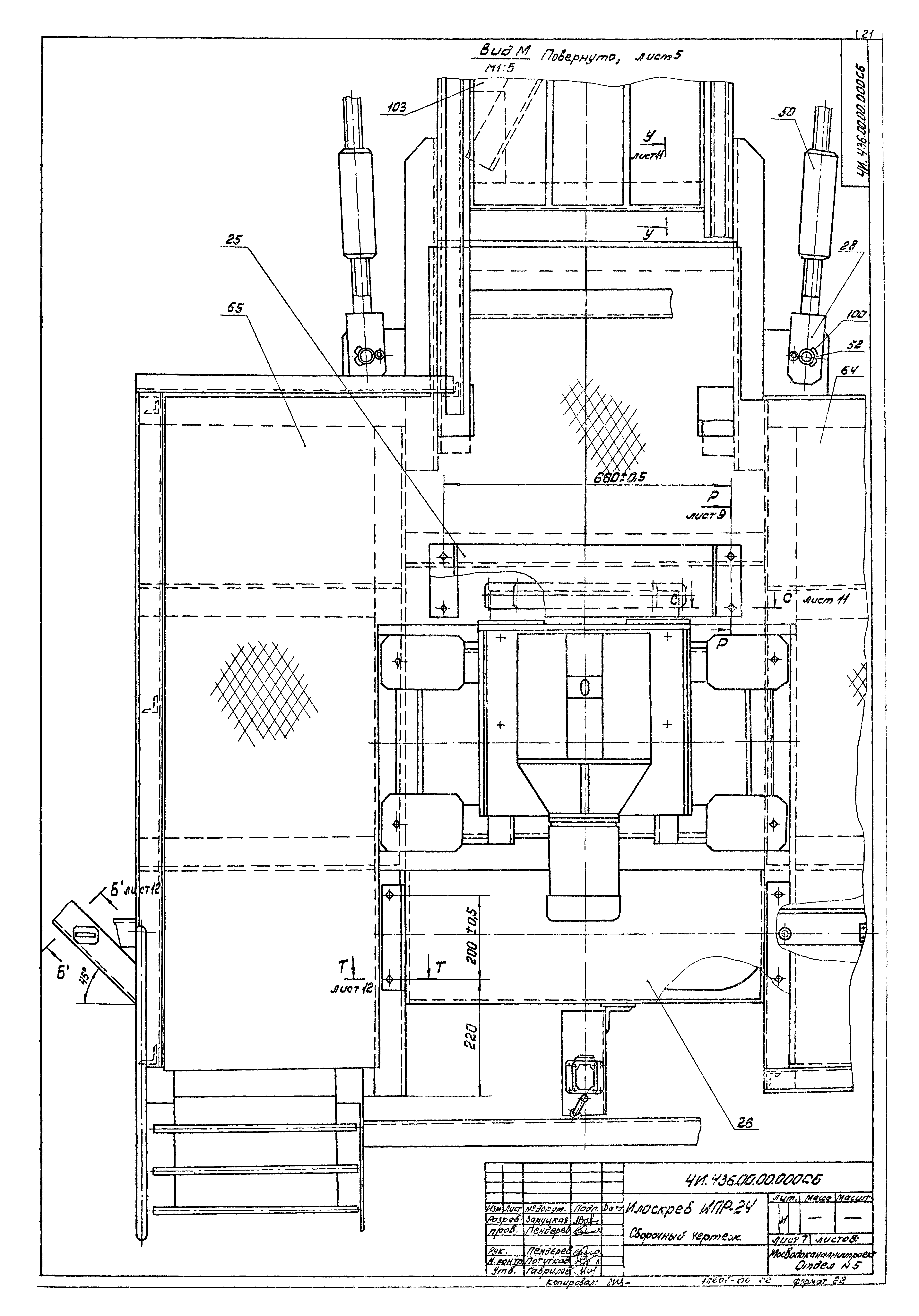
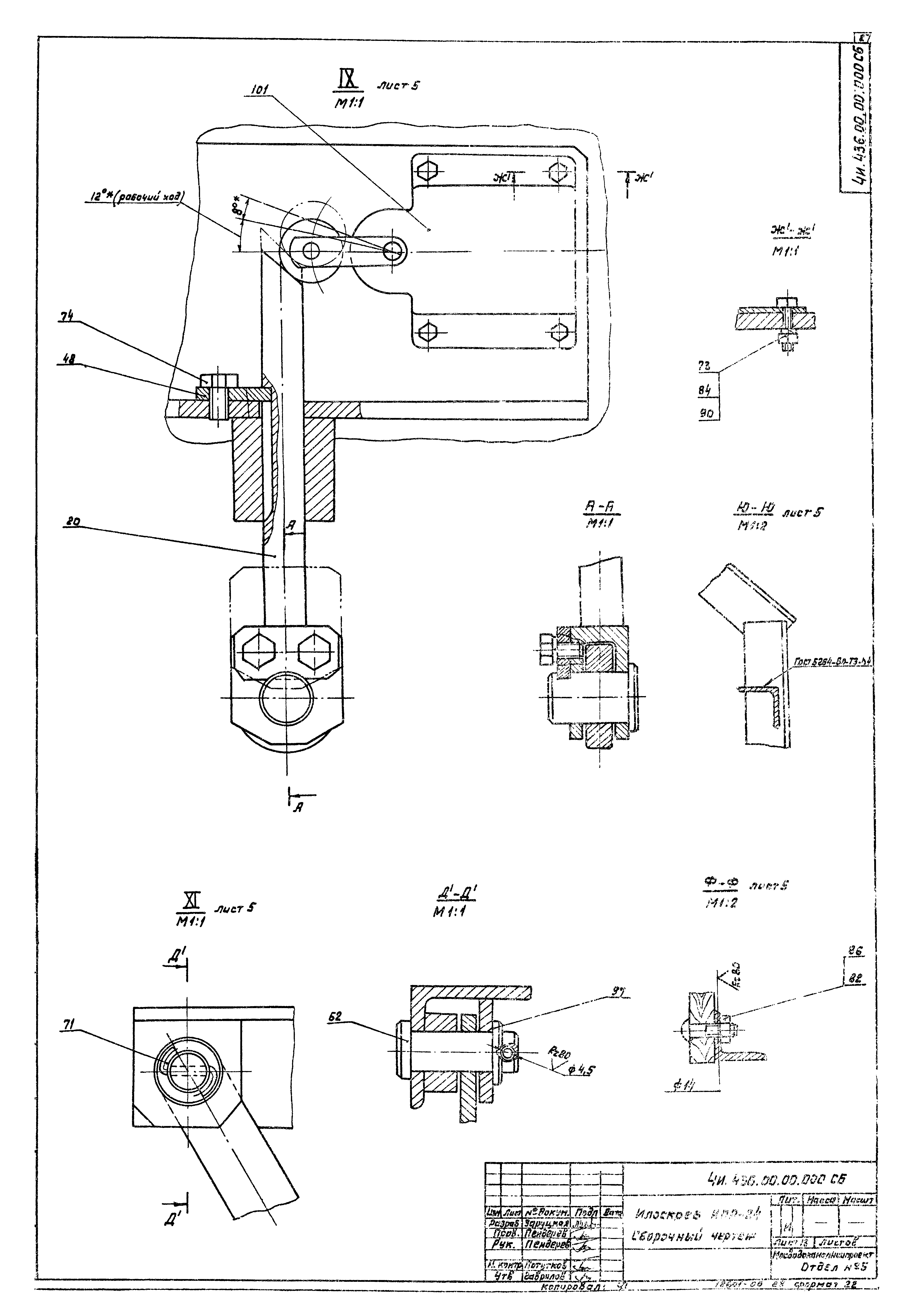
| Оглавление: | Часть 1 ТП 902-2-363.83 Титульный лист ТП 902-2-363.83 Содержание альбома ТП 902-2-363.83 4И.436.00.00.000 ТУ Илоскреб ИПР-24. Технические условия ТП 902-2-363.83 4И.436.00.00.000 ВП Илоскреб ИПР-24. Ведомость покупных изделий ТП 902-2-363.83 4И.436.00.00.000 СБ Илоскреб ИПР-24. Лист 1 ТП 902-2-363.83 4И.436.00.00.000 СБ Илоскреб ИПР-24. Лист 2 ТП 902-2-363.83 4И.436.00.00.000 СБ Илоскреб ИПР-24. Лист 3 ТП 902-2-363.83 4И.436.00.00.000 СБ Илоскреб ИПР-24. Лист 4 ТП 902-2-363.83 4И.436.00.00.000 СБ Илоскреб ИПР-24. Лист 5 ТП 902-2-363.83 4И.436.00.00.000 СБ Илоскреб ИПР-24. Лист 6 ТП 902-2-363.83 4И.436.00.00.000 СБ Илоскреб ИПР-24. Лист 7 ТП 902-2-363.83 4И.436.00.00.000 СБ Илоскреб ИПР-24. Лист 8 ТП 902-2-363.83 4И.436.00.00.000 СБ Илоскреб ИПР-24. Лист 9 ТП 902-2-363.83 4И.436.00.00.000 СБ Илоскреб ИПР-24. Лист 10 ТП 902-2-363.83 4И.436.00.00.000 СБ Илоскреб ИПР-24. Лист 11 ТП 902-2-363.83 4И.436.00.00.000 СБ Илоскреб ИПР-24. Лист 12 ТП 902-2-363.83 4И.436.00.00.000 СБ Илоскреб ИПР-24. Лист 13 ТП 902-2-363.83 4И.436.00.00.000 Илоскреб ИПР-24. Спецификация Лист 1-4 ТП 902-2-363.83 4И.436.00.00.000 Илоскреб ИПР-24. Спецификация Лист 5-7 ТП 902-2-363.83 4И.436.00.00.001 Тяга ТП 902-2-363.83 4И.436.00.00.001-01 Тяга ТП 902-2-363.83 4И.436.00.00.001-02 Тяга ТП 902-2-363.83 4И.436.00.00.001-03 Тяга ТП 902-2-363.83 4И.436.01.00.000 СБ Ферма моста. Лист 1 ТП 902-2-363.83 4И.436.01.00.000 СБ Ферма моста. Лист 2 ТП 902-2-363.83 4И.436.01.00.000 СБ Ферма моста. Лист 3 ТП 902-2-363.83 4И.436.01.00.000 СБ Ферма моста. Лист 4 ТП 902-2-363.83 4И.436.01.00.000 СБ Ферма моста. Лист 5 ТП 902-2-363.83 4И.436.01.00.000 Ферма моста. Спецификация. Лист 1-4 ТП 902-2-363.83 4И.436.00.00.002 Кронштейн ТП 902-2-363.83 4И.436.01.01.000 Кронштейн. Спецификация ТП 902-2-363.83 4И.436.01.01.000 СБ Кронштейн ТП 902-2-363.83 4И.436.01.01.001 Угольник ТП 902-2-363.83 4И.436.01.01.002 Ребро ТП 902-2-363.83 4И.436.01.02.000 Подставка. Спецификация. Лист 1 ТП 902-2-363.83 4И.436.01.02.000 СБ Подставка ТП 902-2-363.83 4И.436.01.02.001 Угольник ТП 902-2-363.83 4И.436.01.02.001-01 Угольник ТП 902-2-363.83 4И.436.01.03.000 СБ Кронштейн ТП 902-2-363.83 4И.436.01.03.000 Кронштейн. Спецификация. Лист 1 ТП 902-2-363.83 4И.436.01.00.001 Ступень ТП 902-2-363.83 4И.436.01.00.001-01 Ступень ТП 902-2-363.83 4И.436.01.00.002 Стойка ТП 902-2-363.83 4И.436.01.00.002-01 Стойка ТП 902-2-363.83 4И.436.01.00.003 Накладка ТП 902-2-363.83 4И.436.01.00.003-01 Накладка ТП 902-2-363.83 4И.436.01.00.004 Угольник ТП 902-2-363.83 4И.436.01.00.004-01 Угольник ТП 902-2-363.83 4И.436.01.00.005 Угольник ТП 902-2-363.83 4И.436.01.00.005-01 Угольник ТП 902-2-363.83 4И.436.01.00.006 Накладка ТП 902-2-363.83 4И.436.01.00.006-01 Накладка ТП 902-2-363.83 4И.436.01.00.007 Балка ТП 902-2-363.83 4И.436.01.00.007-01 Балка ТП 902-2-363.83 4И.436.01.00.008 Ребро ТП 902-2-363.83 4И.436.01.00.009 Поперечина ТП 902-2-363.83 4И.436.01.00.011 Балка ТП 902-2-363.83 4И.436.01.00.012 Накладка ТП 902-2-363.83 4И.436.01.00.013 Накладка ТП 902-2-363.83 4И.436.01.00.014 Накладка ТП 902-2-363.83 4И.436.01.00.015 Накладка ТП 902-2-363.83 4И.436.01.00.016 Угольник ТП 902-2-363.83 4И.436.01.00.017 Ребро ТП 902-2-363.83 4И.436.00.00.003 Плита ТП 902-2-363.83 4И.436.00.00.004 Угольник ТП 902-2-363.83 4И.436.00.00.004-01 Угольник ТП 902-2-363.83 4И.436.00.00.005 Лист средний ТП 902-2-363.83 4И.436.02.00.000 СБ Крыло скребковое. Лист 1 ТП 902-2-363.83 4И.436.02.00.000 СБ Крыло скребковое. Лист 2 ТП 902-2-363.83 4И.436.02.00.000 Крыло скребковое. . Спецификация. Лист 1-2 ТП 902-2-363.83 4И.436.02.00.001 Тяга ТП 902-2-363.83 4И.436.02.00.001-01 Тяга ТП 902-2-363.83 4И.436.02.01.000 СБ Ферма скребкового крыла. Лист 1 ТП 902-2-363.83 4И.436.02.01.000 СБ Ферма скребкового крыла. Лист 2 ТП 902-2-363.83 4И.436.02.01.000 Ферма скребкового крыла. . Спецификация. Лист 1-2 ТП 902-2-363.83 4И.436.00.00.006 Планка ТП 902-2-363.83 4И.436.02.01.001 Пояс ТП 902-2-363.83 4И.436.02.01.002 Ребро ТП 902-2-363.83 4И.436.02.01.003 Патрубок ТП 902-2-363.83 4И.436.02.01.003-01 Патрубок ТП 902-2-363.83 4И.436.02.01.004 Ребро ТП 902-2-363.83 4И.436.02.01.005 Ребро ТП 902-2-363.83 4И.436.02.01.006 Ребро ТП 902-2-363.83 4И.436.02.01.007 Консоль ТП 902-2-363.83 4И.436.02.01.008 Ребро ТП 902-2-363.83 4И.436.02.01.009 Ребро ТП 902-2-363.83 4И.436.02.02.000 СБ Стержень ТП 902-2-363.83 4И.436.02.02.000 СБ-01 Стержень ТП 902-2-363.83 4И.436.02.02.000 СБ-02 Стержень ТП 902-2-363.83 4И.436.02.02.000 СБ-03 Стержень ТП 902-2-363.83 4И.436.02.02.000 Стержень. Спецификация. Лист 1-2 ТП 902-2-363.83 4И.436.02.03.000 СБ Узел крепления ТП 902-2-363.83 4И.436.02.03.000 Узел крепления. Спецификация. Лист 1 ТП 902-2-363.83 4И.436.02.03.001 Распорка ТП 902-2-363.83 4И.436.02.03.002 Ребро ТП 902-2-363.83 4И.436.02.03.003 Ребро боковое ТП 902-2-363.83 4И.436.02.04.000 СБ Узел крепления ТП 902-2-363.83 4И.436.02.04.000 Узел крепления. Спецификация. Лист 1 ТП 902-2-363.83 4И.436.02.04.001 Ребро ТП 902-2-363.83 4И.436.02.04.002 Ребро ТП 902-2-363.83 4И.436.02.05.000 Скребок. Спецификация. Лист 1 ТП 902-2-363.83 4И.436.02.05.000 Скребок. Спецификация. Лист 2-3 ТП 902-2-363.83 4И.436.02.05.000 СБ Скребок ТП 902-2-363.83 4И.436.02.05.000 СБ-01 Скребок ТП 902-2-363.83 4И.436.02.05.000 СБ-02 Скребок ТП 902-2-363.83 4И.436.02.05.000 СБ-03 Скребок ТП 902-2-363.83 4И.436.02.06.000 СБ Скребок ТП 902-2-363.83 4И.436.02.06.000 СБ-01 Скребок ТП 902-2-363.83 4И.436.02.06.000 СБ-02 Скребок ТП 902-2-363.83 4И.436.02.06.000 СБ-03 Скребок ТП 902-2-363.83 4И.436.02.06.000 Скребок. Спецификация. Лист 1-2 ТП 902-2-363.83 4И.436.02.06.000 Скребок. Спецификация. Лист 3 ТП 902-2-363.83 4И.436.00.00.007 Поручень ТП 902-2-363.83 4И.436.02.06.001 Ребро ТП 902-2-363.83 4И.436.02.06.001-01 Ребро ТП 902-2-363.83 4И.436.02.06.001-02 Ребро ТП 902-2-363.83 4И.436.02.06.001-03 Ребро ТП 902-2-363.83 4И.436.03.00.000 СБ Платформа. Лист 1 ТП 902-2-363.83 4И.436.03.00.000 СБ Платформа. Лист 2 ТП 902-2-363.83 4И.436.03.00.000 Платформа. Спецификация. Лист 1-2 ТП 902-2-363.83 4И.436.03.01.000 Металлоконструкция платформы. Спецификация. Лист 1-2 ТП 902-2-363.83 4И.436.03.01.000 СБ Металлоконструкция платформы. Лист 1 ТП 902-2-363.83 4И.436.03.01.000 СБ Металлоконструкция платформы. Лист 2 ТП 902-2-363.83 4И.436.03.01.100 СБ Ребро ТП 902-2-363.83 4И.436.03.01.100 СБ-01 Ребро ТП 902-2-363.83 4И.436.03.01.100 Ребро. Спецификация ТП 902-2-363.83 4И.436.03.01.101 Косынка ТП 902-2-363.83 4И.436.03.01.001 Косынка ТП 902-2-363.83 4И.436.03.01.002 Швеллер ТП 902-2-363.83 4И.436.03.01.003 Ребро ТП 902-2-363.83 4И.436.03.01.004 Накладка ТП 902-2-363.83 4И.436.03.01.006 Ребро ТП 902-2-363.83 4И.436.03.01.005 Лист ТП 902-2-363.83 4И.436.03.01.008 Ребро ТП 902-2-363.83 4И.436.03.01.008-01 Ребро ТП 902-2-363.83 4И.436.03.01.007 Бобышка ТП 902-2-363.83 4И.436.03.01.009 Бобышка ТП 902-2-363.83 4И.436.03.02.000 Стакан. Спецификация. Лист 1 ТП 902-2-363.83 4И.436.03.02.001 Обечайка ТП 902-2-363.83 4И.436.03.02.000 СБ Стакан ТП 902-2-363.83 4И.436.03.02.002 Фланец ТП 902-2-363.83 4И.436.03.03.000 Опора катковая. Спецификация. Лист 1-2 ТП 902-2-363.83 4И.436.03.03.100 Обойма. Спецификация. Лист 1 ТП 902-2-363.83 4И.436.03.03.000 СБ Опора катковая ТП 902-2-363.83 4И.436.03.03.100 СБ Обойма ТП 902-2-363.83 4И.436.03.03.101 Угольник ТП 902-2-363.83 4И.436.03.03.102 Ребро ТП 902-2-363.83 4И.436.03.03.103 Накладка ТП 902-2-363.83 4И.436.03.03.001 Ось ТП 902-2-363.83 4И.436.03.03.002 Втулка распорная ТП 902-2-363.83 4И.436.03.03.003 Прокладка ТП 902-2-363.83 4И.436.03.03.004 Каток ТП 902-2-363.83 4И.436.03.03.005 Ригель ТП 902-2-363.83 4И.436.03.03.006 Кольцо регулировочное ТП 902-2-363.83 4И.436.03.03.007 Втулка ТП 902-2-363.83 4И.436.03.04.000 СБ Домкрат ТП 902-2-363.83 4И.436.03.04.000 Домкрат. Спецификация. Лист 1 ТП 902-2-363.83 4И.436.03.04.001 Основание ТП 902-2-363.83 4И.436.03.04.002 Полукольцо ТП 902-2-363.83 4И.436.03.04.003 Винт ТП 902-2-363.83 4И.436.03.00.001 Прокладка ТП 902-2-363.83 4И.436.03.00.002 Угольник ТП 902-2-363.83 4И.436.00.00.008 Муфта ТП 902-2-363.83 4И.436.00.00.008-01 Муфта ТП 902-2-363.83 4И.436.00.00.009 Ось ТП 902-2-363.83 4И.436.00.00.009-01 Ось |
| Разработан: | МосводоканалНИИпроект |
| Утверждён: | 14.12.1982 МосводоканалНИИпроект (214) |













































































