Скачать Серия ИИЭ30 Выпуск 5. Детали сопряжений конструктивных элементов несущего каркаса. Рабочие чертежиДата актуализации: 01.01.2021
|
| Обозначение: | Серия ИИЭ30 |
| Обозначение англ: | Series ИИЭ30 |
| Статус: | не действует |
| Название рус.: | Выпуск 5. Детали сопряжений конструктивных элементов несущего каркаса. Рабочие чертежи |
| Дата добавления в базу: | 01.09.2013 |
| Дата актуализации: | 01.01.2021 |
| Дата введения: | 01.08.1969 |
| Дата окончания срока действия: | 01.02.1987 |
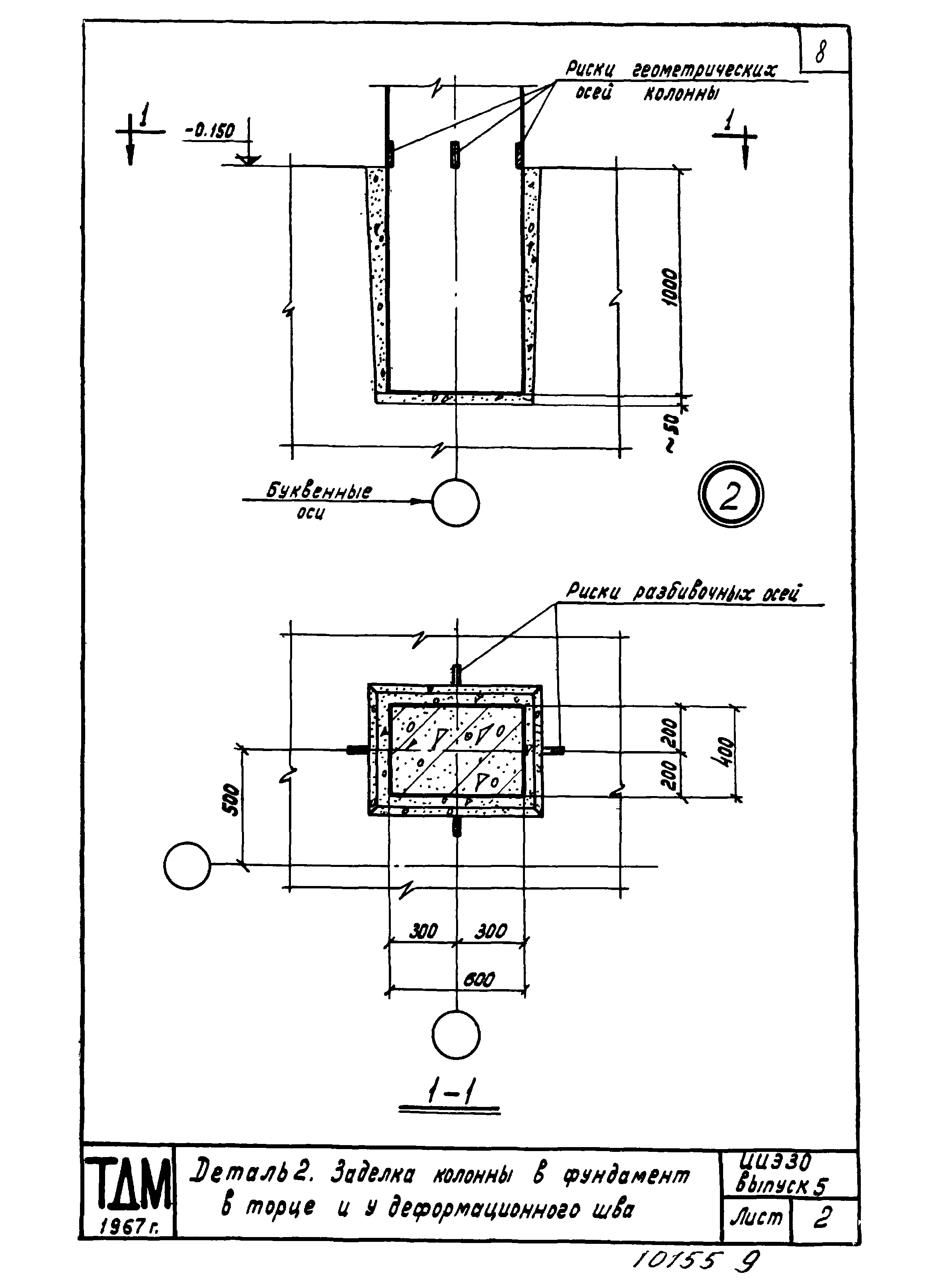
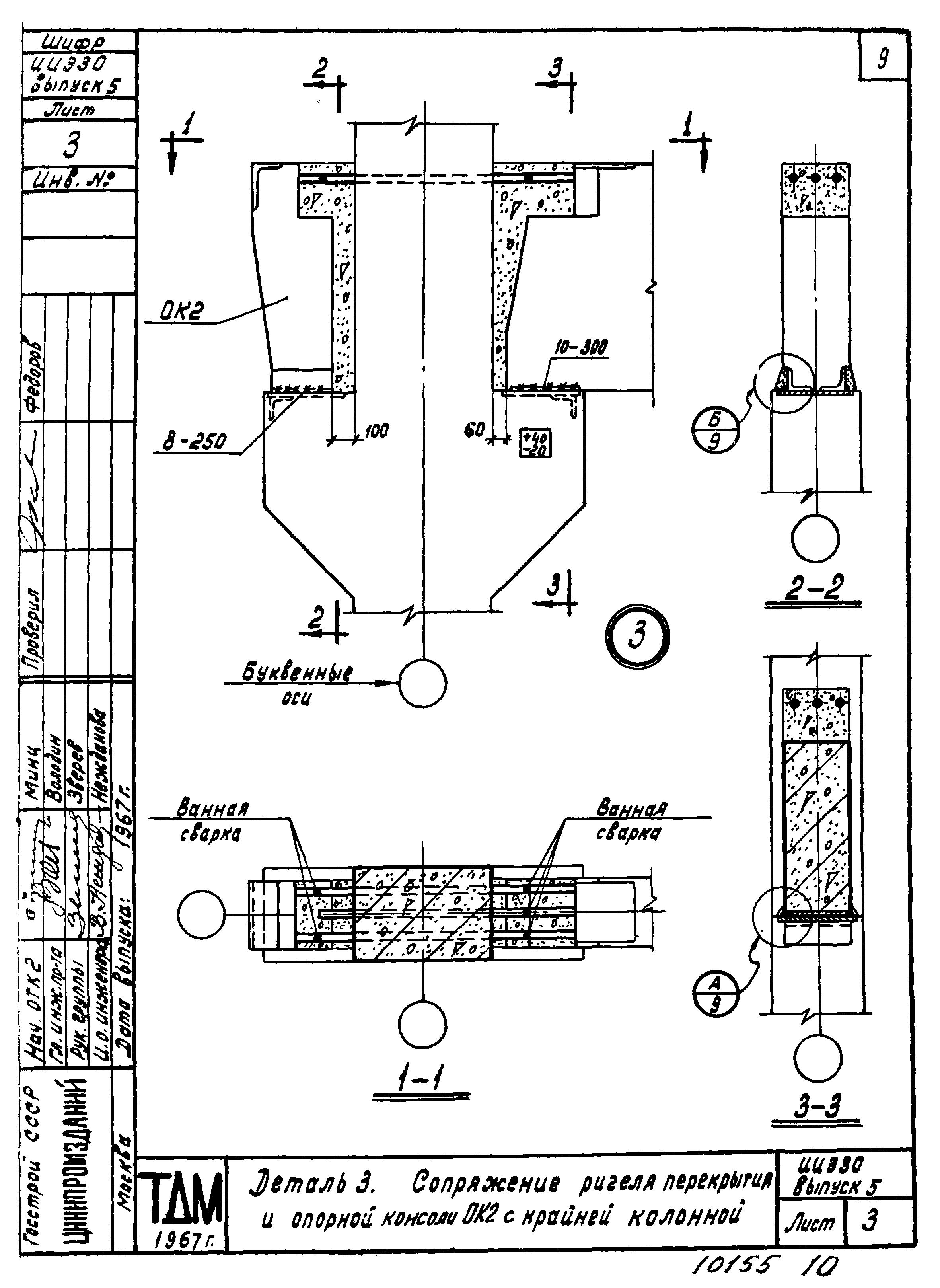
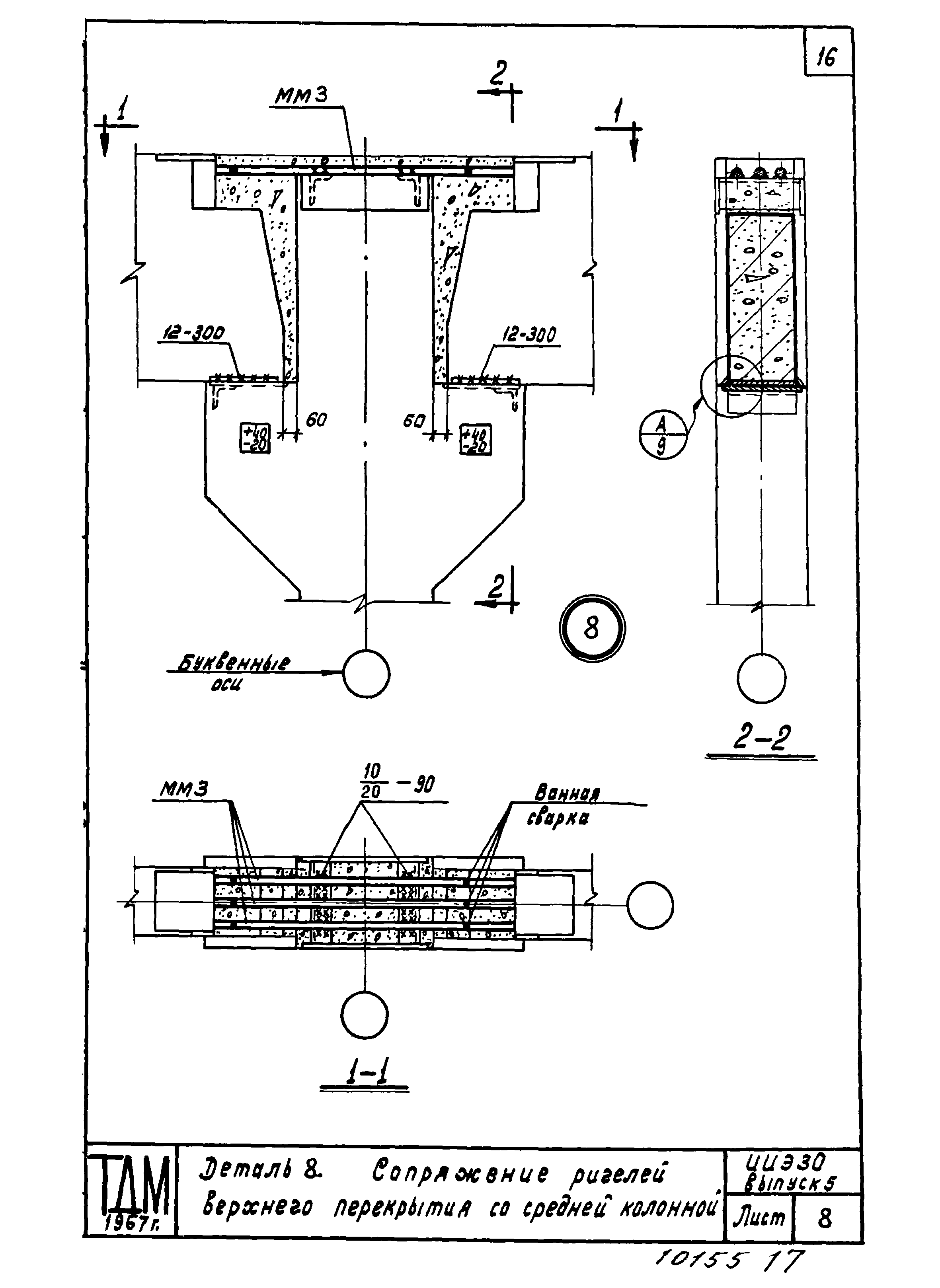
| Оглавление: | Пояснительная записка Деталь 1. Заделка колонны в фундамент Деталь 2. Заделка колонны в фундамент в торце и у деформационного шва Деталь 3. Сопряжение ригеля перекрытия и опорной консоли ОК2 с крайней колонной Деталь 3а. Сопряжение ригеля перекрытия и опорной консоли MК1 с крайней колонной Деталь 4. Сопряжение ригелей перекрытия со средней колонной Деталь 5. Сопряжение ригелей перекрытия со средней колонной Деталь 6. Сопряжение ригеля верхнего перекрытия и опорной консоли ОК2 с крайней колонной Деталь 6а. Сопряжение ригеля верхнего перекрытия и опорной консоли MК1 с крайней колонной Деталь 7. Сопряжение ригелей верхнего перекрытия со средней колонной Деталь 8. Сопряжение ригелей верхнего перекрытия со средней колонной Узлы А, Б Деталь 9. Крепление вертикальных связей к колоннам Деталь 10. Крепление вертикальных связей к колоннам Деталь 11. Соединение элементов связей |
| Разработан: | ЦНИИпромзданий НИИЖБ |
| Утверждён: | 04.05.1969 Госстрой СССР (Государственный комитет Совета Министров СССР по делам строительства) (USSR Gosstroy 60) |





















