Скачать Серия 1.420-8 Выпуск 5. Узлы сопряжений плит перекрытий. Рабочие чертежиДата актуализации: 01.01.2021
|
| Обозначение: | Серия 1.420-8 |
| Обозначение англ: | Series 1.420-8 |
| Статус: | не действует |
| Название рус.: | Выпуск 5. Узлы сопряжений плит перекрытий. Рабочие чертежи |
| Дата добавления в базу: | 01.09.2013 |
| Дата актуализации: | 01.01.2021 |
| Дата введения: | 01.12.1978 |
| Дата окончания срока действия: | 01.02.1987 |
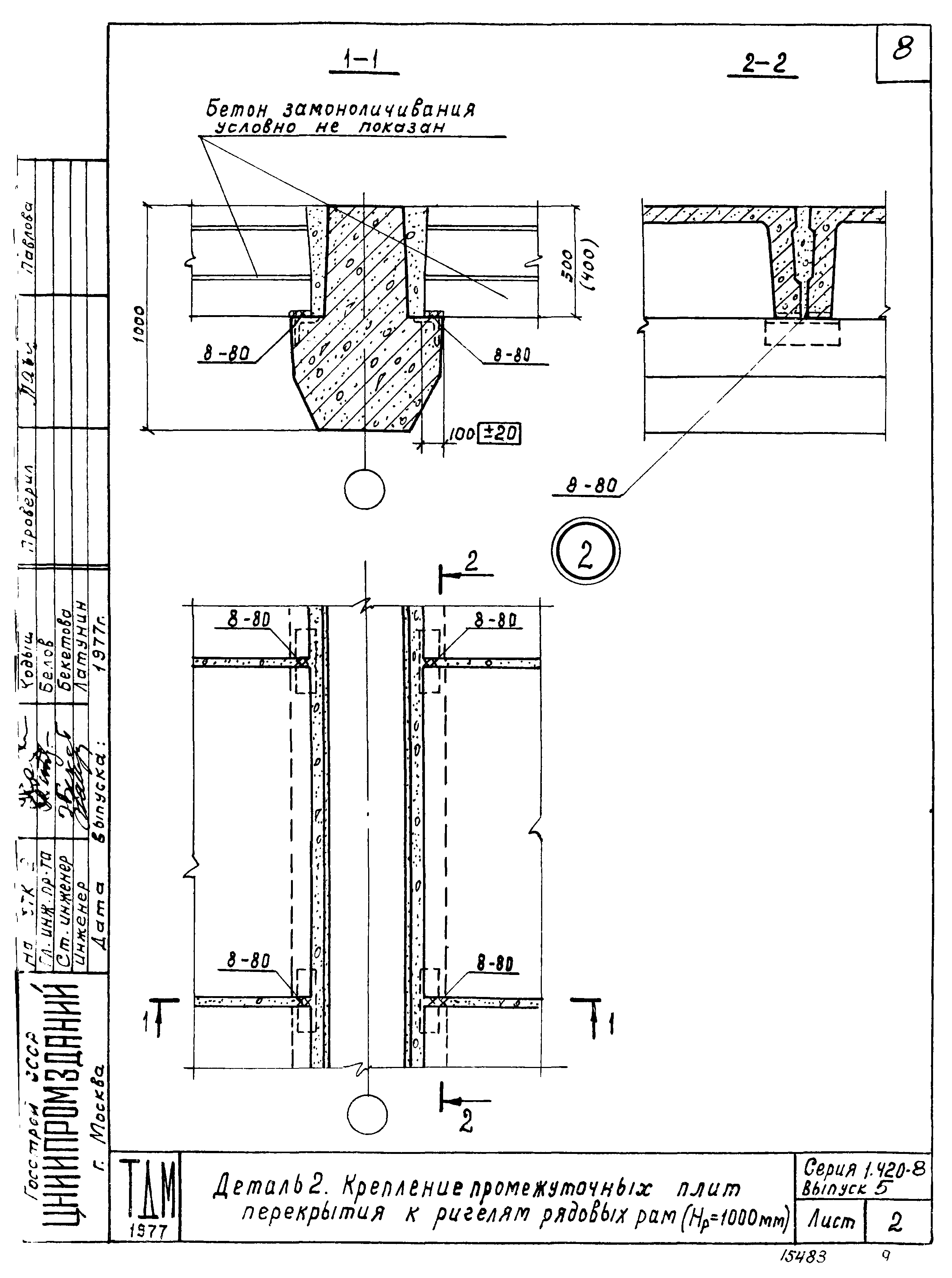
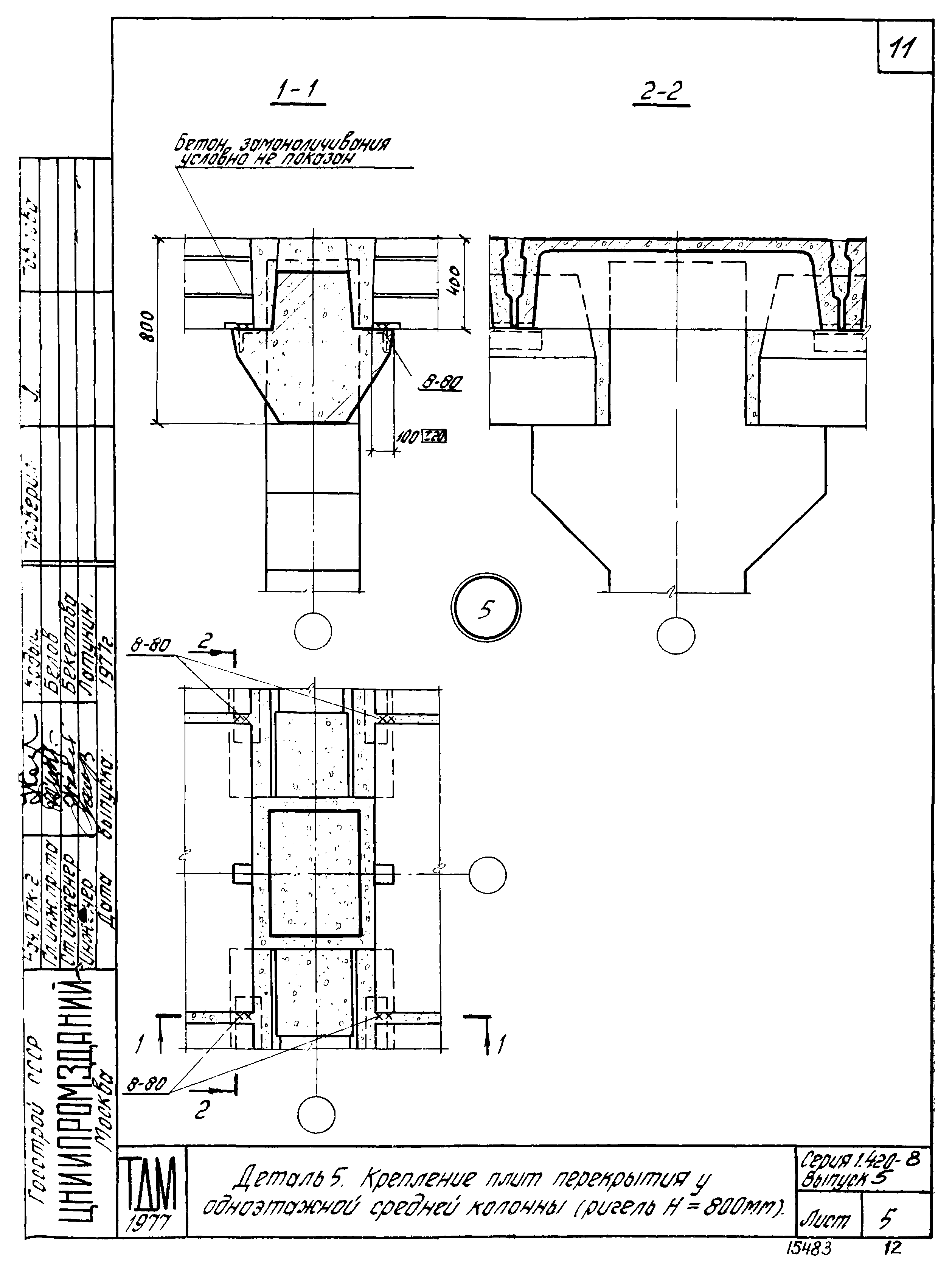
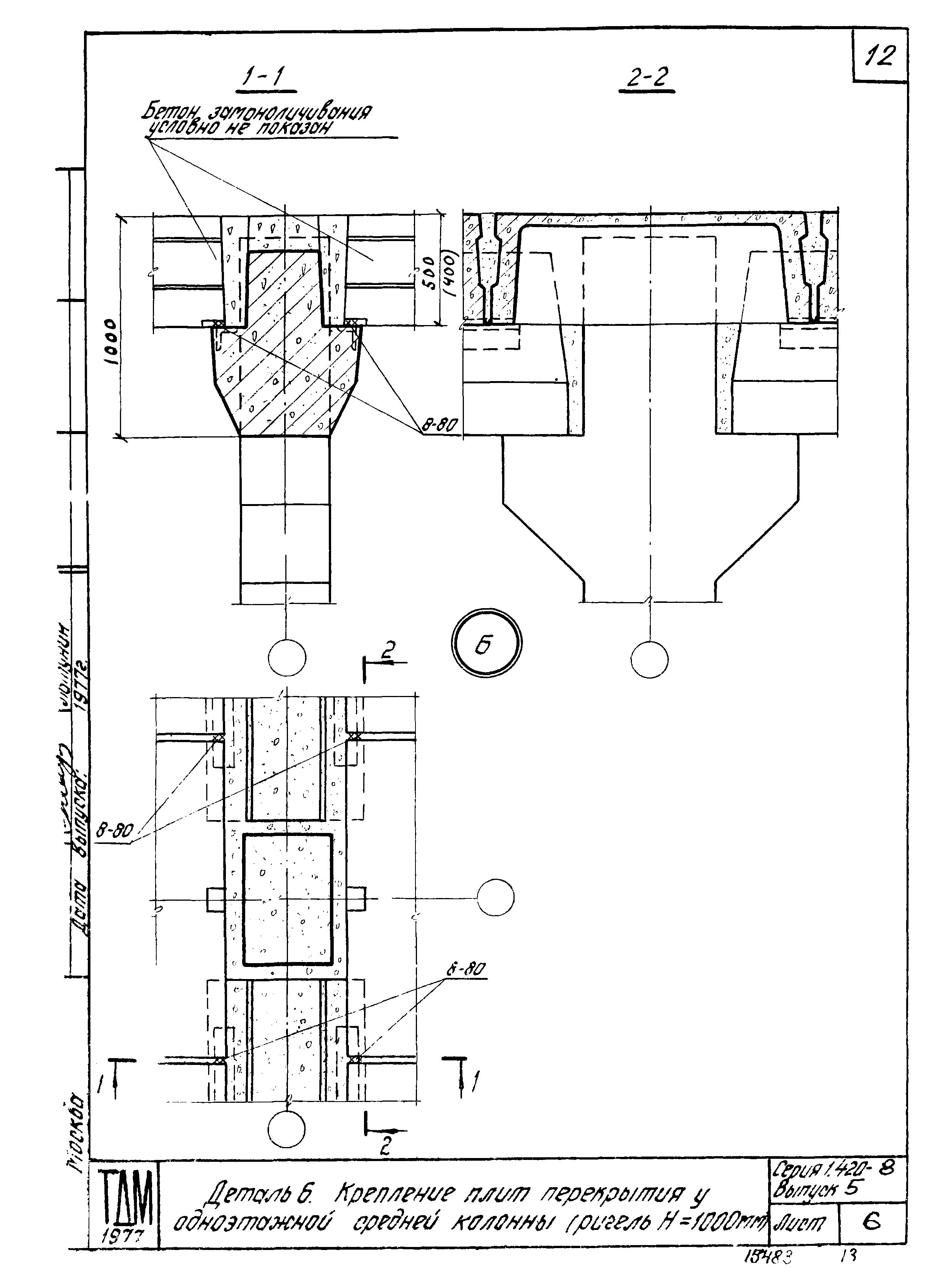
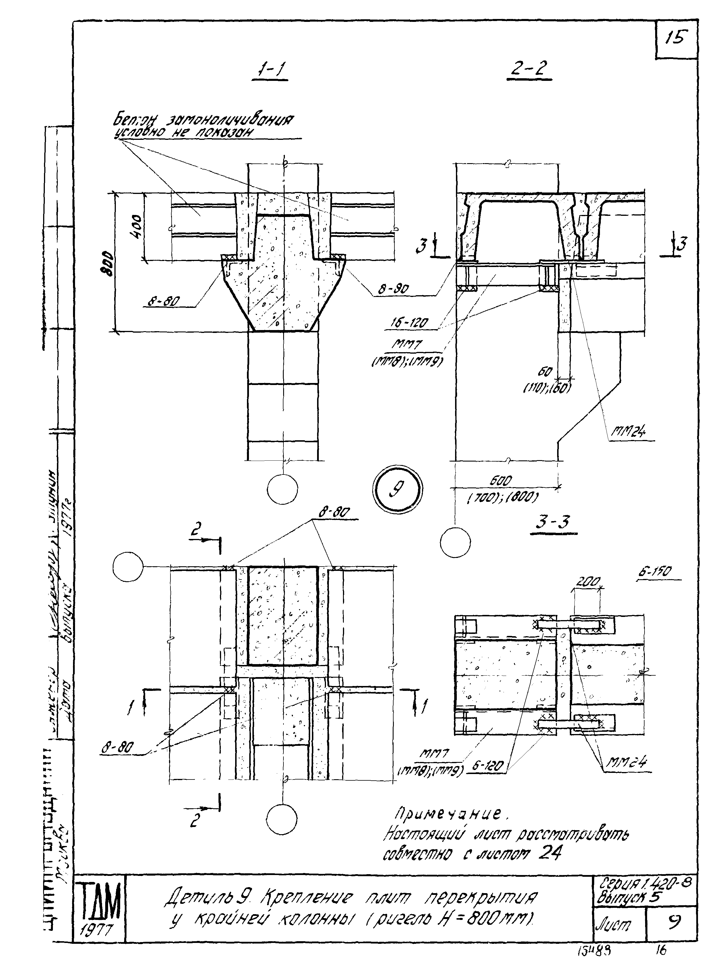
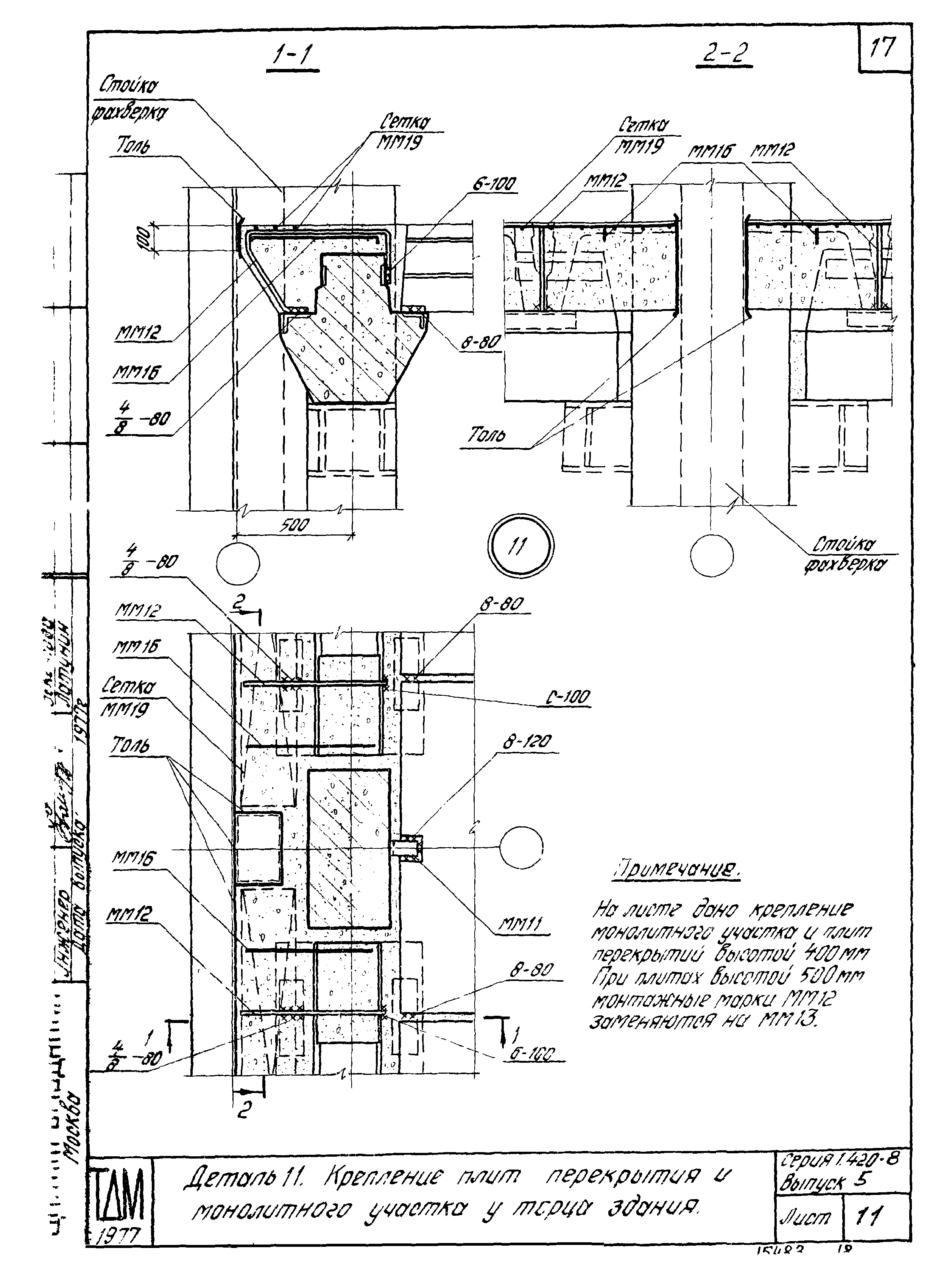
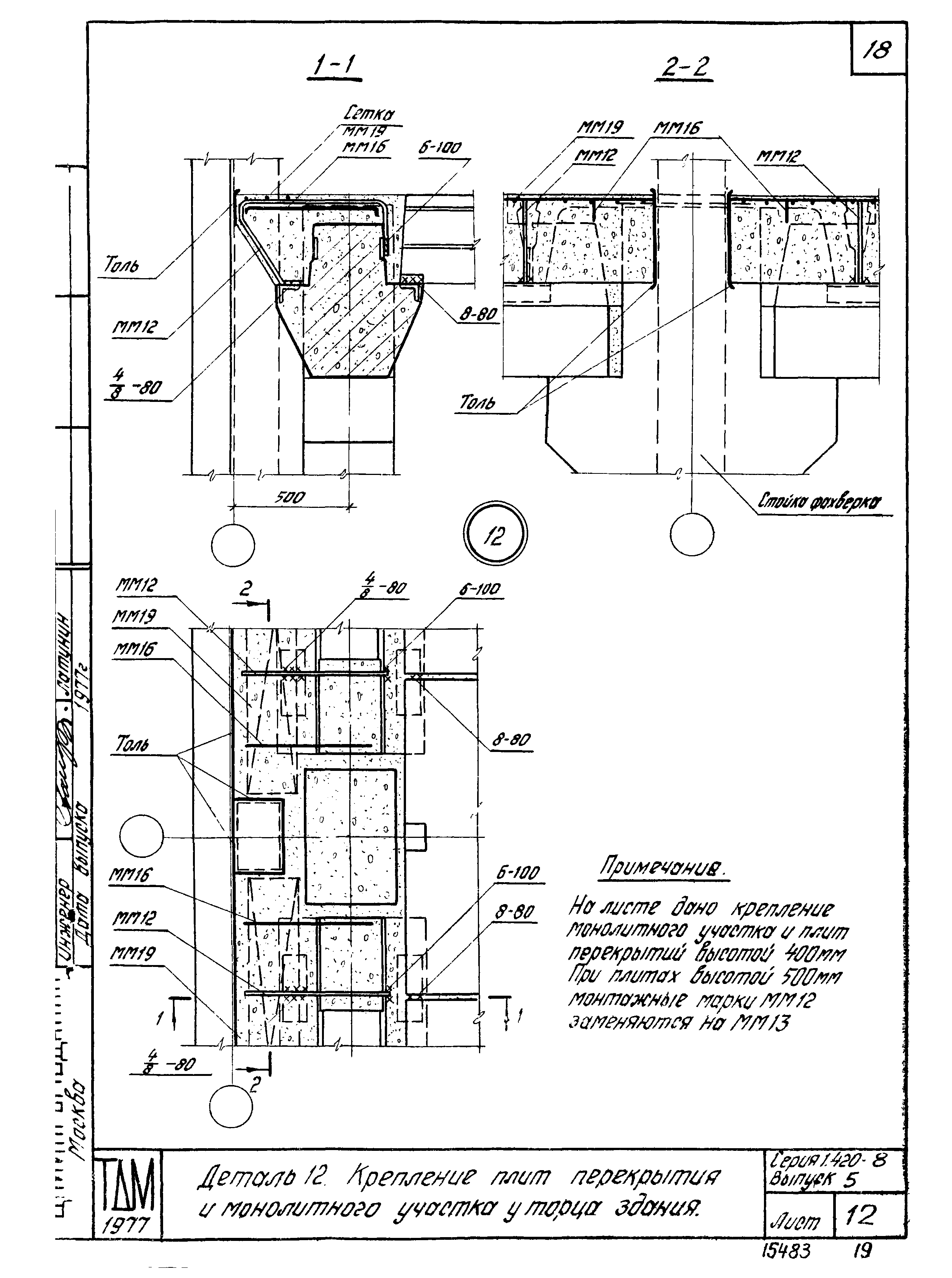
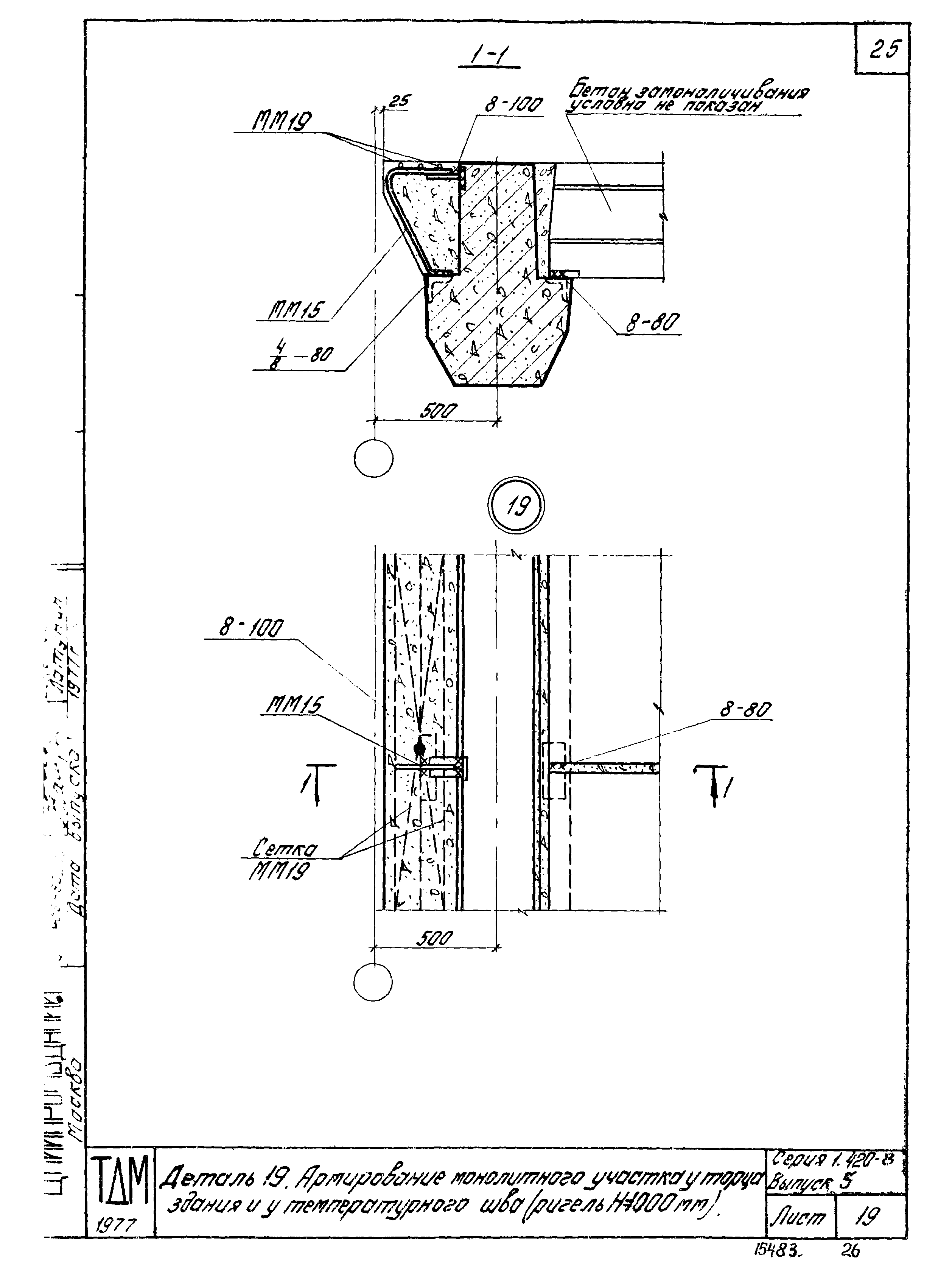
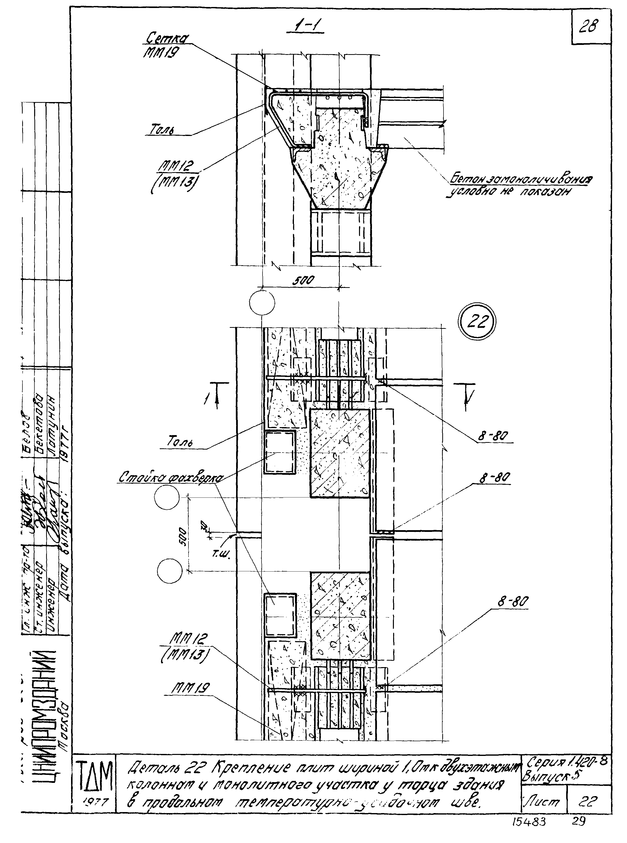
| Оглавление: | Содержание Пояснительная записка Деталь 1. Крепление промежуточных плит перекрытия к ригелям рядовых рам (Нр=800 мм) Деталь 2. Крепление промежуточных плит перекрытия к ригелям рядовых рам (Нр=1000 мм) Деталь 3. Крепление плит перекрытия у двухэтажной средней колонны (ригель Н=800 мм) Деталь 4. Крепление плит перекрытия у двухэтажной средней колонны (ригель Н=1000 мм) Деталь 5. Крепление плит перекрытия у одноэтажной средней колонны (ригель Н=800 мм) Деталь 6. Крепление плит перекрытия у одноэтажной средней колонны (ригель Н=800 мм) Деталь 7. Крепление плит перекрытия у крайней колонны (ригель Н=800 мм) Деталь 8. Крепление плит перекрытия у крайней колонны (ригель Н=1000 мм) Деталь 9. Крепление плит перекрытия у крайней колонны (ригель Н=800 мм) Деталь 10. Крепление плит перекрытия из крайней колонны (ригель Н=1000 мм) Деталь 11. Крепление плит перекрытия и монолитного участка у торца здания Деталь 12. Крепление плит перекрытия и монолитного участка у торца здания Деталь 13. Крепление плит перекрытия и монолитного участка у торца здания Деталь 14. Крепление плит перекрытия и монолитного участка у температурного шва Деталь 15. Крепление плит перекрытия и монолитного участка у температурного шва Деталь 16. Крепление плит перекрытия и монолитного участка у температурного шва Деталь 17. Крепление плит перекрытия и монолитного участка у температурного шва Деталь 18. Армирование монолитного участка у торца здания и у температурного шва (ригель Н=800 мм) Деталь 19. Армирование монолитного участка у торца здания и у температурного шва (ригель Н=1000 мм) Деталь 20. Крепление плит шириной 1,0 м к двухэтажной колонне в продольном температурно-усадочном шве Деталь 21. Крепление плит шириной 1,0 м к одноэтажным колоннам в продольном температурно-усадочном шве Деталь 22. Крепление плит шириной 1,0 м к двухэтажным колоннам и монолитного участка у торца здания в продольном температурно-усадочном шве Деталь 23. Крепление плит шириной 1,0 м к одноэтажным колоннам и монолитного участка у торца здания в продольном температурно-усадочном шве Деталь 24. Крепление опорных столиков к колонне |
| Разработан: | ЦНИИпромзданий |
| Утверждён: | 31.07.1978 Госстрой СССР (Государственный комитет Совета Министров СССР по делам строительства) (USSR Gosstroy 151) |































