Скачать Типовой проект 902-2-380.84 Альбом VIII. Нестандартизированное оборудование. Токоприемник кольцевой (из ТП 902-2-346)Дата актуализации: 01.01.2021
|
| Обозначение: | Типовой проект 902-2-380.84 |
| Обозначение англ: | 902-2-380.84 |
| Статус: | не действует |
| Название рус.: | Альбом VIII. Нестандартизированное оборудование. Токоприемник кольцевой (из ТП 902-2-346) |
| Дата добавления в базу: | 01.09.2013 |
| Дата актуализации: | 01.01.2021 |
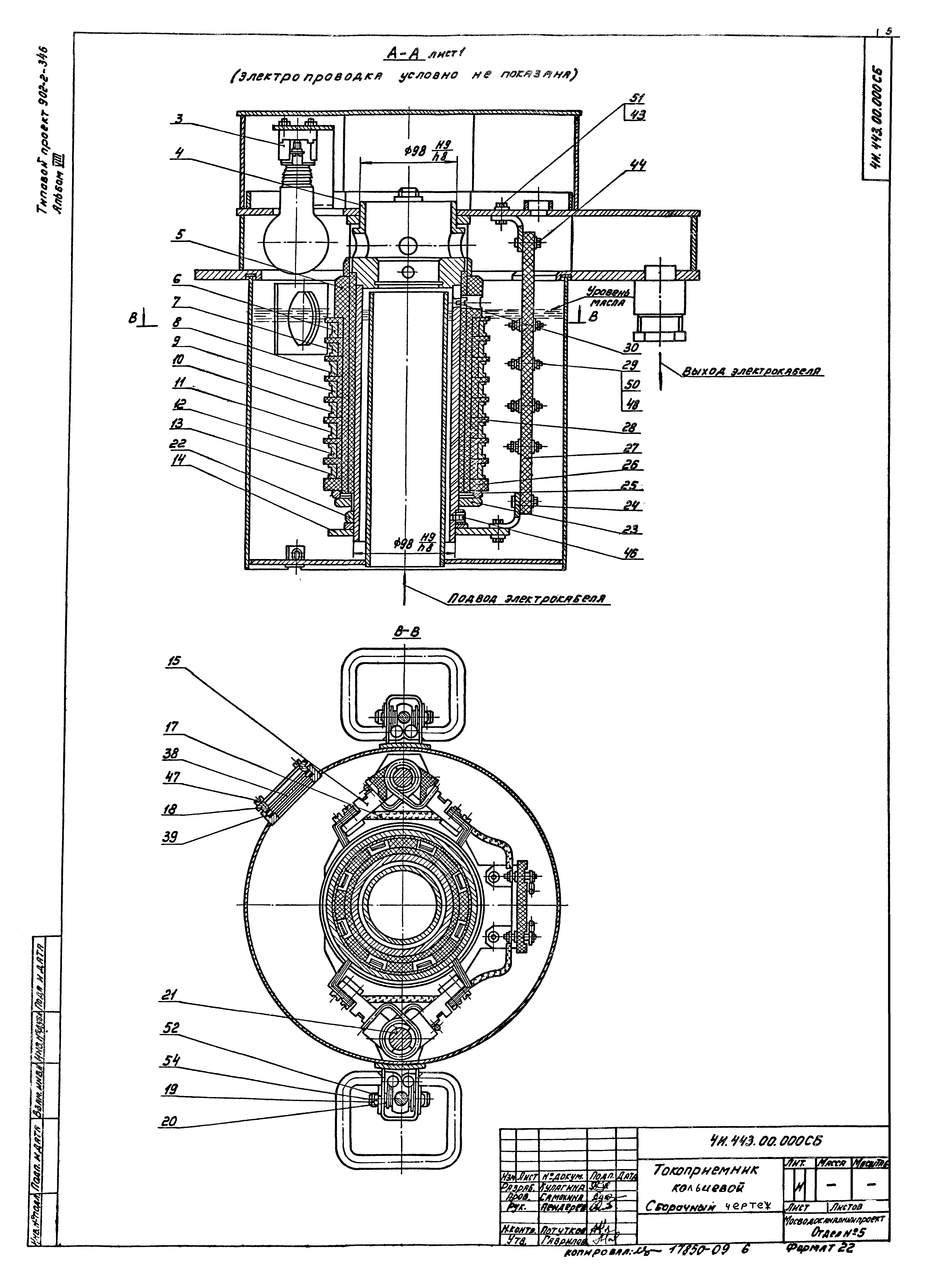
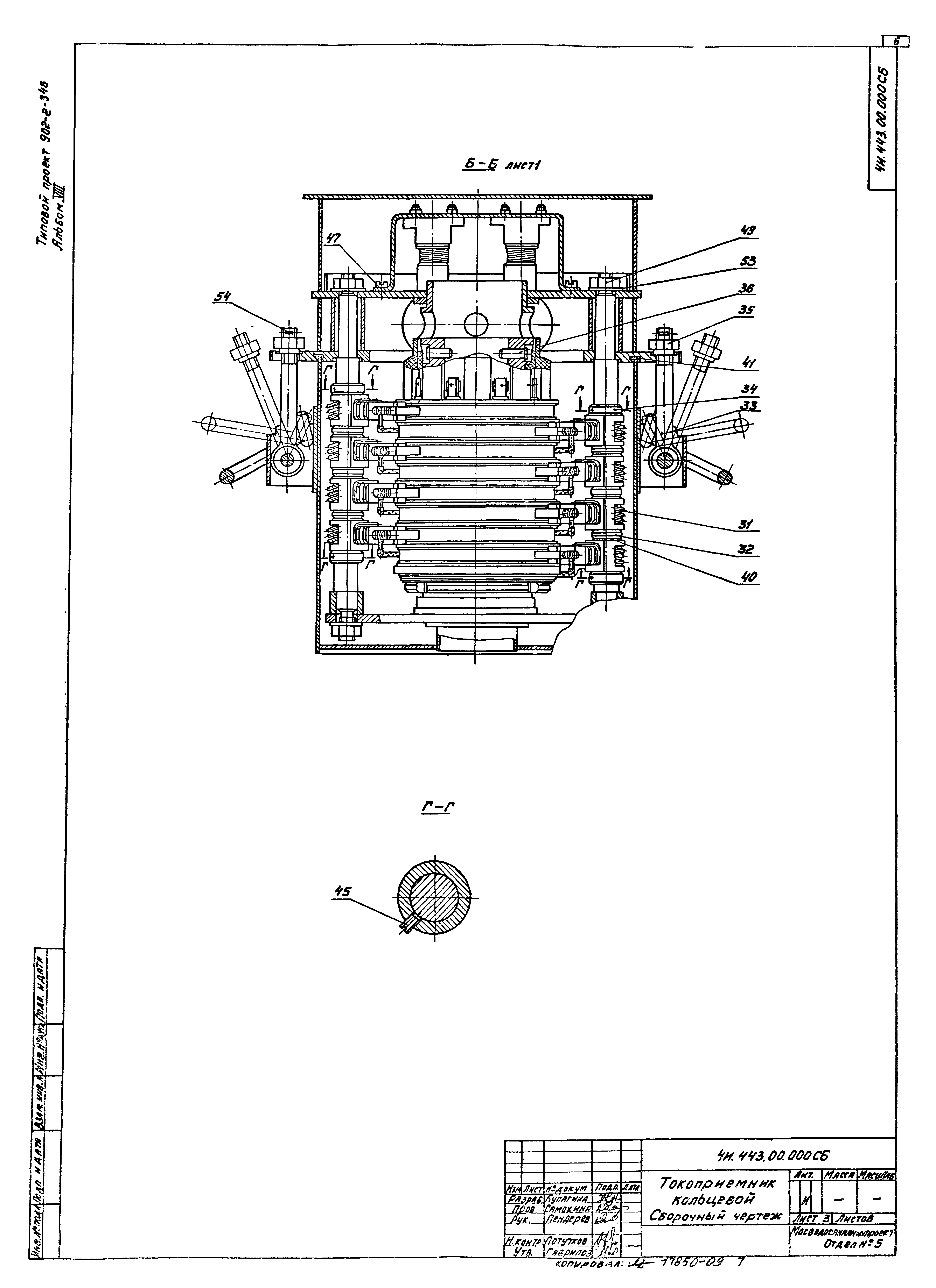
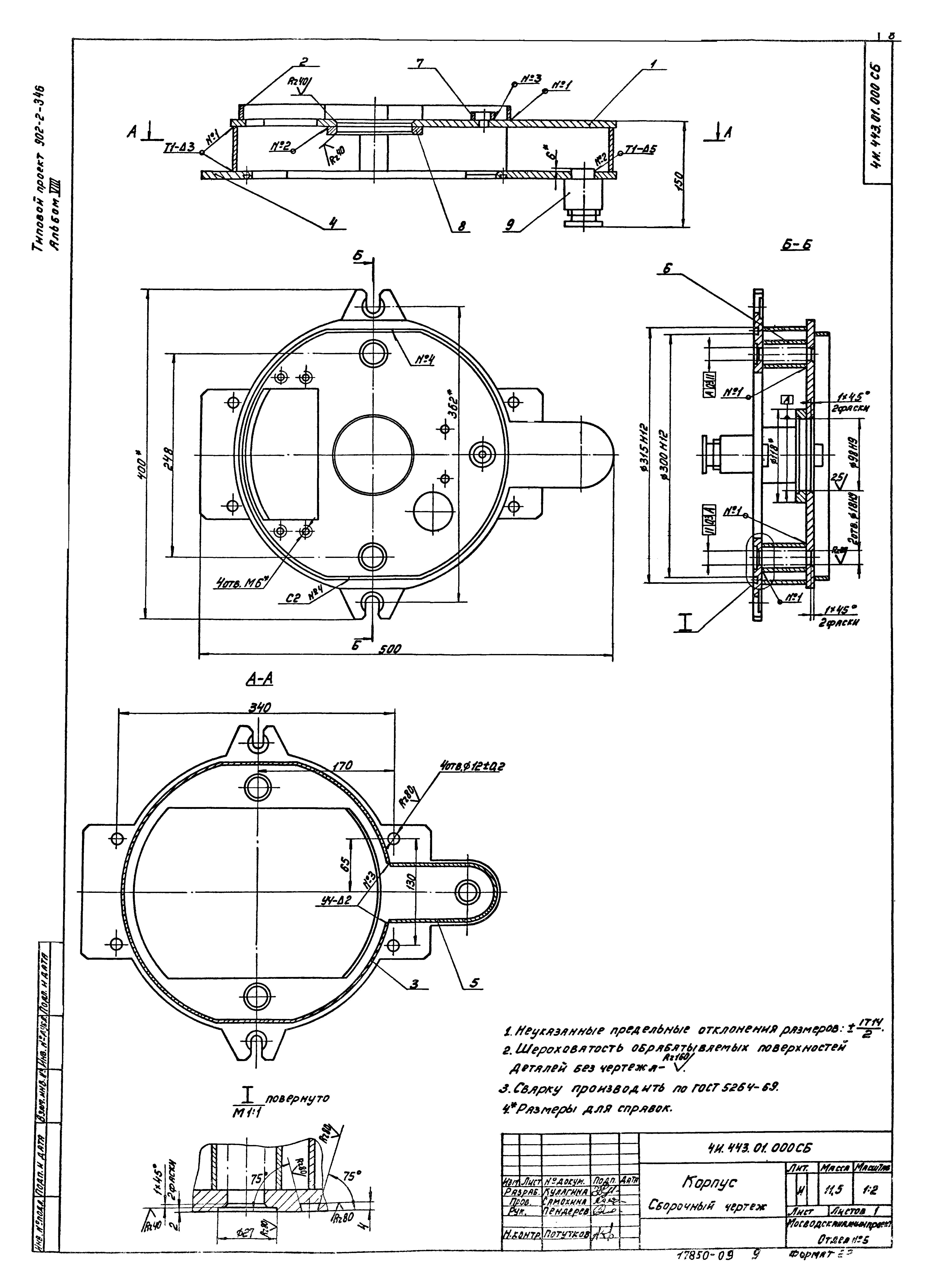
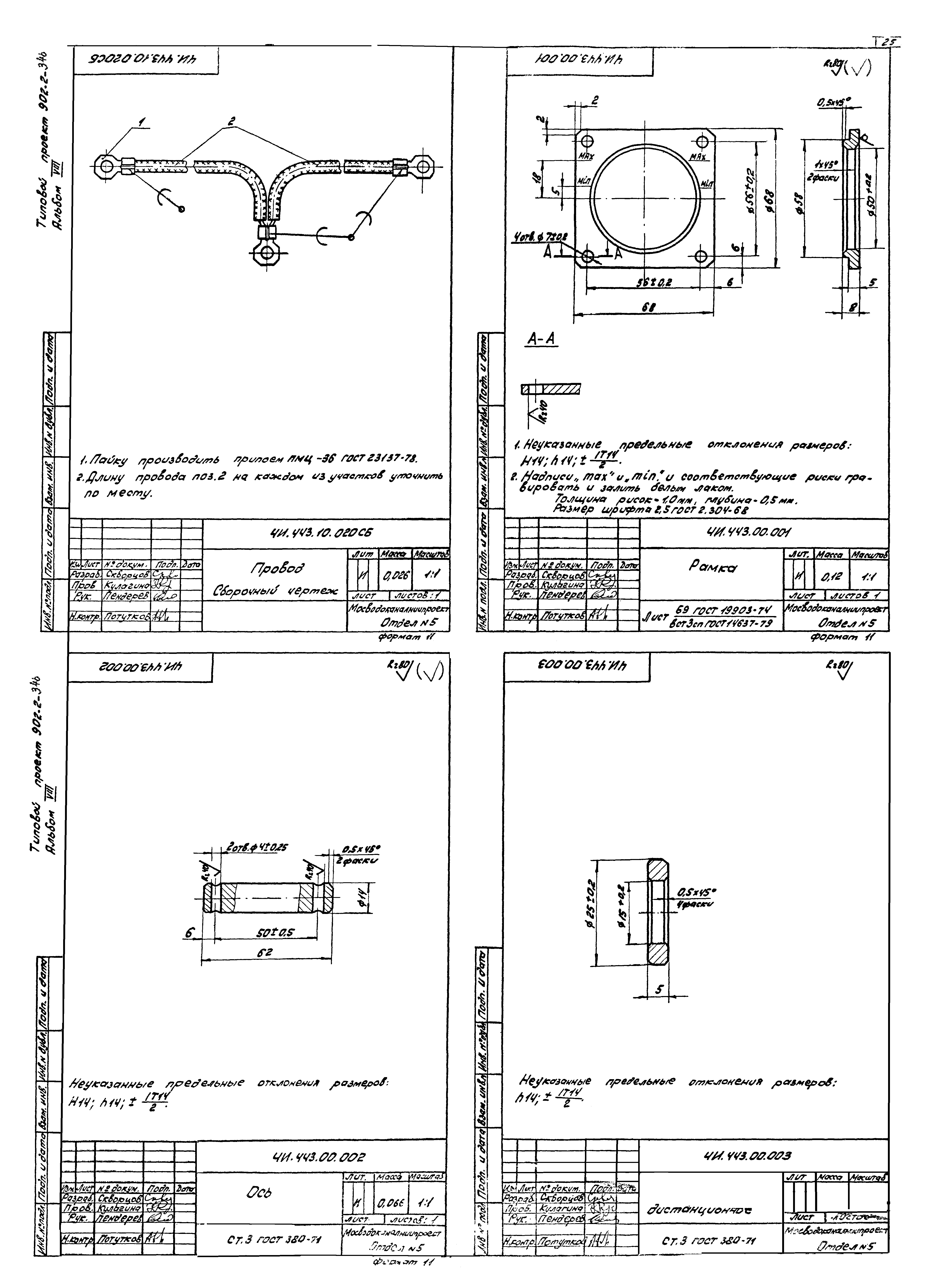
| Оглавление: | Титульный лист Содержание альбома 4И.443.00.000 ТУ Токоприемник кольцевой. Технические условия 4И.443.00.000 СБ Токоприемник кольцевой. Лист 1 4И.443.00.000 СБ Токоприемник кольцевой. Лист 2 4И.443.00.000 СБ Токоприемник кольцевой. Лист 3 4И.443.00.000 Токоприемник кольцевой. Спецификация. Лист 1-4 4И.443.01.000 СБ Корпус 4И.443.01.000 Корпус. Спецификация. Лист 1-2 4И.443.01.001 Фланец верхний 4И.443.01.002 Борт 4И.443.01.003 Стенка 4И.443.01.004 Фланец нижний 4И.443.01.005 Стенка 4И.443.02.000 Бак. Спецификация 4И.443.02.001 Днище 4И.443.02.002 Скоба 4И.443.02.000 СБ Бак 4И.443.02.003 Обечайка наружная 4И.443.02.004 Ручка 4И.443.02.005 Бобышка 4И.443.02.006 Бобышка 4И.443.03.000 Кронштейн с лампами. Спецификация. Лист 1-2 4И.443.04.000 Втулка направляющая. Спецификация 4И.443.03.000 СБ Кронштейн с лампами 4И.443.03.001 Кронштейн 4И.443.04.000 СБ Втулка направляющая 4И.443.04.001 Головка 4И.443.04.002 Труба 4И.443.05.000 Втулка изолирующая. Спецификация 4И.443.05.001 Кольцо 4И.443.05.000 СБ Втулка изолирующая 4И.443.06.000 СБ Кольцо токосъемное 4И.443.06.001 Кольцо 4И.443.06.003 Пластина 4И.443.05.002 Полоса 4И.443.06.000 Кольцо токосъемное. Спецификация. Лист 1-3 4И.443.07.000 СБ Траверса 4И.443.07.000 Траверса. Спецификация 4И.443.07.001 Пластина 4И.443.08.000 Щетка. Спецификация 4И.443.08.000 СБ Щетка 4И.443.08.001 Щеткодержатель 4И.443.08.002 Пластина 4И.443.08.010 Щетка. Спецификация 4И.443.08.010 СБ Щетка 4И.443.09.000 Колпак. Спецификация 4И.443.09.000 СБ Колпак 4И.443.09.001 Стенка 4И.443.10.000 Электропроводка. Спецификация 4И.443.10.000 СБ Электропроводка 4И.443.10.010 Провод. Спецификация 4И.443.10.010 СБ Провод 4И.443.10.011 Наконечник 4И.443.10.020 Провод. Спецификация 4И.443.10.020 СБ Провод 4И.443.00.001 Рамка 4И.443.00.002 Ось 4И.443.00.003 Кольцо дистанционное 4И.443.00.004 Валик 4И.443.00.005 Кольцо 4И.443.00.006 Гайка 4И.443.00.007 Кронштейн 4И.443.00.008 Шайба 4И.443.00.009 Кольцо 4И.443.00.011 Панель 4И.443.00.012 Кольцо изолирующее 4И.443.00.013 Винт контактный 4И.443.00.014 Винт 4И.443.00.015 Пружина 4И.443.00.016 Кольцо 4И.443.00.017 Болт откидной 4И.443.00.018 Кольцо установочное 4И.443.00.019 Гайка 4И.443.00.021 Палец 4И.443.00.022 Пробка |
| Разработан: | МосводоканалНИИпроект |
| Утверждён: | 20.12.1983 МосводоканалНИИпроект (312) |






























