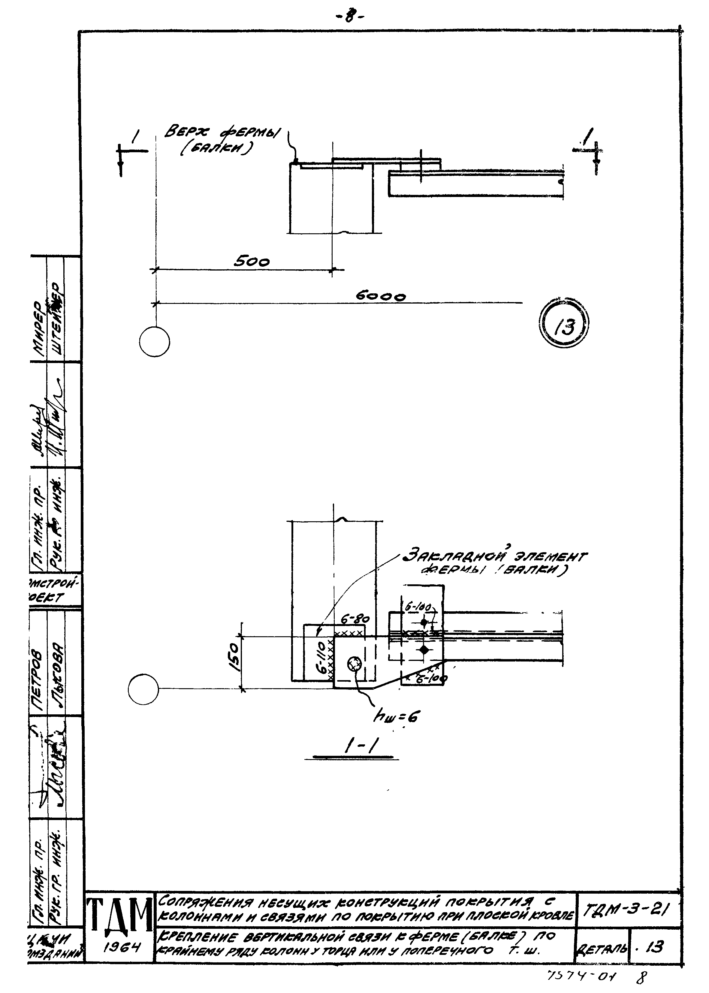
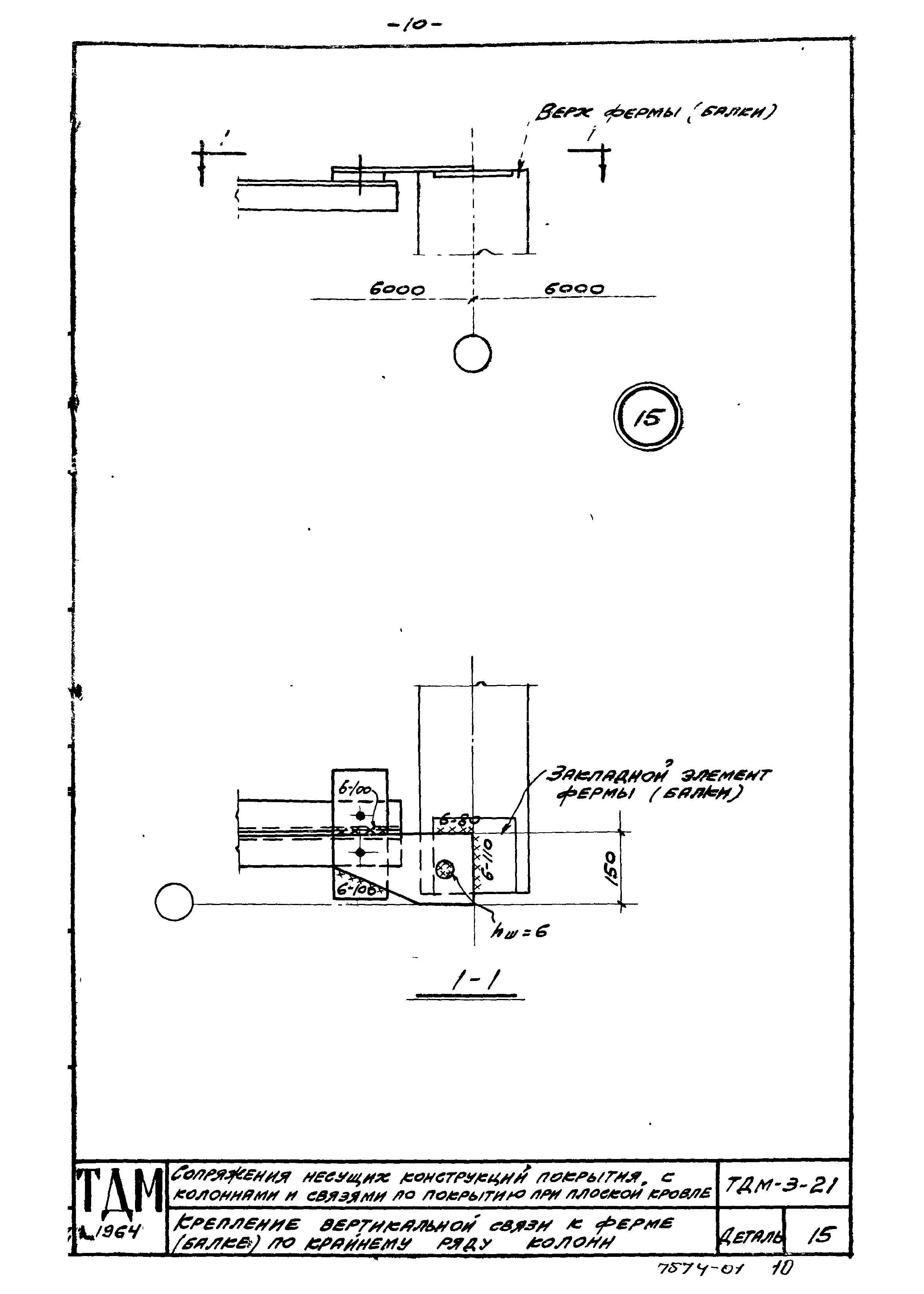
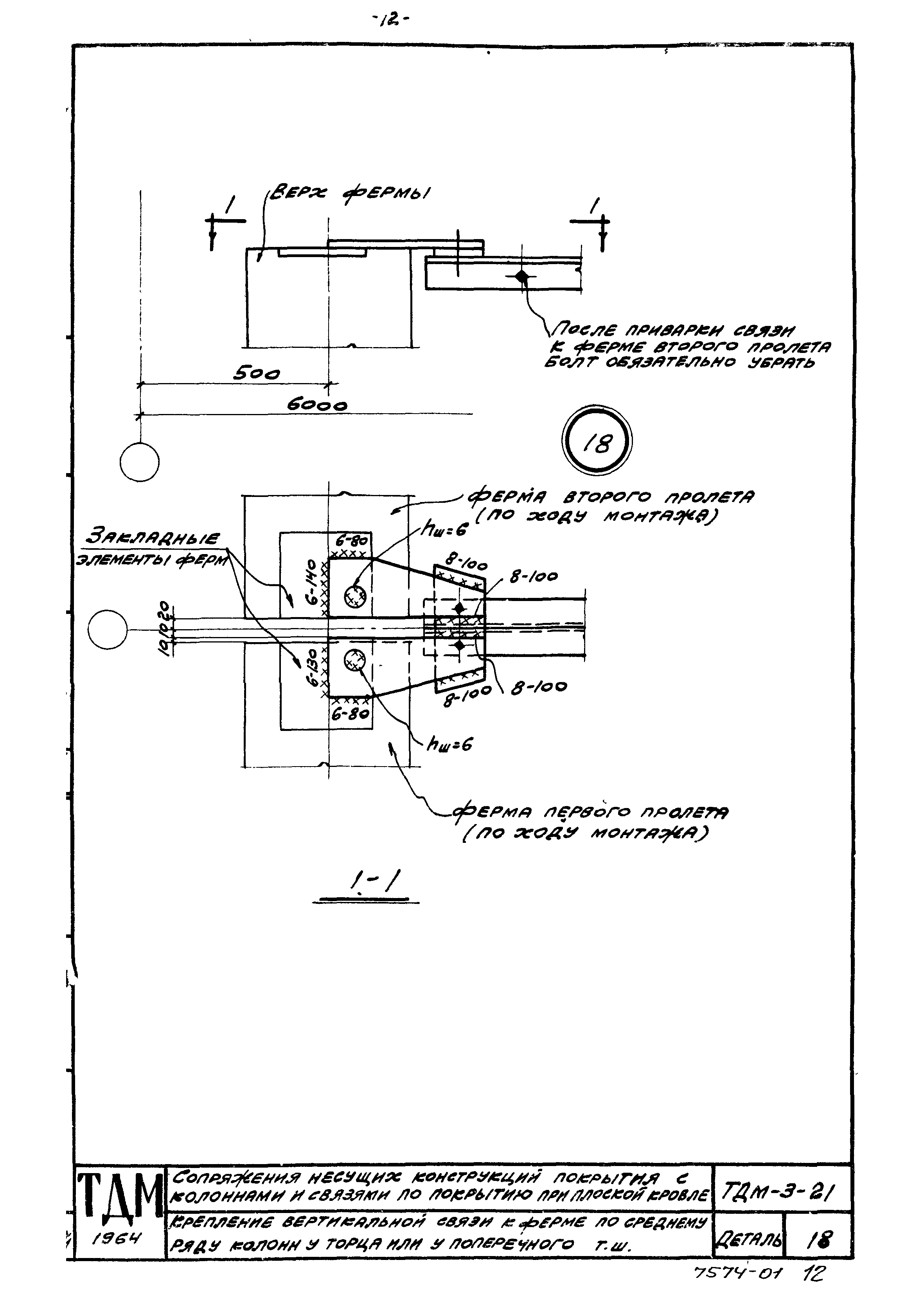
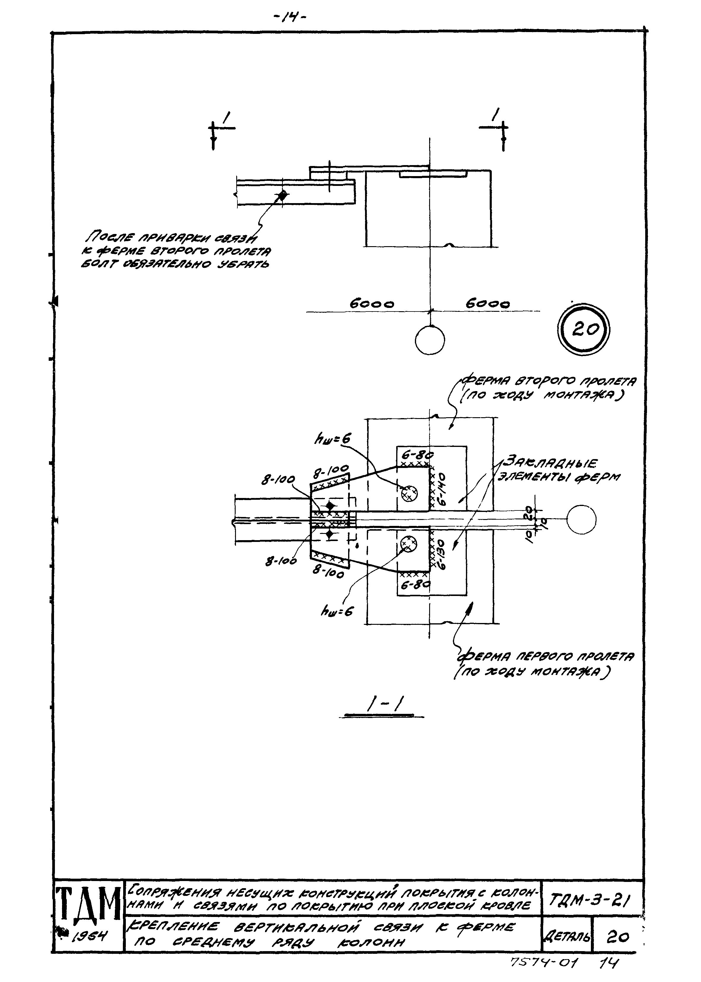
Скачать Серия ТДМ-3-21 Сопряжения несущих конструкций покрытия с колоннами и связями по покрытию при скатной кровле. Детали при шаге стропильных конструкций, крайних и средних колонн 6 мДата актуализации: 01.01.2021 Серия ТДМ-3-21
Сопряжения несущих конструкций покрытия с колоннами и связями по покрытию при скатной кровле. Детали при шаге стропильных конструкций, крайних и средних колонн 6 м| Обозначение: | Серия ТДМ-3-21 | | Обозначение англ: | Series ТДМ-3-21 | | Статус: | действует | | Название рус.: | Сопряжения несущих конструкций покрытия с колоннами и связями по покрытию при скатной кровле. Детали при шаге стропильных конструкций, крайних и средних колонн 6 м | | Дата добавления в базу: | 01.09.2013 | | Дата актуализации: | 01.01.2021 | | Дата введения: | 01.01.1965 | | Разработан: | ЦНИИпромзданий Промстройпроект
| | Утверждён: | 05.11.1964 Госстрой СССР (Государственный комитет Совета Министров СССР по делам строительства) (USSR Gosstroy 194)
|
                   
|