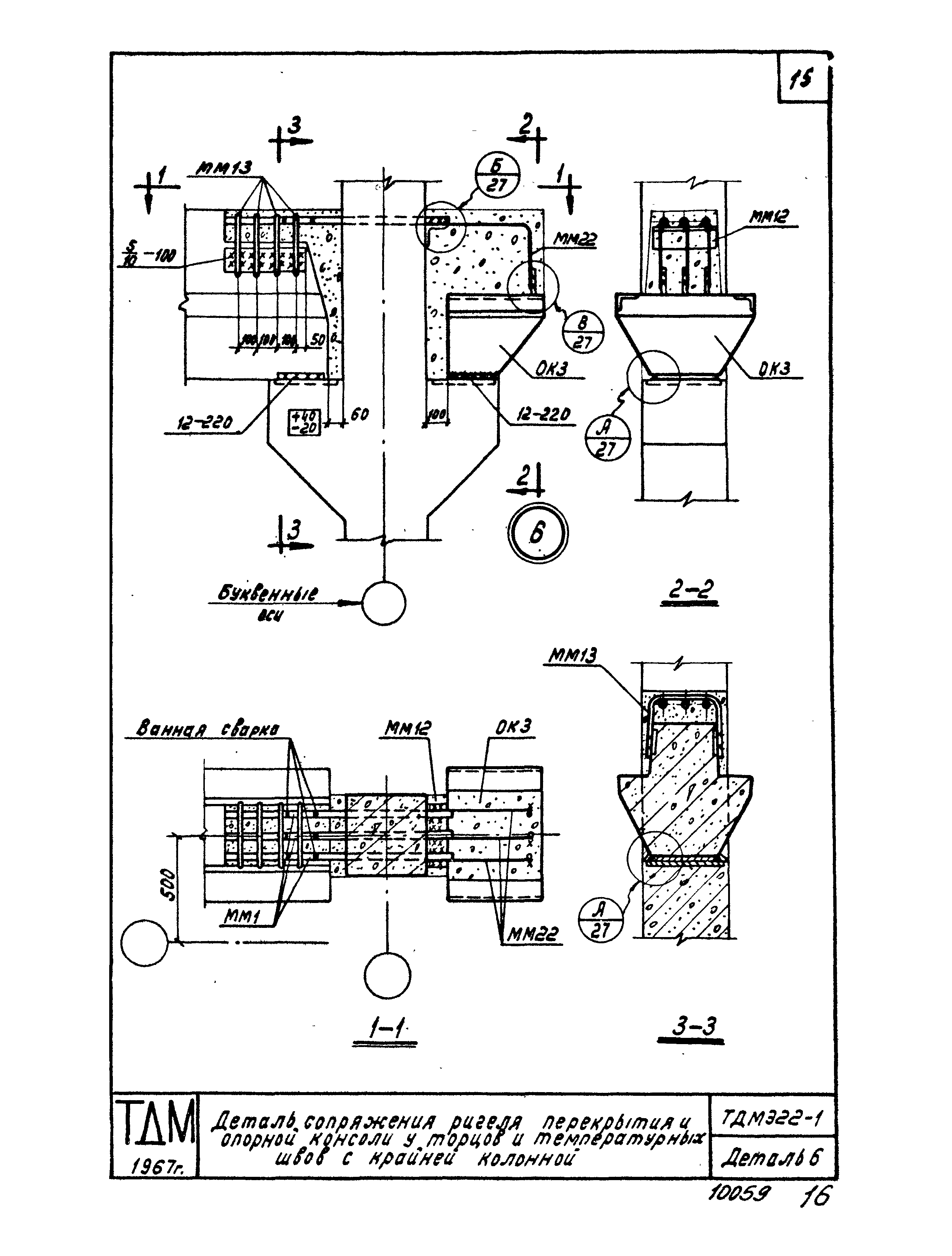
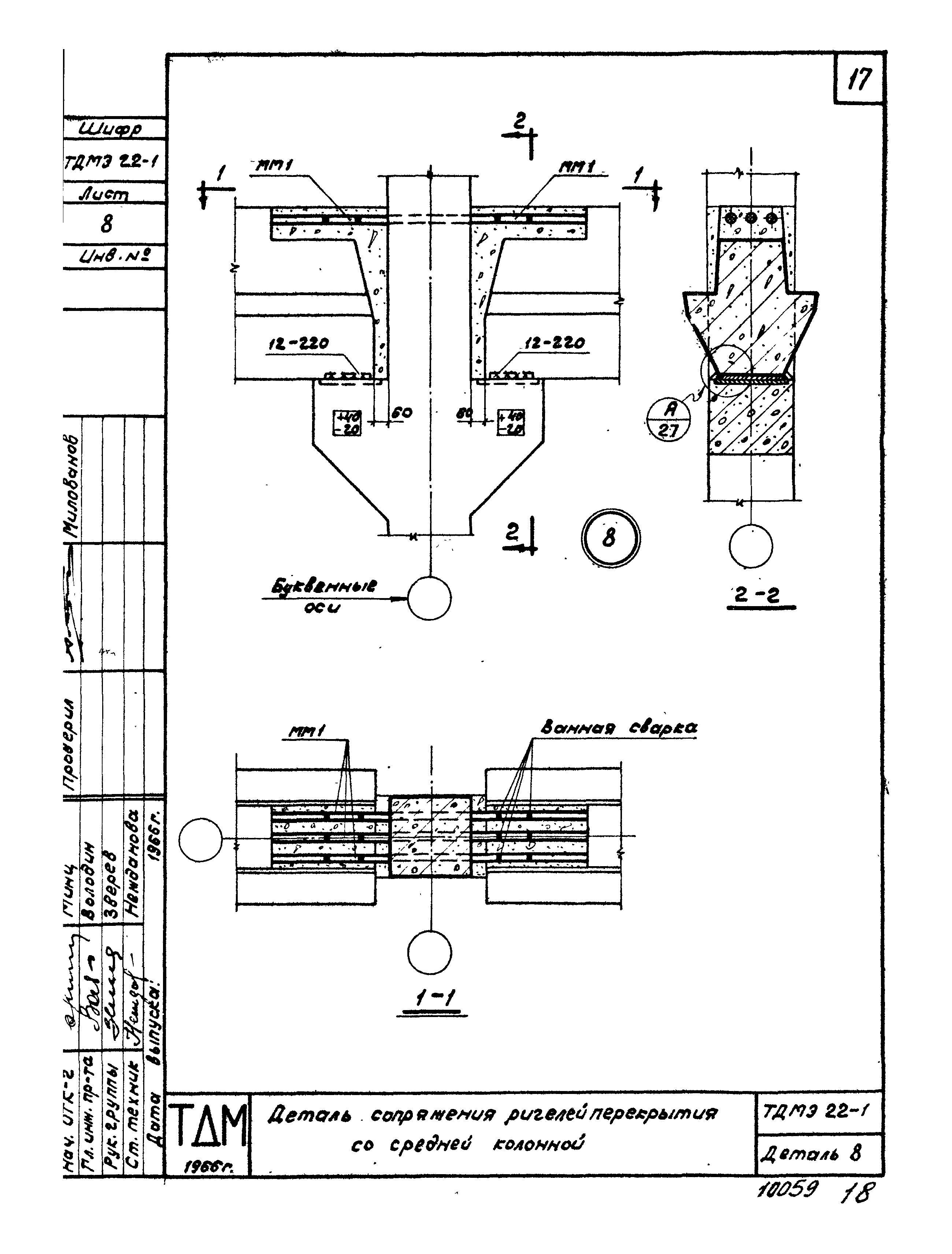
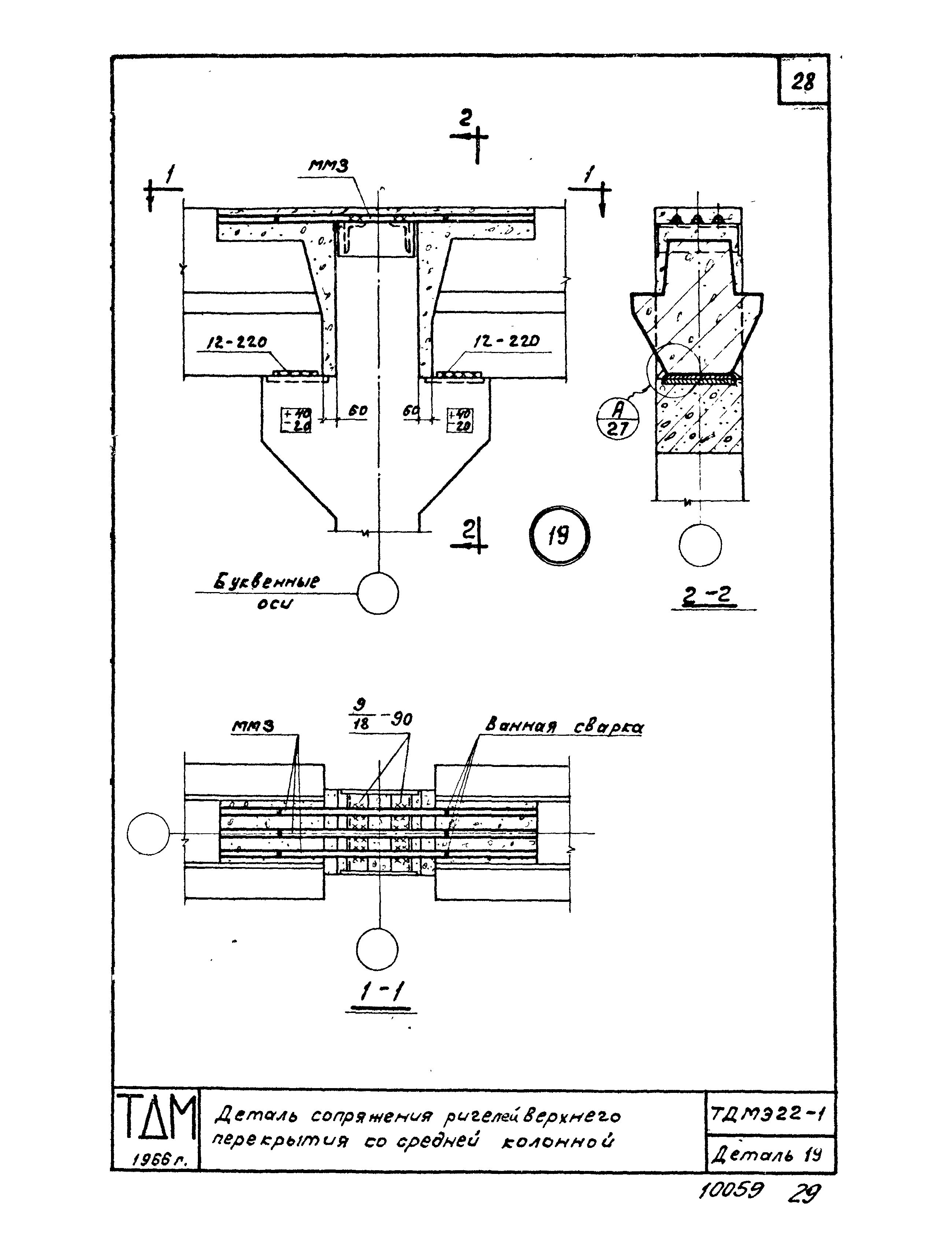
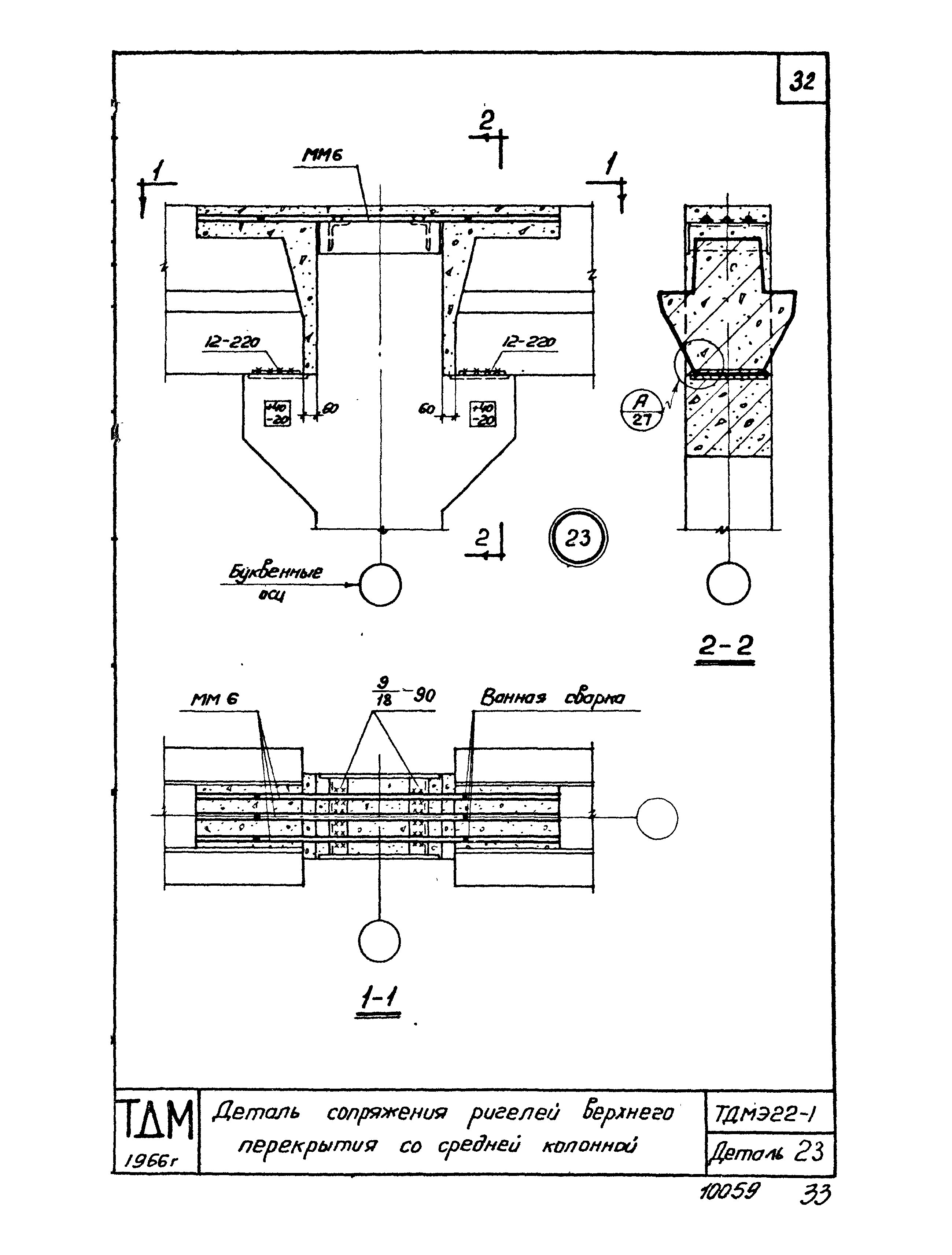
Скачать Серия ТДМЭ22-1 Детали сопряжений конструктивных элементов несущего каркаса для этажерок с перекрытиями типа 1 из плит, опирающихся на полки ригелейДата актуализации: 01.01.2021 Серия ТДМЭ22-1
Детали сопряжений конструктивных элементов несущего каркаса для этажерок с перекрытиями типа 1 из плит, опирающихся на полки ригелей| Обозначение: | Серия ТДМЭ22-1 | | Обозначение англ: | Series ТДМЭ22-1 | | Статус: | не действует | | Название рус.: | Детали сопряжений конструктивных элементов несущего каркаса для этажерок с перекрытиями типа 1 из плит, опирающихся на полки ригелей | | Дата добавления в базу: | 01.09.2013 | | Дата актуализации: | 01.01.2021 | | Дата окончания срока действия: | 01.05.1999 | | Разработан: | ЦНИИпромзданий НИИЖБ
| | Утверждён: | 11.12.1968 Госстрой СССР (Государственный комитет Совета Министров СССР по делам строительства) (USSR Gosstroy 107)
|
                                       
|