Скачать Серия ТДМ24-1/70 Детали сопряжения плит перекрытий типа I, с опиранием на полки ригелейДата актуализации: 01.01.2021
|
| Обозначение: | Серия ТДМ24-1/70 |
| Обозначение англ: | Series ТДМ24-1/70 |
| Статус: | заменен |
| Название рус.: | Детали сопряжения плит перекрытий типа I, с опиранием на полки ригелей |
| Дата добавления в базу: | 01.09.2013 |
| Дата актуализации: | 01.01.2021 |
| Дата введения: | 01.07.1973 |
| Дата окончания срока действия: | 01.03.1979 |
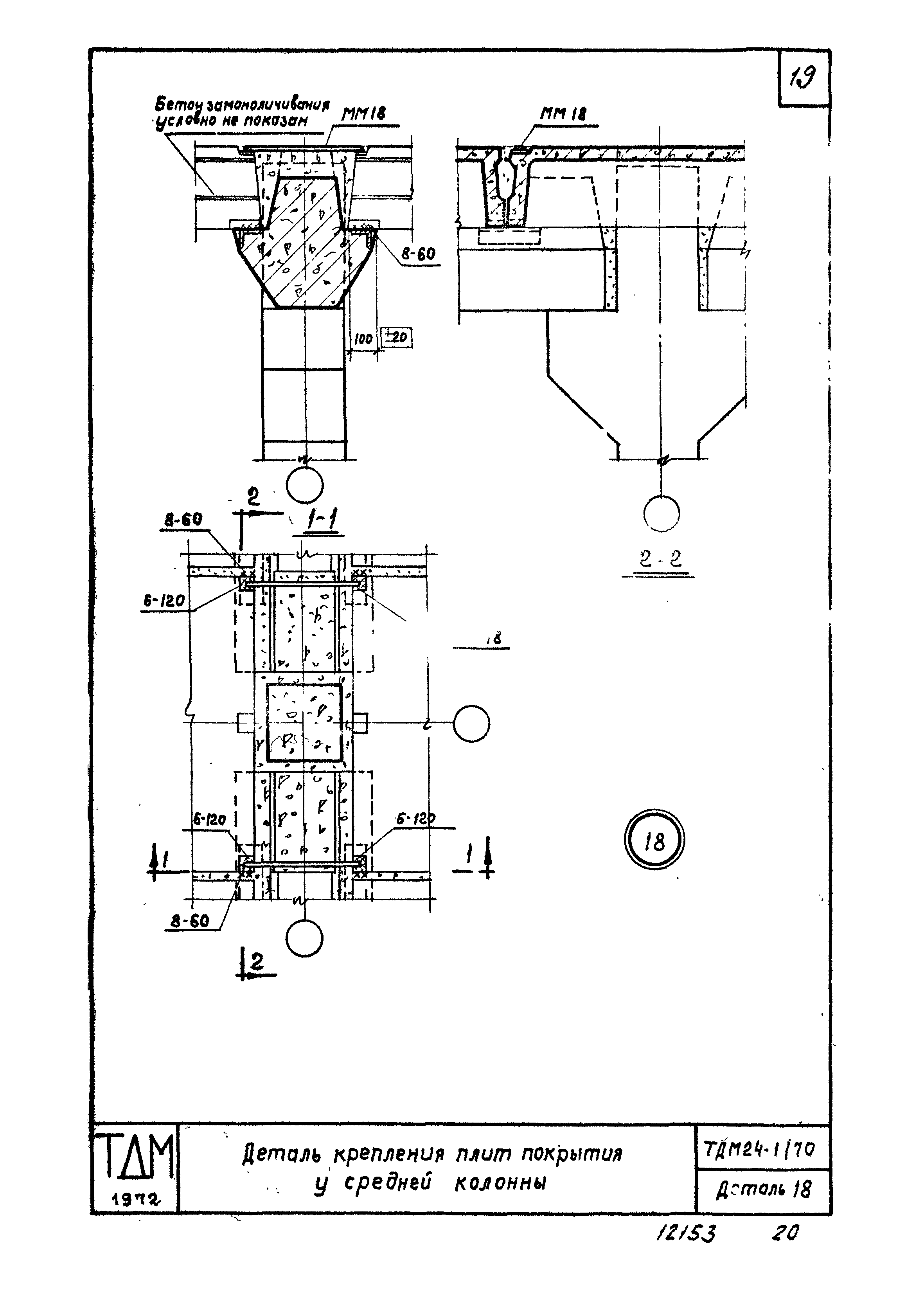
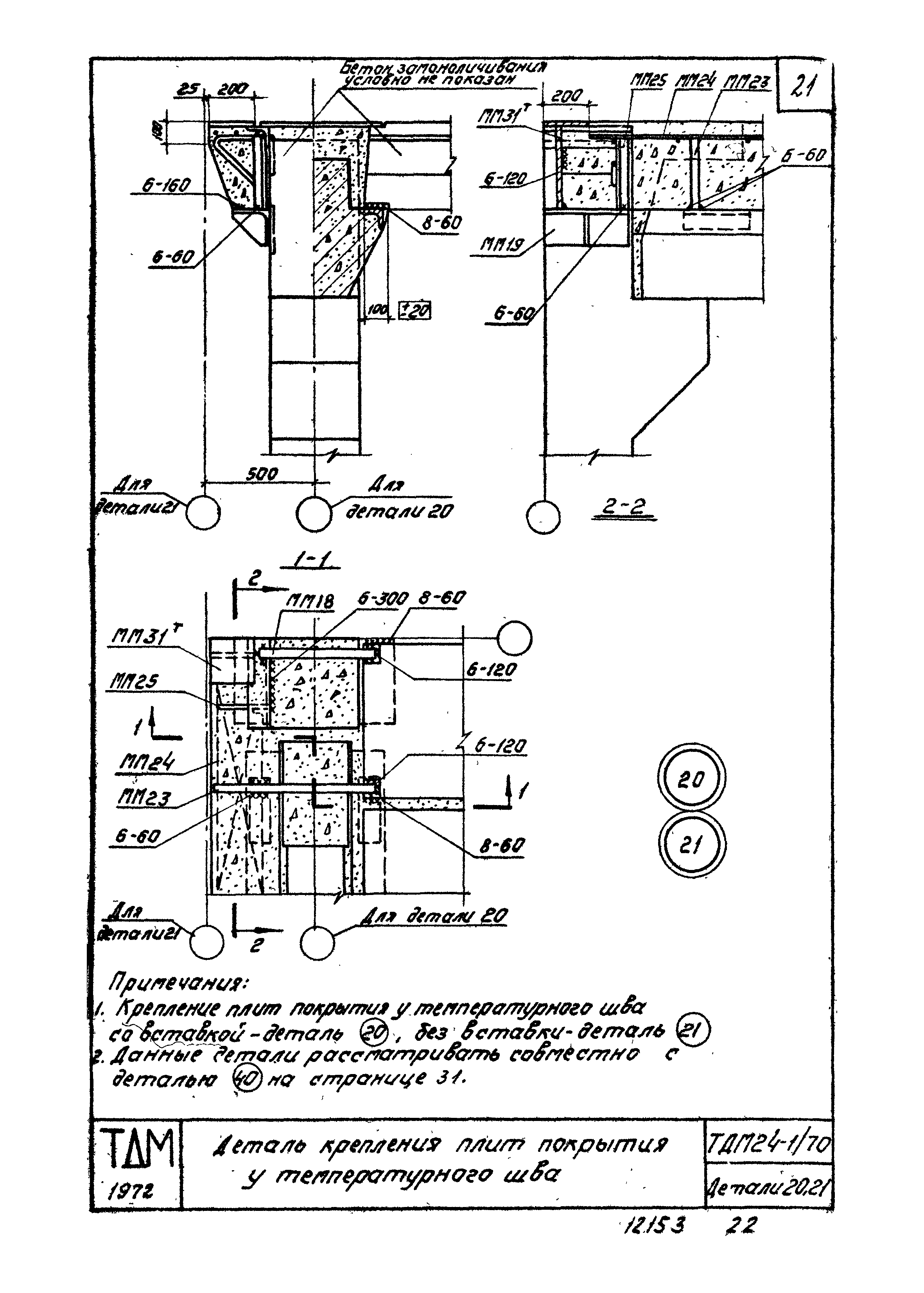
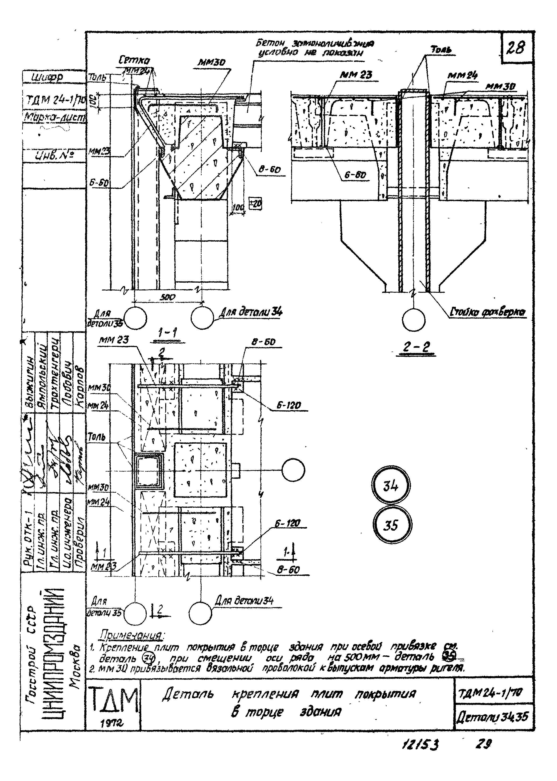
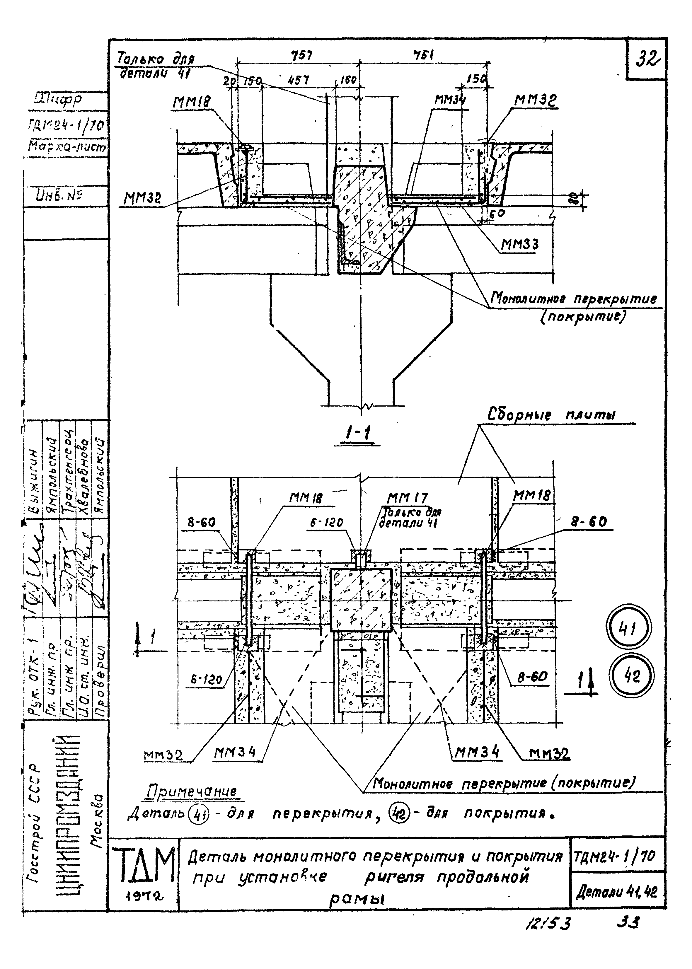
| Оглавление: | Пояснительная записка Деталь 1 Деталь крепления промежуточных плит покрытия и перекрытия к ригелям рядовых рам Деталь 2 Деталь крепления плит перекрытия у средней колонны Деталь 3 Деталь крепления плит перекрытия у крайней колонны Деталь 4 Деталь крепления плит перекрытия у крайней колонны Деталь 5 Деталь крепления плит перекрытия у крайней колонны Деталь 6,7 Деталь крепления плит перекрытия у температурного шва Деталь 8,9 Деталь крепления плит перекрытия у температурного шва Деталь 10,11 Деталь армирования монолитного участка у температурного шва и торца здания в покрытии и перекрытии Деталь 12,13 Деталь крепления плит перекрытия у температурного шва Деталь 14,15 Деталь крепления плит перекрытия у температурного шва Деталь 16,17 Деталь крепления плит перекрытия у температурного шва Деталь 18 Деталь крепления плит покрытия у средней колонны Деталь 19 Деталь крепления плит покрытия у крайней колонны Деталь 20,21 Деталь крепления плит покрытия у температурного шва Деталь 22,23 Деталь крепления плит перекрытия в торце здания Деталь 24,25 Деталь крепления плит перекрытия в торце здания Деталь 26,27 Деталь крепления плит перекрытия в торцах здания с сеткой колонн 9х6 м Деталь 28,29 Деталь крепления плит перекрытия в углах здания Деталь 30,31 Деталь крепления плит перекрытия в углах здания Деталь 32,33 Деталь крепления плит перекрытия в углах здания Деталь 34,35 Деталь крепления плит покрытия в торце здания Деталь 36,37 Деталь крепления плит покрытия в углах здания Деталь 38,39 Деталь крепления плит покрытия в торцах здания с сеткой колонн 9х6 м Деталь 40 Деталь крепления опорных столиков к колонне Деталь 41,42 Деталь монолитного перекрытия и покрытия апри установке ригеля продольной рамы Спецификация марок соединительных элементов на монтажную деталь |
| Разработан: | ЦНИИпромзданий НИИЖБ |
| Утверждён: | 28.11.1972 Госстрой СССР (Государственный комитет Совета Министров СССР по делам строительства) (USSR Gosstroy 203) |



































