Скачать ОСТ 24.897.03-74 Струбцины винтовые. Конструкция и размерыДата актуализации: 01.01.2021
|
| Обозначение: | ОСТ 24.897.03-74 |
| Обозначение англ: | OST 24.897.03-74 |
| Статус: | не действует |
| Название рус.: | Струбцины винтовые. Конструкция и размеры |
| Дата добавления в базу: | 01.09.2013 |
| Дата актуализации: | 01.01.2021 |
| Дата введения: | 01.01.1975 |
| Дата окончания срока действия: | 01.01.1980 |
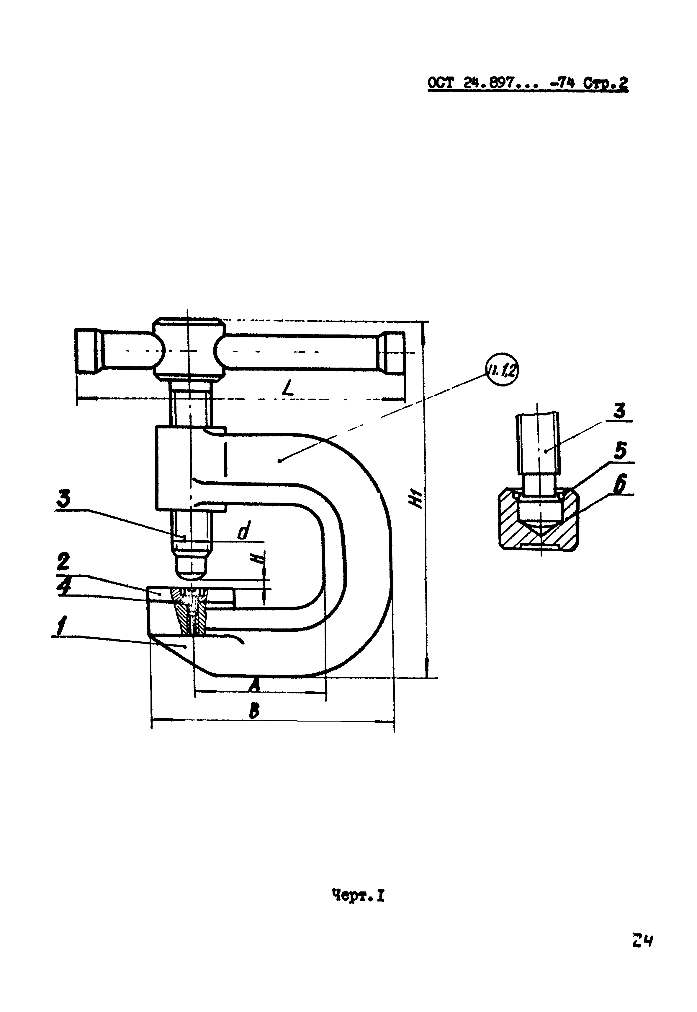
| Оглавление: | 1. Конструкции и размеры струбцин 2. Конструкции и размеры скобы 3. Конструкции и размеры нижней пяты |
| Утверждён: | 01.01.1975 Министерство тяжелого, энергетического и транспортного машиностроения |
| Нормативные ссылки: |









