Скачать ОСТ 107.460092.004.01-86 Платы печатные. Типовые технологические процессы. Часть перваяДата актуализации: 01.01.2021
|
| Обозначение: | ОСТ 107.460092.004.01-86 |
| Обозначение англ: | OST 107.460092.004.01-86 |
| Статус: | не действует |
| Название рус.: | Платы печатные. Типовые технологические процессы. Часть первая |
| Дата добавления в базу: | 01.09.2013 |
| Дата актуализации: | 01.01.2021 |
| Дата введения: | 01.01.1988 |
| Дата окончания срока действия: | 01.01.1993 |
| Область применения: | Стандарт устанавливает типовые технологические процессы изготовления печатных плат)ПП) субтрактивным и полуаддитивным методами (часть первая) и механической обработки (часть вторая). |
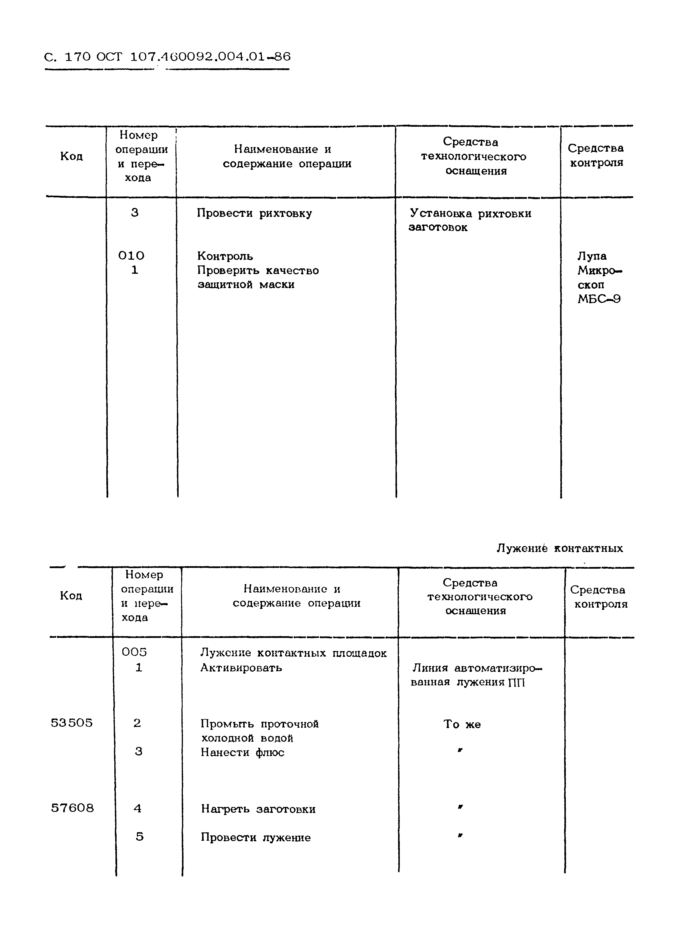
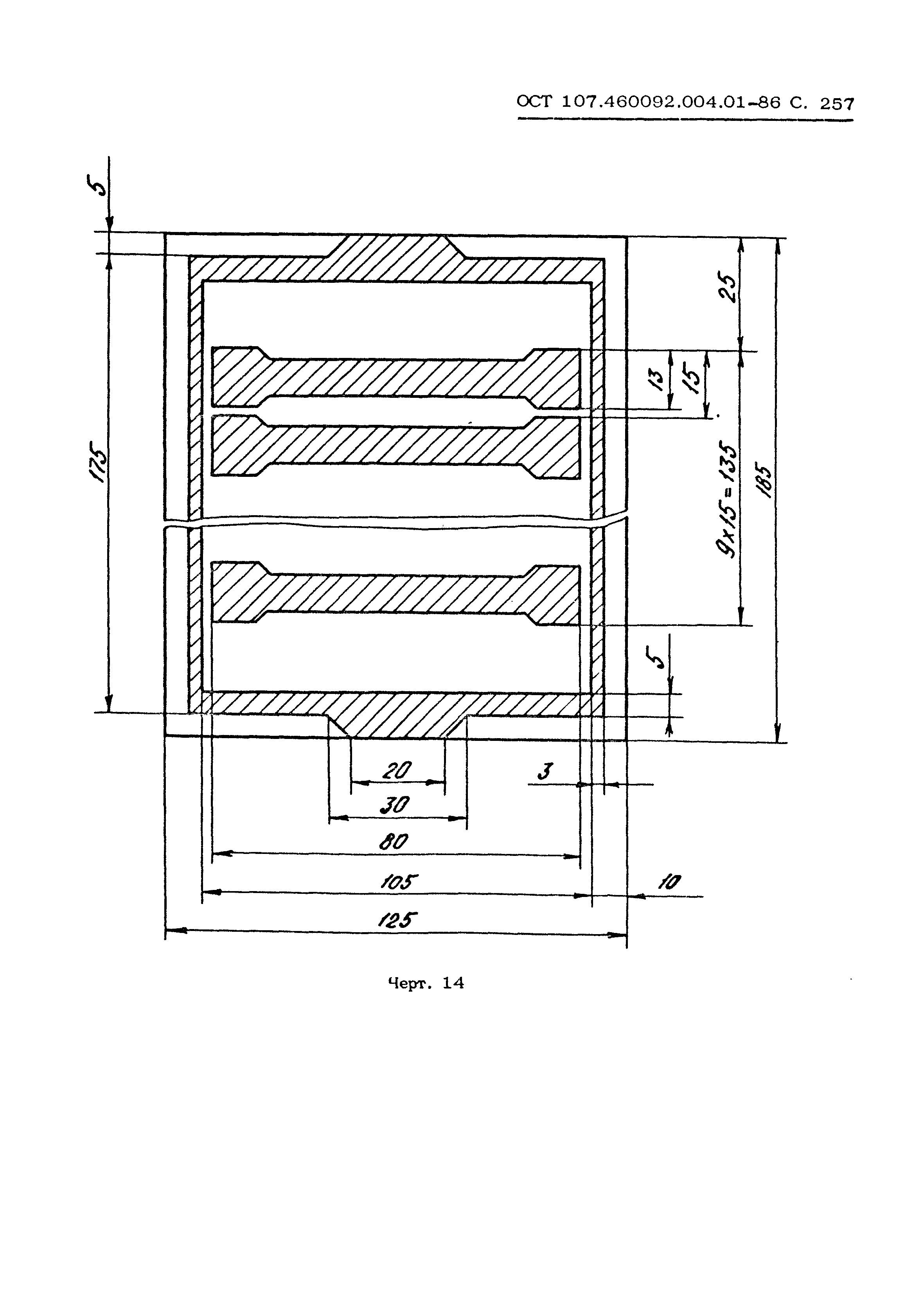
| Оглавление: | 1. Основные положения 2. Технические требования 3. Требования безопасности 4. Охрана природы 4.1 Вредные воздействия на природу 4.2 Меры и средства защиты от воздействия вредных выбросов производства печатных плат 4.3 Требования к рациональному использованию природной среды 4.4 Контроль выбросов хагрязнения веществ в природную среду 5. Типовые технологические процессы 6. Методы контроля 7. Материалы Приложения |
| Утверждён: | 24.12.1986 Организация (017-107/К/2255) |
| Заменяет собой: |
|








































































































































































































































































































