Скачать ГОСТ 23065-78 Зажимы аппаратные прессуемые для открытых распределительных устройств. Технические условияДата актуализации: 01.01.2021
|
| Обозначение: | ГОСТ 23065-78 |
| Обозначение англ: | GOST 23065-78 |
| Статус: | отменен |
| Название рус.: | Зажимы аппаратные прессуемые для открытых распределительных устройств. Технические условия |
| Название англ.: | Compression terminal clamps for outdoor switchgear installations. Specifications |
| Дата добавления в базу: | 01.09.2013 |
| Дата актуализации: | 01.01.2021 |
| Дата введения: | 01.01.1980 |
| Дата окончания срока действия: | 01.01.1990 |
| Область применения: | Стандарт распространяется на аппаратные прессуемые зажимы, предназначенные для присоединения алюминиевых, алюминиевых полых и сталеалюминиевых проводов к выводам аппаратов для присоединения спусков к ответвительным зажимам, а также соединения между собой проводов в петлях распредели- тельных устройств. |
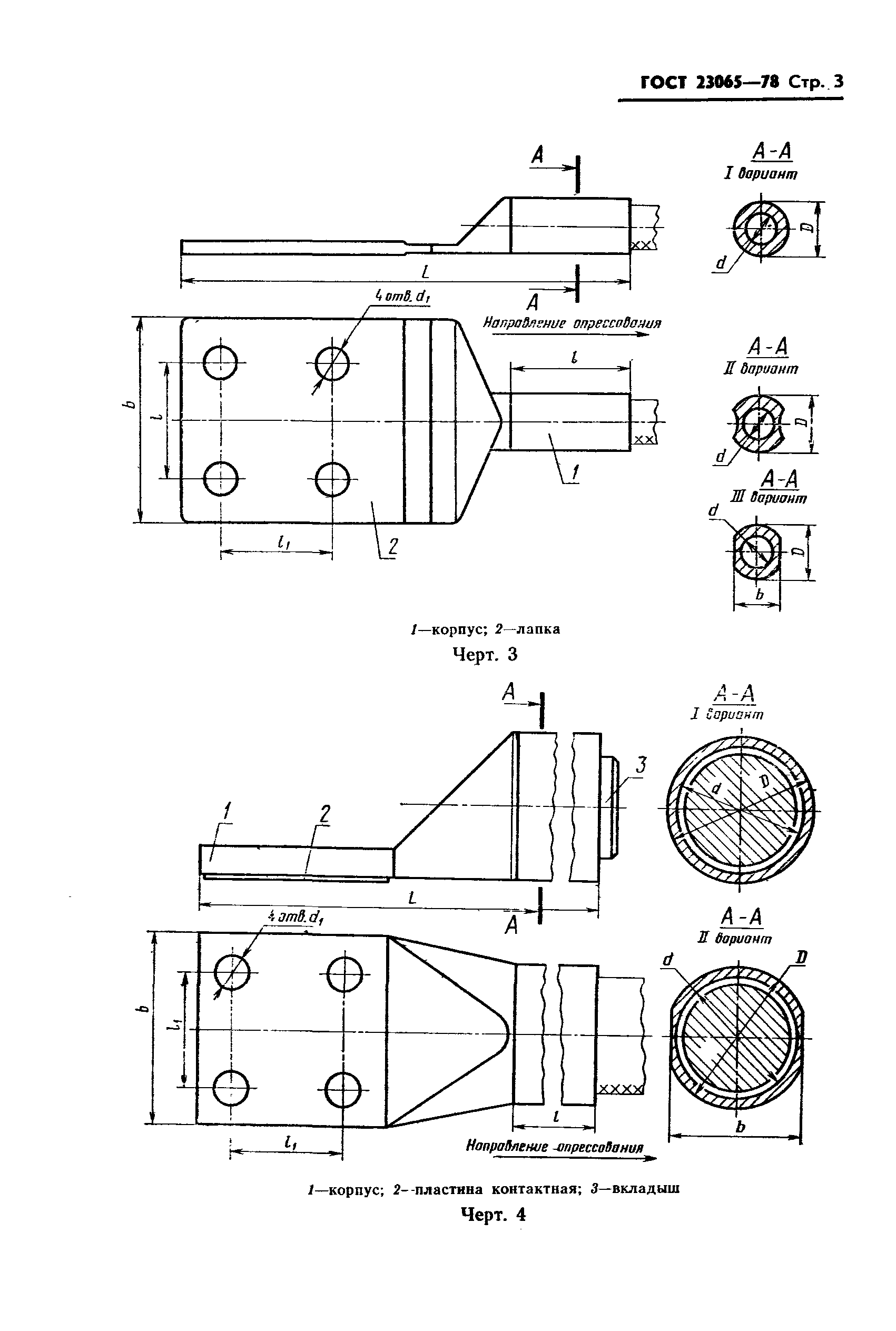
| Оглавление: | 1 Типы, основные параметры и размеры 2 Технические требования 3 Правила приемки 4 Методы испытаний 5 Маркировка, упаковка, транспортирование и хранение 6 Гарантии изготовителя Приложение Расчетная масса аппаратных прессуемых зажимов |
| Утверждён: | 25.04.1978 Государственный комитет стандартов Совета Министров СССР (USSR National Committee on Standards at the Cabinet of Ministers 1085) |
| Издан: | Издательство стандартов (1982 г. ) |
| Заменяет собой: |
|
| Нормативные ссылки: |










