Скачать СТО 70238424.27.040.012-2009 Турбина паровая К-160-130 ХТГЗ. Технические условия на капитальный ремонт. Нормы и требованияДата актуализации: 01.01.2021
|
| Обозначение: | СТО 70238424.27.040.012-2009 |
| Обозначение англ: | STO 70238424.27.040.012-2009 |
| Статус: | проект |
| Название рус.: | Турбина паровая К-160-130 ХТГЗ. Технические условия на капитальный ремонт. Нормы и требования |
| Дата добавления в базу: | 01.10.2014 |
| Дата актуализации: | 01.01.2021 |
| Область применения: | Стандарт распространяется на капитальный ремонт турбины паровой К-160-130 ХТГЗ. Предназначен для применения генерирующими компаниями, эксплуатирующими организациями на тепловых электростанциях, ремонтными и иными организациями, осуществляющими ремонтное обслуживание оборудования электростанций. |
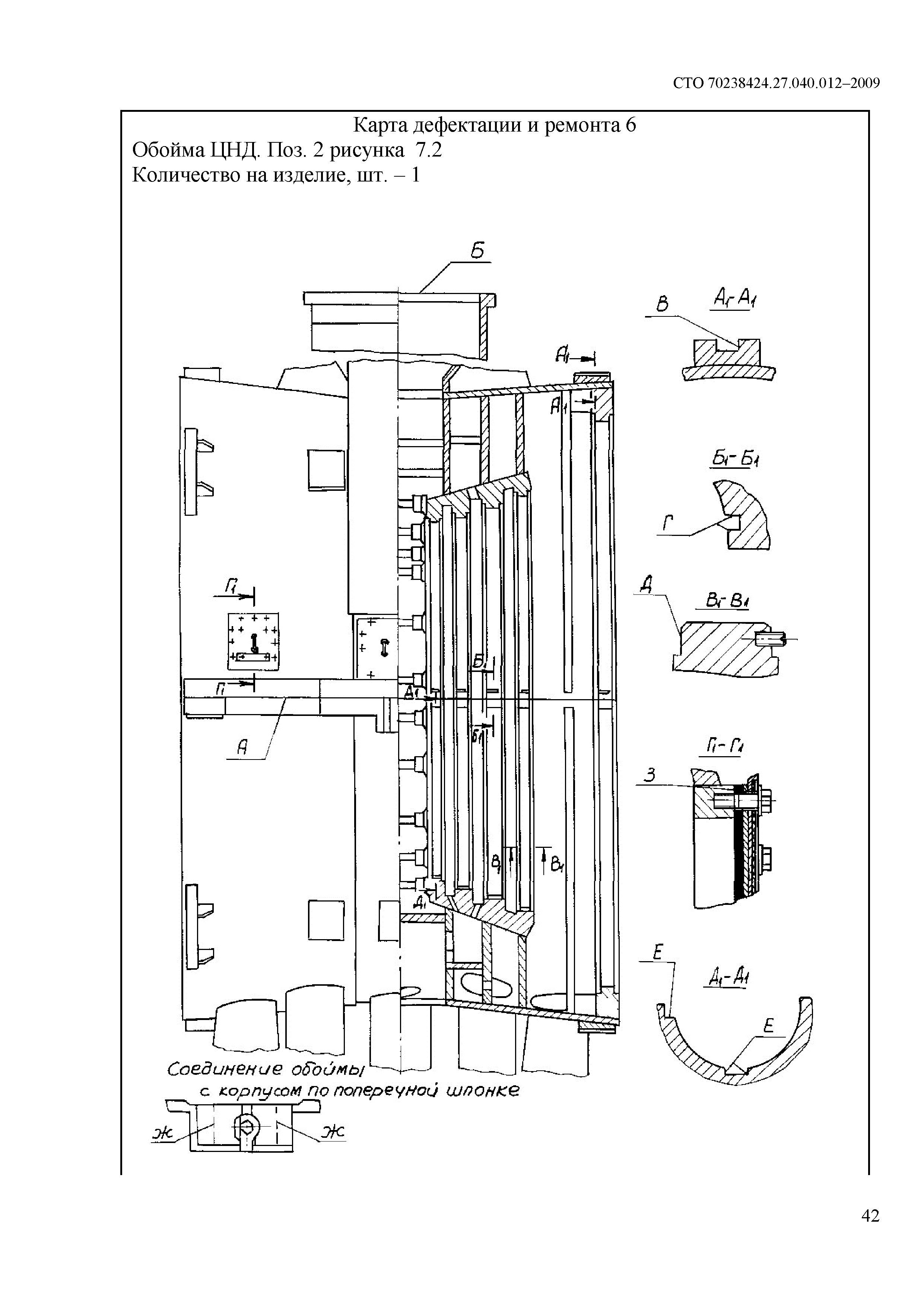
| Оглавление: | 1 Область применения . 2 Нормативные ссылки 3 Термины, определения, обозначения и сокращения 4 Общие положения 5 Общие технические сведения 6 Общие технические требования 7 Требования к составным частям 7.1 Корпусные части цилиндра ВД. (карты 1, 3 - 5, 7, 8, 11, 12, 15) 7.2 Корпусные части цилиндра НД (карты 2, 6, 7, 9, 10 - 15) 7.3 Роторы ВД (Карта 16) 7.4 Роторы НД (Карта 16) 7.5 Подшипник передний № 1 (карты 17, 19, 21 - 26) 7.6 Опорный подшипник (карты 17, 18, 20, 26) 7.7 Валоповоротное устройство 7.8 Цилиндр ВД (Карта28) 7.9 Цилиндр НД (Карта 28) 7.10 Насос главный масляный (Карты 29, 30) 7.11 Муфта "насос-РВД" 7.12 Блок регуляторов (карты 32 - 3 6, 38) 7.13 Электропривод (карты 33 - 35) 7.14 Блок отсечных золотников (карты 32, 34, 37, 38) 7.15 Ограничитель мощности (карты 32 - 35, 38) 7.16 Блок золотников защиты (карты 32, 34, 37, 38) 7.17 Регулятор безопасности (карты 34, 35, 39) 7.18 Указатель срабатывания регулятора безопасности (карты 34, 35, 40) 7.19 Сервомотор стопорного клапана с выктаочателем (карты 34, 35, 41 - 43) 7.20 Сервомотор регулирующих клапанов (карты 34, 36, 37, 42, 43) 7.21 Блок сервомоторов промперегрева с выключателем (карты 34, 35, 37, 41 - 43) 7.22 Распределительное устройство (карты 33 - 36, 44 - 46) 7.23 Клапан стопорный (карты 45 - 48) 7.24 Клапан регулирующий (карты 45, 46, 48) 7.25 Блок клапанов промперегрева (карты 45 - 48) 8 Требования к сборке и к отремонтированному изделию 9 Испытания и показатели качества отремонтированной турбины 10 Требования к обеспечению безопасности 11 Оценка соответствия Приложение А (обязательное). Материалы основных составных частей и их материалы-заменители Приложение Б (обязательное). Нормы зазоров (натягов) Приложение В (рекомендуемое). Перечень средств измерений Библиография |
| Разработан: | ЗАО ЦКБ Энергоремонт |
| Утверждён: | НП ИНВЭЛ |
| Нормативные ссылки: |





















































































































































































































































