Скачать СТО 70238424.27.040.015-2009 Турбина паровая Т-180/210-130 ЛМЗ. Технические условия на капитальный ремонт. Нормы и требованияДата актуализации: 01.01.2021
|
| Обозначение: | СТО 70238424.27.040.015-2009 |
| Обозначение англ: | STO 70238424.27.040.015-2009 |
| Статус: | проект |
| Название рус.: | Турбина паровая Т-180/210-130 ЛМЗ. Технические условия на капитальный ремонт. Нормы и требования |
| Дата добавления в базу: | 01.10.2014 |
| Дата актуализации: | 01.01.2021 |
| Область применения: | Стандарт устанавливает технические требования к ремонту турбин паровых Т-180/210-130-1 и Т-180/215-130-2 ЛМЗ, направленные на обеспечение промышленной безопасности тепловых электрических станций, повышение качества ремонта, надежности эксплуатации энергетического оборудования и предотвращение аварий. |
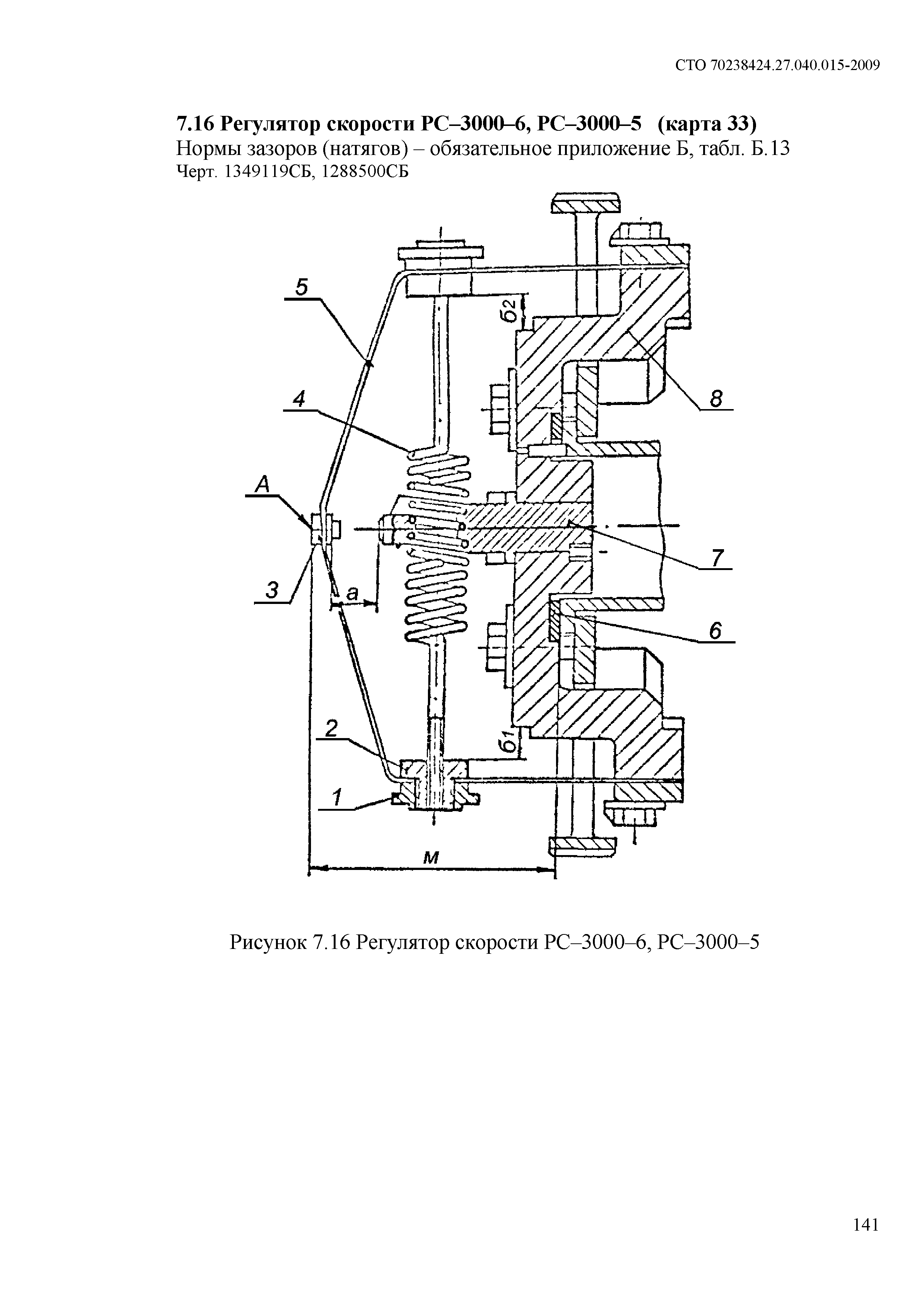
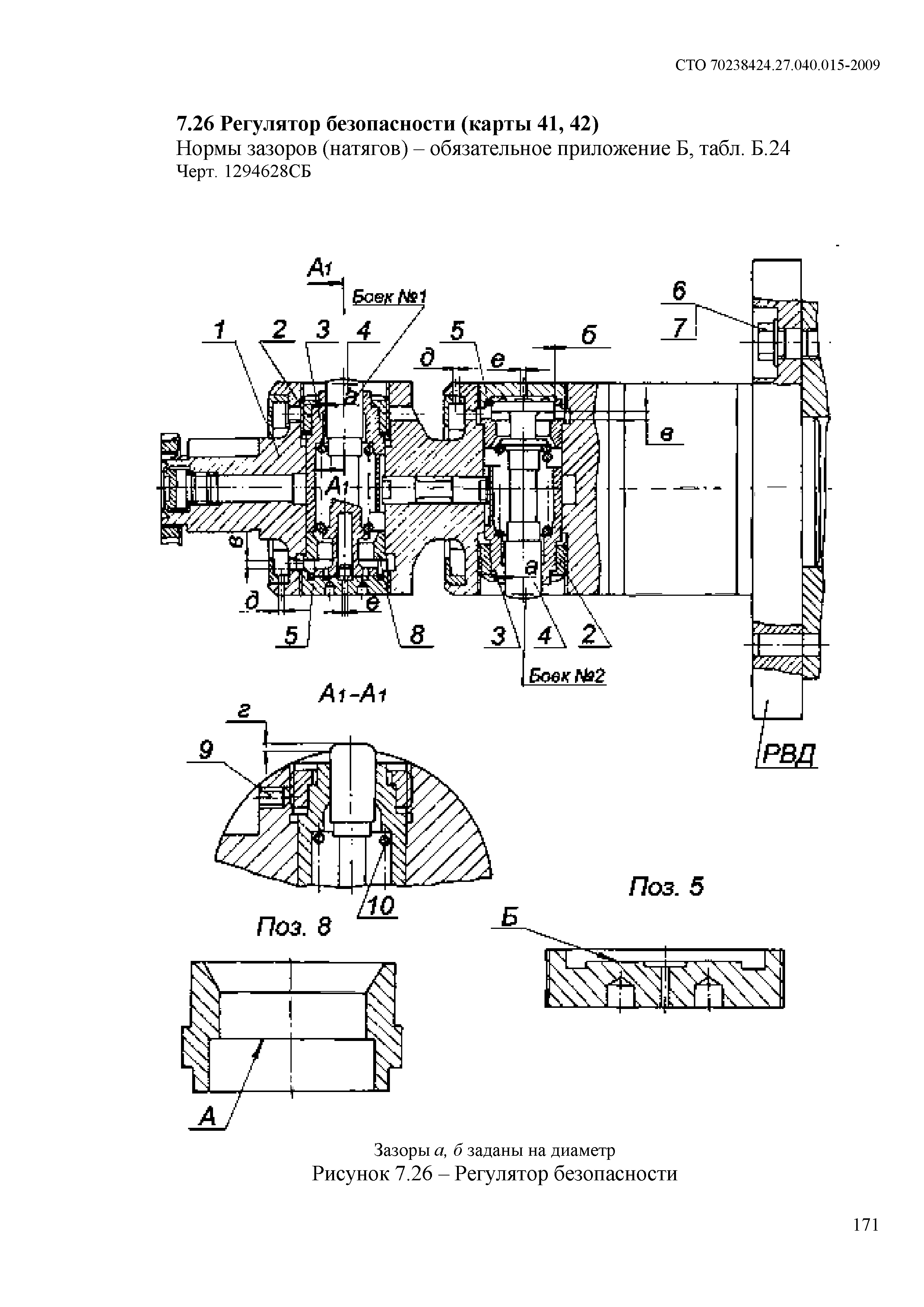
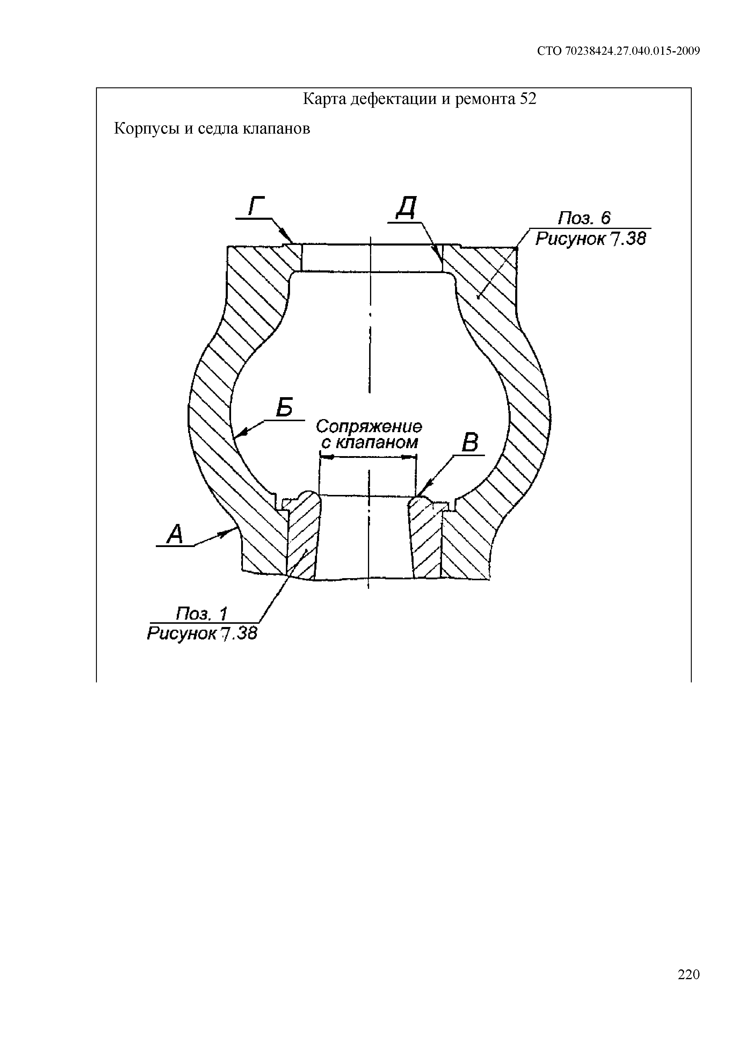
| Оглавление: | 1 Область применения 2 Нормативные ссылки 3 Термины, определения, обозначения и сокращения 4 Общие положения 5 Общие технические сведения 6 Общие технические требования 7. Требования к составным частям 7.1 Корпусные части цилиндра ВД (карты 1, 4, 5, 7, 9 - 11, 14, 15) 7.2 Корпусные части цилиндра СД (карты 1, 4, 5, 7, 9 - 11, 13, 14, 15) 7.3 Корпусные части цилиндра НД (карты 2 - 8, 10 - 15) 7.4 Ротор ВД (Карта 16) 7.5 Ротор СД (Карта 16) 7.6 Ротор НД (Карта 16) 7.7 Передний подшипник (Карты 14, 17, 18, 23, 24, 27) 7.8 Средний подшипник (Карты 14, 17, 19 - 27) 7.9 Подшипники ЦНД (Карты 14, 17, 18, 23 - 25, 27) 7.10 Валоповоротное устройство (карта 28) 7.11 Цилиндр ВД (карта 29) 7.12 Цилиндр СД (карта 29) 7.13 Цилиндр НД (карта 29) 7.14 Насос масляный (карты 30, 31) 7.15 Муфта зубчатая "Насос-РВД" (карта 32) 7.16 Регулятор скорости РС-3000-6, РС-3000-5 (карта 33) 7.17 Привод к тахогенератору (карта 34) 7.18 Регулятор давления (карты 14, 36 - 39) 7.19 Блок золотников регулятора скорости (карты 14, 36 - 39) 7.20 Золотники регулятора безопасности (карты 14, 35, 37, 39) 7.21 Суммирующие золотники (карты 14, 35, 39) 7.22 Дифференциатор (карты 14, 35, 39) 7.23 Золотники электрогидравлического преобразователя (карты 14, 35, 39) 7.24 Электромагнитный выключатель (карта 40) 7.25 Выключатель клапана отбора электромагнитный (карта 40) 7.26 Регулятор безопасности (карты 41, 42) 7.27 Рычаги регулятора безопасности (карта 43) 7.28 Указатели бойков регулятора безопасности (карта 43) 7.29 Сервомотор автозатворов свежего пара (карты 44 - 47) 7.30 Сервомотор автоматического затвора ЦСД (карты 44 - 47) 7.31 Сервомотор регулирующих клапанов ЦВД - ЦСД (карты 44 - 47) 7.32 Сервомотор поворотных диафрагм ЦНД (карты 44 - 47) 7.33 Колонки и рычаги регулирующих клапанов ЦВД и ЦСД (карта 48) 7.34 Кулачковые распределительные устройства ЦВД и ЦСД (карта 49) 7.35 Рычаги от сервомотора к регулирующим диафрагмам (карта 50) 7.36 Клапан автоматического затвора ЦВД (карты 51 - 55) 7.37 Клапан автоматического затвора ЦСД с коробкой (карты 51 - 55) 7.38 Клапан регулирующий ЦВД № 2 (карты 51 - 53, 55) 7.39 Клапаны регулирующие № 1, № 3, № 4 ЦВД (карты 51 - 53, 55) 7.40 Клапан регулирующий ЦСД верхний (карты 51 - 53, 55) 7.41 Клапан регулирующий ЦСД боковой (карты 51 - 53, 55) 8 Требования к сборке и к отремонтированному изделию 9 Испытания и показатели качества отремонтированной турбины 10 Требования к обеспечению безопасности 11 Оценка соответствия Приложение А (обязательное). Таблица по замене материалов Приложение Б (обязательное). Нормы зазоров и натягов Приложение В (рекомендуемое). Перечень средств измерений Приложение Г (обязательное). Замена бандажей без разлопачивания ступени турбины Приложение Д (обязательное). О допустимости увеличения отверстий под болты в соединительных муфтах турбоагрегатов при ремонтах валопроводов Приложение Е (обязательное). Контроль травлением металла лопаток из хромистых сталей паровых турбин Приложение Ж (обязательное). Ремонт и замена регулятора скорости на электростанциях Приложение И (обязательное). Устранение ослабления посадки седел стопорных и регулирующих клапанов п/турбин высокого давления Приложение К (обязательное). Наладка дистанционного управления турбин типа К-50-90, К-100-90, ПТ-60-90/130, Р-50-130 и К-200-130 Библиография |
| Утверждён: | НП ИНВЭЛ |
| Нормативные ссылки: |































































































































































































































































































































































