Скачать РД 31.52.16-85 Технические измерения на основе лазерного визирования при изготовлении, монтаже и ремонте судовых устройств и конструкций. Основные положенияДата актуализации: 01.01.2021
|
| Обозначение: | РД 31.52.16-85 |
| Обозначение англ: | RD 31.52.16-85 |
| Статус: | введен впервые |
| Название рус.: | Технические измерения на основе лазерного визирования при изготовлении, монтаже и ремонте судовых устройств и конструкций. Основные положения |
| Дата добавления в базу: | 01.01.2018 |
| Дата актуализации: | 01.01.2021 |
| Дата введения: | 01.07.1985 |
| Область применения: | Руководящий документ устанавливает методы измерений отклонений от плоскостности, параллельности, соосности, перпендикулярности и других искажений формы значительных по размерам деталей и сборочных единиц судовых устройств и конструкций: палуб, бортов, переборок комингсов люков, фундаментов, конструкций ДВС, гребного, рулевого и других устройств. |
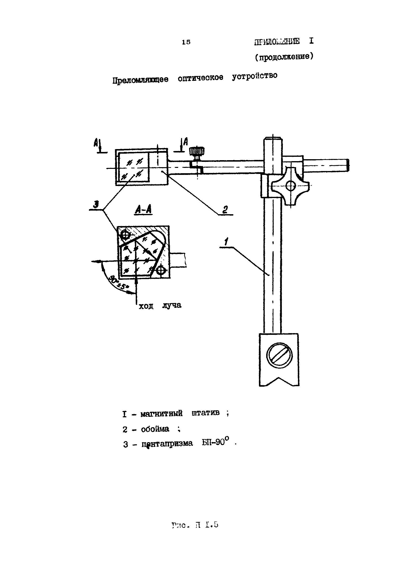
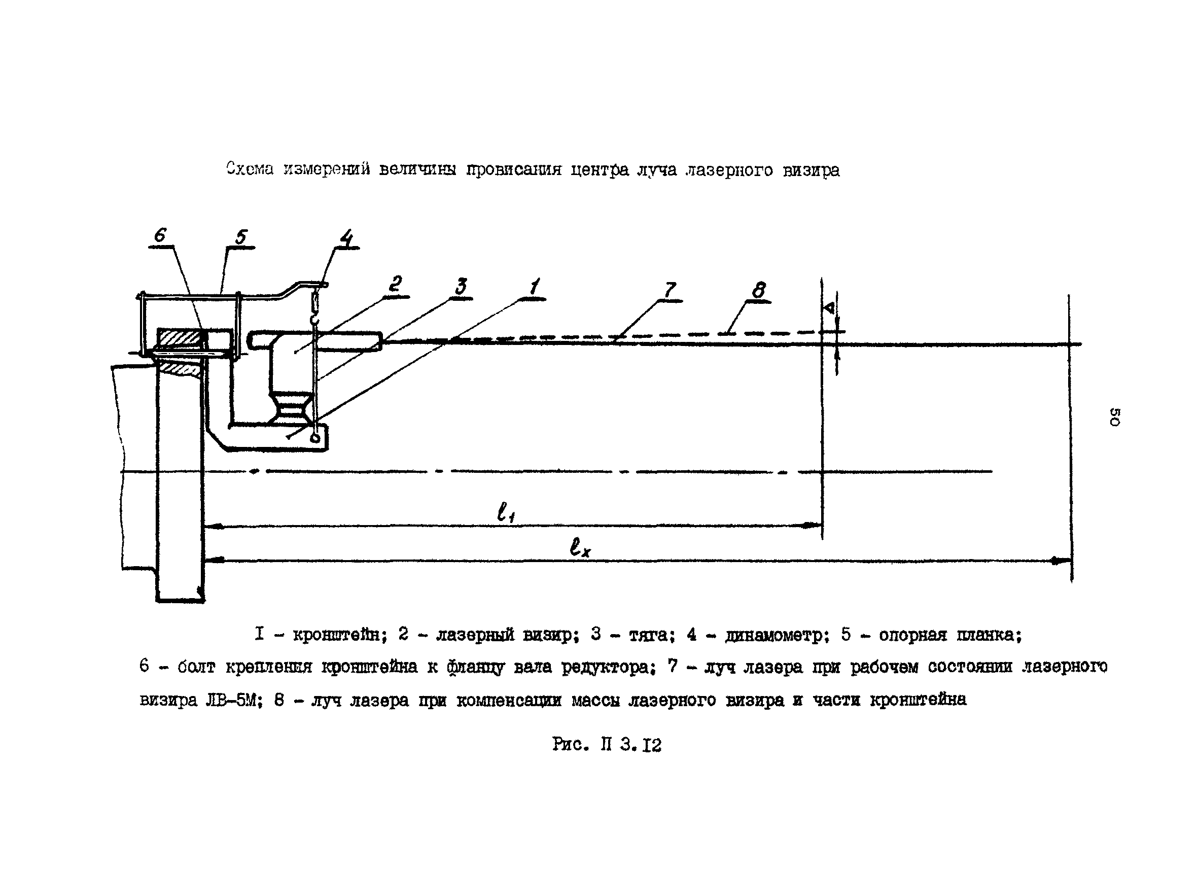
| Оглавление: | 1. Общие технические условия 2. Измерения отклонений от плоскостности поверхностей изделий 3. Измерения отклонений от прямолинейности и сооснооти поверхностей изделий 4. Измерения отклонений от перпендикулярности поверхностей, осей и линий изделий 5. Требования безопасности Приложение 1. Перечень оборудования, приспособлений и инструмента Приложение 2. Установка лазерного луча перпендикулярно вертикальной оси вращения визира Приложение 3. Примеры технологических инструкций на выполнение работ с применением технических измерений на основе лазерного визирования |
| Разработан: | ОИИМФ Минморфлота СССР ЗАО ЦНИИМФ |
| Утверждён: | В/О Мортехсудоремпром |
| Принят: | Черноморское Центральное проектно-конструкторское бюро (ЧЦПКБ) |
| Нормативные ссылки: |







































































