Скачать ОСТ 108.819.02-76 Барабаны паровых стационарных котлов. Затворы лазовыеДата актуализации: 01.01.2021
|
| Обозначение: | ОСТ 108.819.02-76 |
| Обозначение англ: | OST 108.819.02-76 |
| Статус: | не действует |
| Название рус.: | Барабаны паровых стационарных котлов. Затворы лазовые |
| Дата добавления в базу: | 01.09.2013 |
| Дата актуализации: | 01.01.2021 |
| Дата введения: | 01.01.1977 |
| Дата окончания срока действия: | 01.01.1982 |
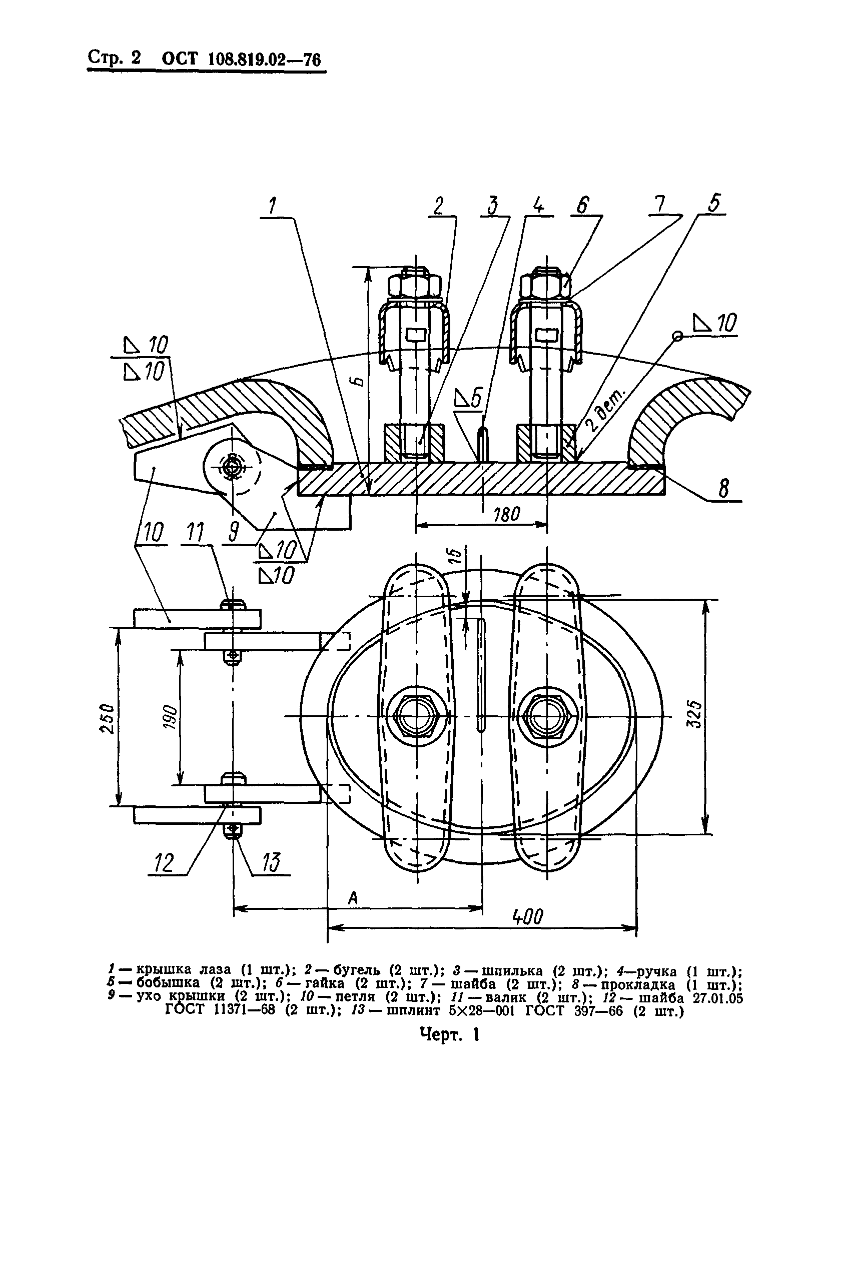
| Область применения: | Стандарт распространяется на лазовые затворы, устанавливаемые в днище и на цилиндрической части барабанов паровых стационарных котлов с давлением пара 24 и 40 кгс/см2. |
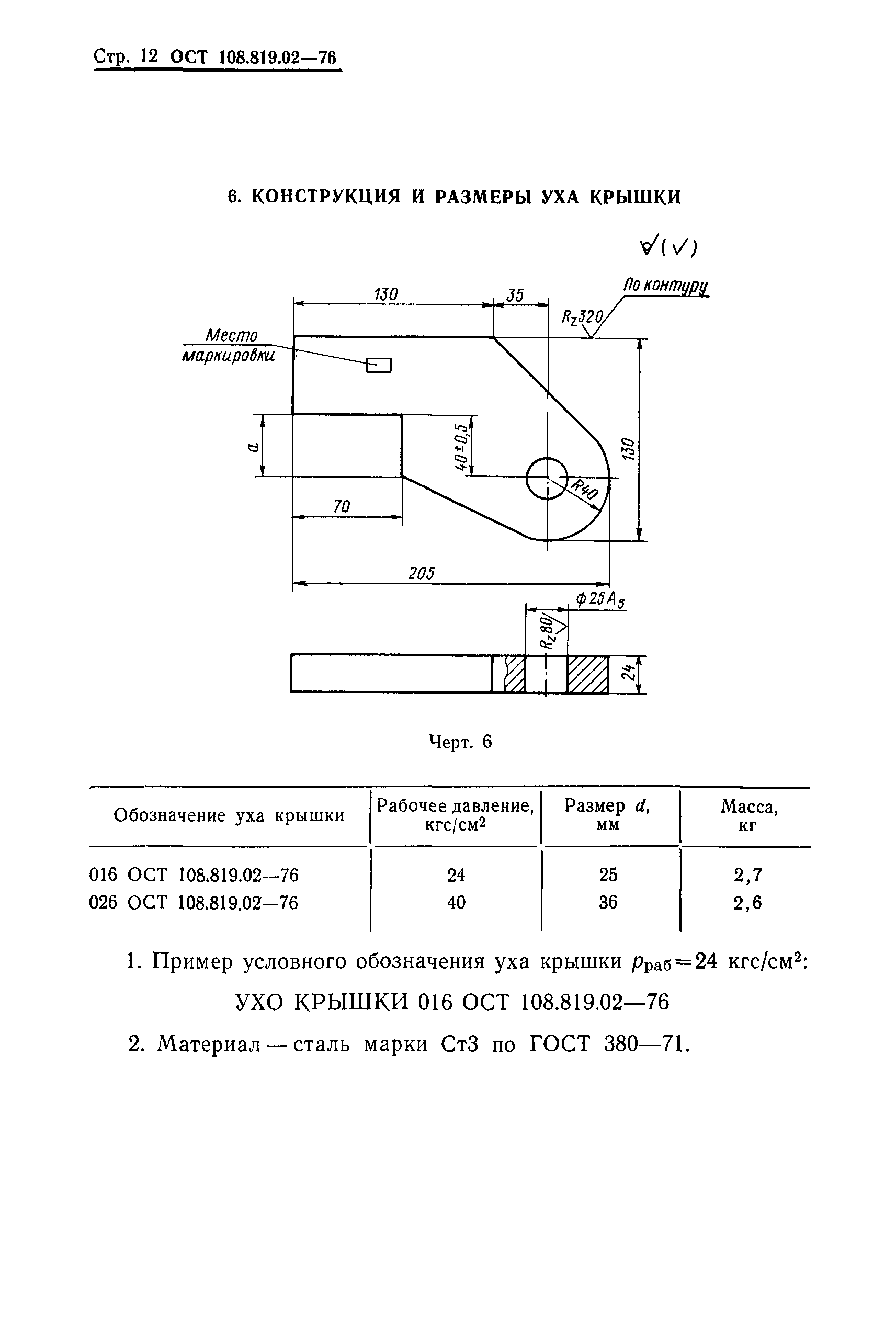
| Оглавление: | 1. Конструкция и основные размеры 2. Технические требования 3. Правила приемки 4. Окраска и консервирование 5. Маркировка, упаковка, транспортирование 6. Гарантии изготовителя Приложение 1 (обязательное). Конструкция и размеры деталей лазовых затворов Приложение 2 (справочное). Расчет крышки лазового затвора на прочность |
| Разработан: | Центральный научно-исследовательский и проектно-конструкторский котлотурбинный институт им. И.И. Ползунова |
| Утверждён: | 09.02.1976 Министерство энергетического машиностроения (Ministry of Energy Machinery Manufacturing ПС-002/988) |
| Заменяет собой: |
|



















