Скачать ОСТ 24.838.17-74 Котлы паровые стационарные. Циклоны внутрибарабанные. Типы. Конструкция и размеры. Технические требованияДата актуализации: 01.01.2021
|
| Обозначение: | ОСТ 24.838.17-74 |
| Обозначение англ: | OST 24.838.17-74 |
| Статус: | не действует |
| Название рус.: | Котлы паровые стационарные. Циклоны внутрибарабанные. Типы. Конструкция и размеры. Технические требования |
| Дата добавления в базу: | 01.09.2013 |
| Дата актуализации: | 01.01.2021 |
| Дата введения: | 01.01.1975 |
| Дата окончания срока действия: | 01.01.1990 |
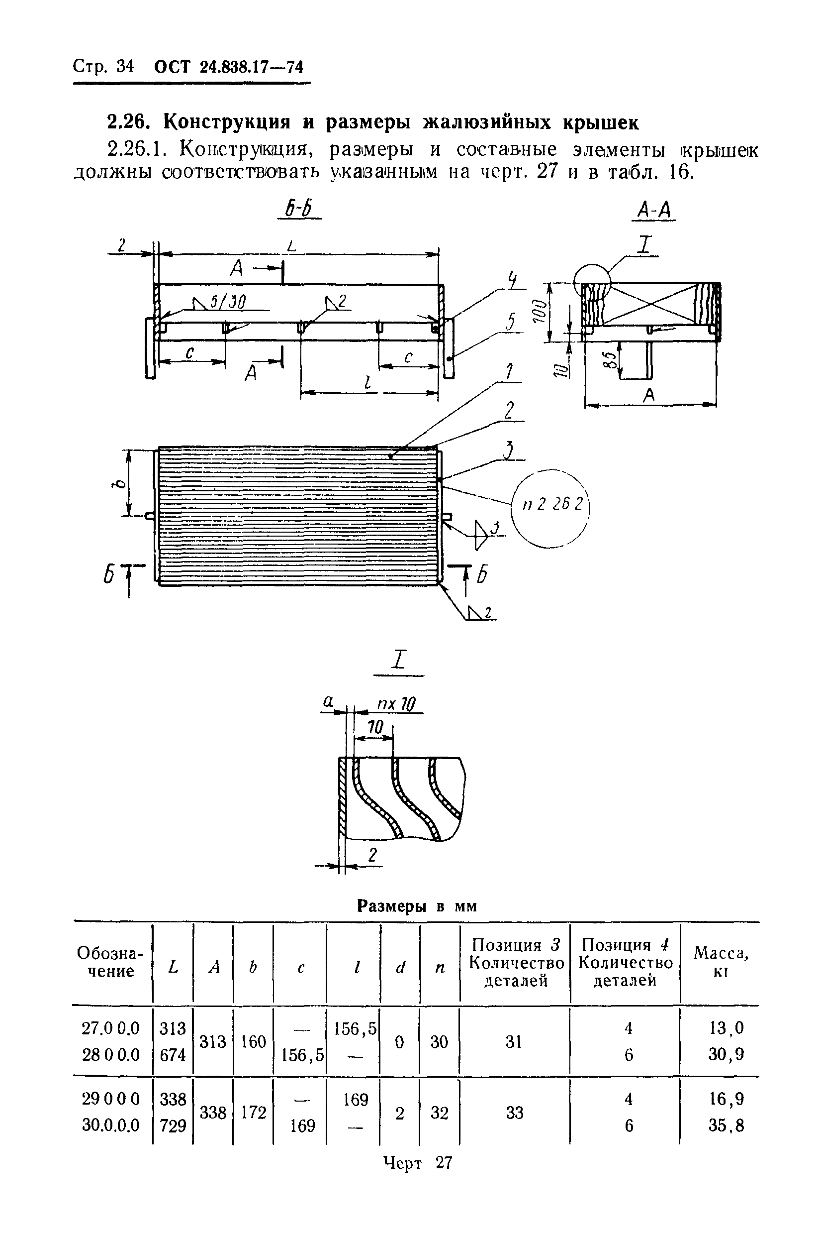
| Область применения: | Стандарт распространяется на внутрибарабанные циклоны к барабанам с внутренним диаметром 1200 мм и более для паровых котлов давлением 14 -185 кгс/см2. |
| Оглавление: | 1. Типы и основные размеры 2. Конструкция и размеры 3. Технические требования Приложение 1 (рекомендуемое). Вариант крепления циклонов в барабане Приложение 2 (рекомендуемое). Выбор предельных значений солесодержания котловой воды Приложение 3 (справочное) |
| Разработан: | Центральный научно-исследовательский и проектно-конструкторский котлотурбинный институт им. И.И. Ползунова |
| Утверждён: | 13.09.1974 Министерство тяжелого, энергетического и транспортного машиностроения (ПС-002/11840) |
| Заменяет собой: |
|
| Нормативные ссылки: |




















































