Скачать ОСТ 108.838.01-75 Сепаратор непрерывной продувки Ду800. Конструкция и технические требованияДата актуализации: 01.01.2021
|
| Обозначение: | ОСТ 108.838.01-75 |
| Обозначение англ: | OST 108.838.01-75 |
| Статус: | не действует |
| Название рус.: | Сепаратор непрерывной продувки Ду800. Конструкция и технические требования |
| Дата добавления в базу: | 01.09.2013 |
| Дата актуализации: | 01.01.2021 |
| Дата введения: | 01.04.1976 |
| Дата окончания срока действия: | 01.04.1981 |
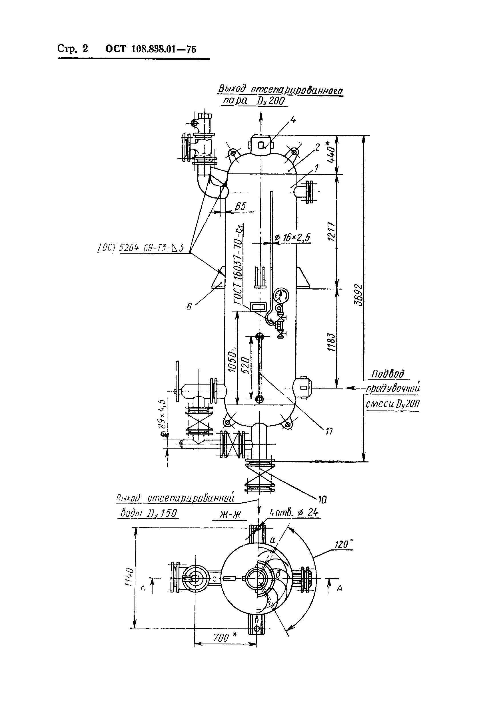
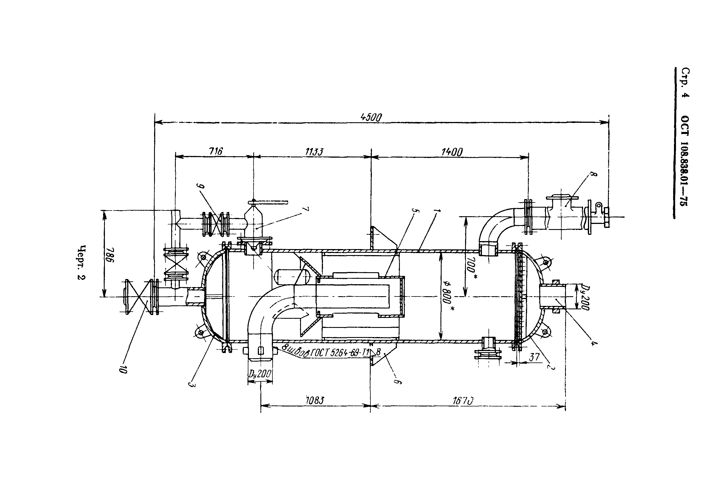
| Область применения: | Стандарт распространяется на сепараторы непрерывной продувки с внутренним диаметром 800 мм, устанавливаемые в схемах непрерывной продувки барабанных котлов с использованием пара в деаэраторах давлением 1,2 и 6 кгс/см2. Стандарт устанавливает параметры, конструкцию сепаратора и основные размеры, определяющие эффективность его действия. |
| Оглавление: | 1. Конструкция и параметры 2. Технические требования Приложение 1 (справочное). Описание конструкции и принцип действия Приложение 1 (справочное). Узлы и детали сепаратора непрерывной продувки Ду800. Конструкция и размеры |
| Разработан: | Центральный научно-исследовательский и проектно-конструкторский котлотурбинный институт им. И.И. Ползунова |
| Утверждён: | 29.08.1975 Министерство энергетического машиностроения (Ministry of Energy Machinery Manufacturing пс-002/1357) |
| Нормативные ссылки: |
|















