Скачать ГОСТ 6711-81 Краны мостовые электрические общего назначения грузоподъемностью от 80 до 500 т. Основные параметры и размеры

Дата актуализации: 01.01.2021

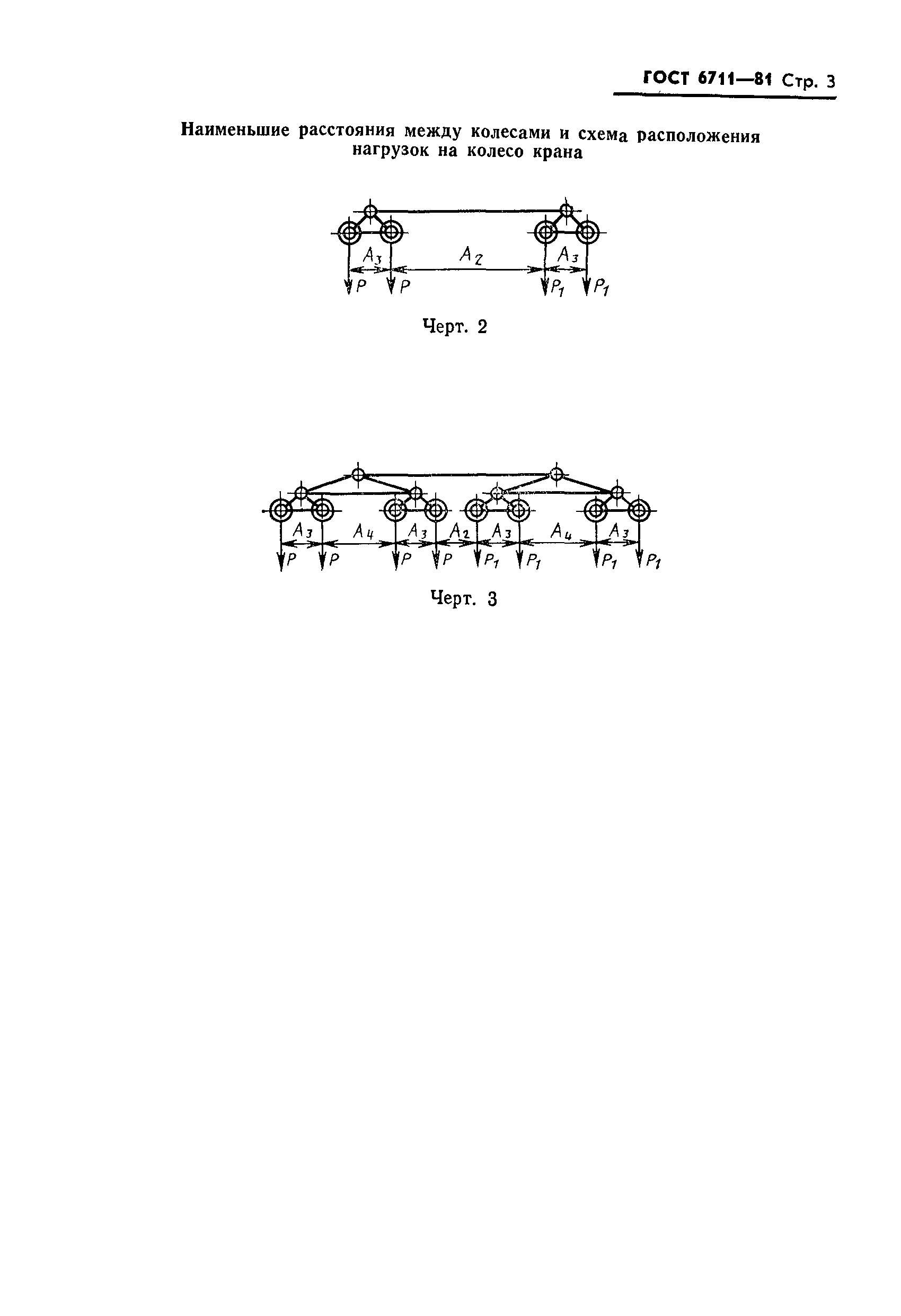
ГОСТ 6711-81

Краны мостовые электрические общего назначения грузоподъемностью от 80 до 500 т. Основные параметры и размеры

Обозначение: ГОСТ 6711-81
Обозначение англ: GOST 6711-81
Статус:отменен
Название рус.:Краны мостовые электрические общего назначения грузоподъемностью от 80 до 500 т. Основные параметры и размеры
Название англ.:General purpose electric bridge cranes of load capacity from 80 to 500 tn. Basic parameters and dimensions
Дата добавления в базу:01.09.2013
Дата актуализации:01.01.2021
Дата введения:01.01.1982
Дата окончания срока действия:01.01.1991
Область применения:Стандарт распространяется на мостовые электрические краны общего назначения грузоподьемностью от 80 до 500 т в климатическом исполнении У, категории размещения 1-4 по ГОСТ 15150-69, работающие на трехфазном токе напряжением 380 В.
Разработан: Министерство тяжелого и транспортного машиностроения
Утверждён:27.02.1981 Государственный комитет СССР по стандартам (USSR National Committee on Standards 1094)
Издан: Издательство стандартов (1981 г. )
Издательство стандартов (1985 г. )
Заменяет собой:
  • ГОСТ 6711-70 «Краны мостовые электрические общего назначения грузоподъемностью от 80 до 320 тс. Основные параметры и размеры»
Нормативные ссылки:
ГОСТ 6711-81ГОСТ 6711-81ГОСТ 6711-81ГОСТ 6711-81ГОСТ 6711-81ГОСТ 6711-81ГОСТ 6711-81ГОСТ 6711-81ГОСТ 6711-81ГОСТ 6711-81ГОСТ 6711-81ГОСТ 6711-81ГОСТ 6711-81ГОСТ 6711-81ГОСТ 6711-81ГОСТ 6711-81ГОСТ 6711-81ГОСТ 6711-81ГОСТ 6711-81ГОСТ 6711-81ГОСТ 6711-81ГОСТ 6711-81ГОСТ 6711-81ГОСТ 6711-81ГОСТ 6711-81ГОСТ 6711-81ГОСТ 6711-81ГОСТ 6711-81ГОСТ 6711-81ГОСТ 6711-81ГОСТ 6711-81ГОСТ 6711-81ГОСТ 6711-81ГОСТ 6711-81ГОСТ 6711-81