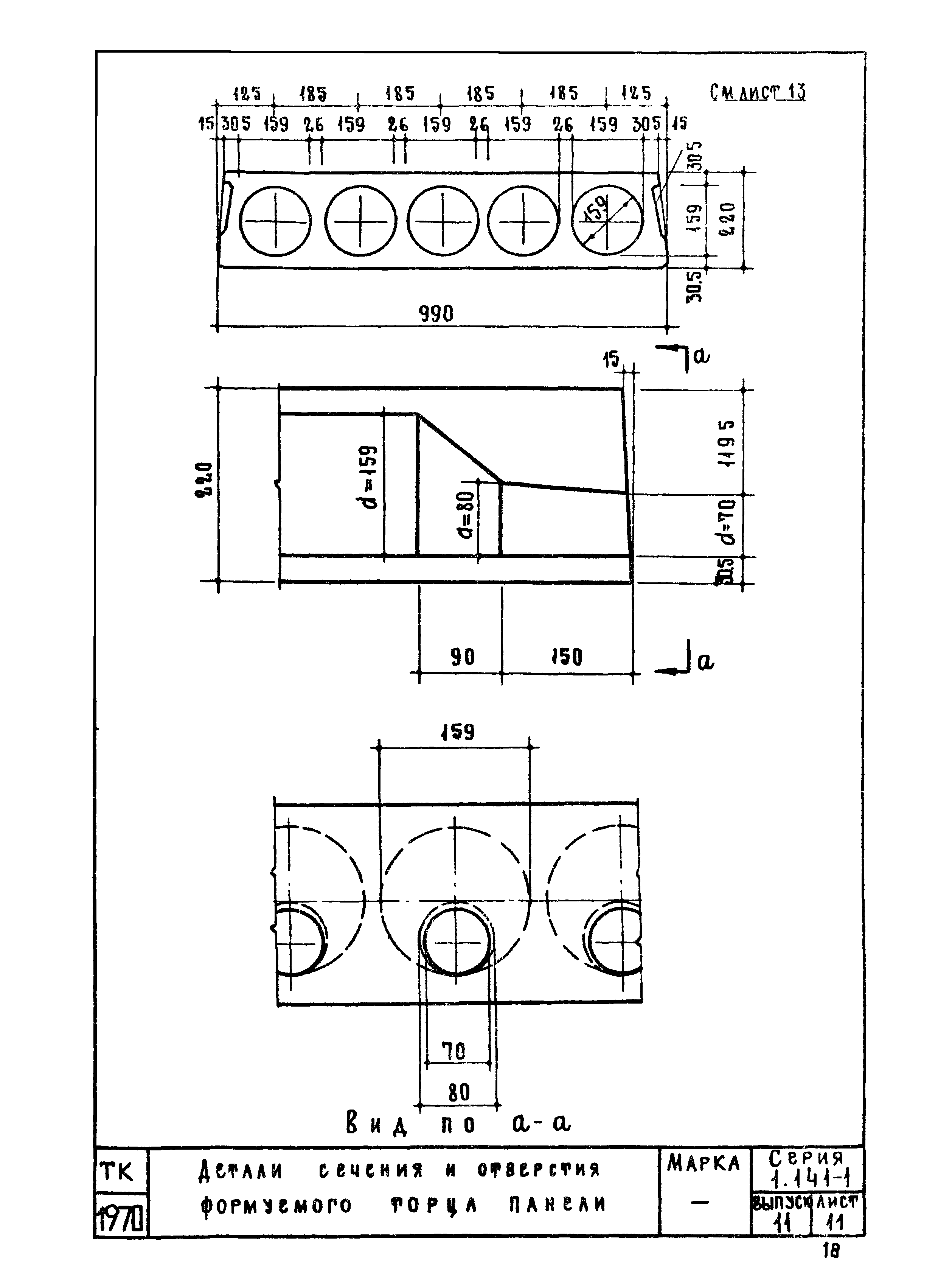
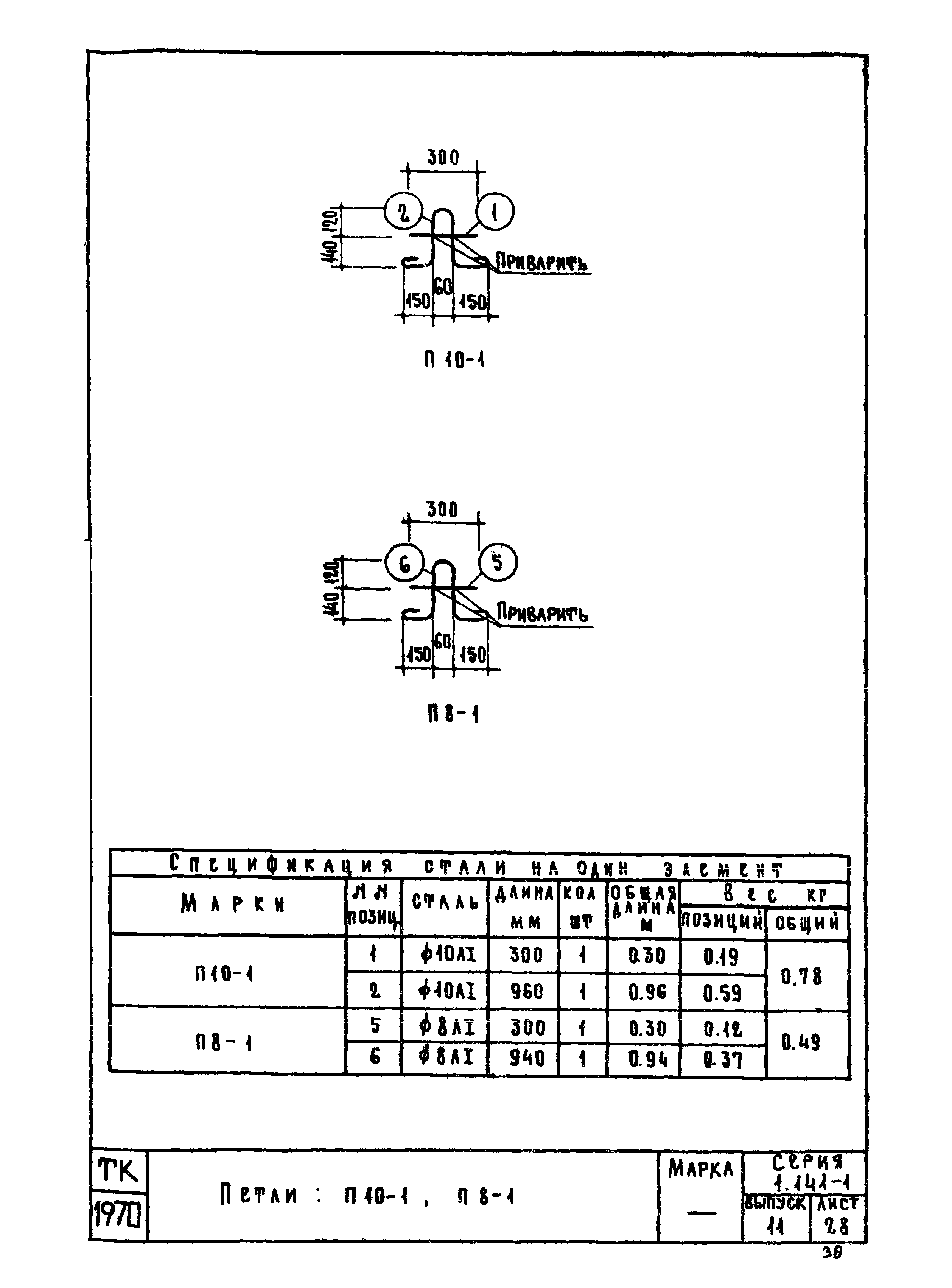
Скачать Серия 1.141-1 Выпуск 11. Панели с круглыми пустотами длиной 418, 388, 358, 298, 268 см, шириной 99 см, армированные сетками с рабочей арматурой из стали класса А-IIIДата актуализации: 01.01.2021 Серия 1.141-1
Выпуск 11. Панели с круглыми пустотами длиной 418, 388, 358, 298, 268 см, шириной 99 см, армированные сетками с рабочей арматурой из стали класса А-III| Обозначение: | Серия 1.141-1 | | Обозначение англ: | Series 1.141-1 | | Статус: | не действует | | Название рус.: | Выпуск 11. Панели с круглыми пустотами длиной 418, 388, 358, 298, 268 см, шириной 99 см, армированные сетками с рабочей арматурой из стали класса А-III | | Дата добавления в базу: | 01.09.2013 | | Дата актуализации: | 01.01.2021 | | Дата окончания срока действия: | 01.05.1983 | | Разработан: | НИИЖБ Госстроя СССР ЦНИИЭП жилища
| | Утверждён: | 31.12.1970 Государственный комитет по гражданскому строительству и архитектуре при Госстрое СССР (220)
|
                                      
|