Скачать ОСТ 45.42-87 Проектная документация для строительства. Предприятия и сооружения электросвязи, радиовещания и телевидения. Рабочие чертежиДата актуализации: 01.01.2021
|
| Обозначение: | ОСТ 45.42-87 |
| Обозначение англ: | OST 45.42-87 |
| Статус: | введен впервые |
| Название рус.: | Проектная документация для строительства. Предприятия и сооружения электросвязи, радиовещания и телевидения. Рабочие чертежи |
| Дата добавления в базу: | 01.09.2013 |
| Дата актуализации: | 01.01.2021 |
| Дата введения: | 01.01.1988 |
| Область применения: | Стандарт устанавливает состав основных видов рабочих чертежей и правила их оформления на строительство технологической части сооружений электросвязи и соединительных линий радиообъектов (в дальнейшем - сооружений электросвязи) общегосударственной сети связи страны, а также других ведомств, проекты на строительство которых выполняются проектными организациями Министерства связи СССР и республиканских Министерств связи. Стандарт не распространяется на проектную документацию внутрипроизводственной связи и сигнализации промышленных предприятий, выполняемую по требованиям ГОСТ 21.603-80. |
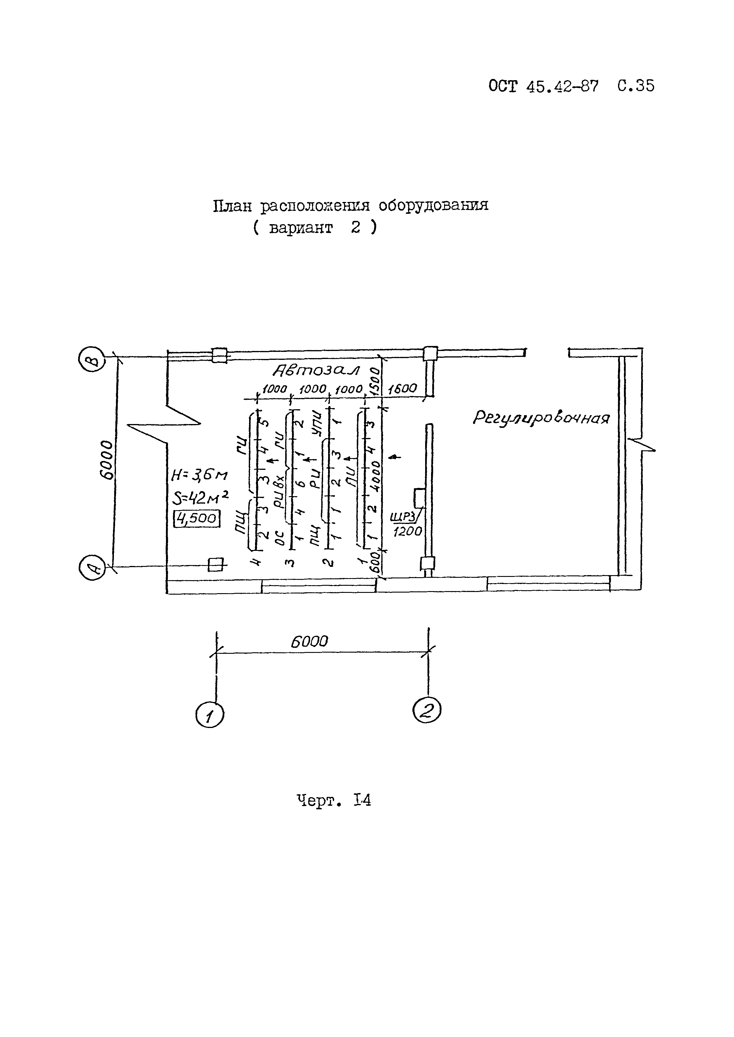
| Оглавление: | 1. Общие положения 2. Общие данные 3. Планы и схемы линейных сооружений 4. Планы (разрезы) расположения оборудования 5. Схемы и таблицы монтажные 6. Установочные монтажные чертежи и схемы расположения сборных конструкций Приложение 1. Ситуационный план трассы на загородном участке |
| Разработан: | ГСПИ Минсвязи СССР Гипросвязь |
| Утверждён: | 26.05.1987 Минсвязи СССР (USSR Minsvyazi 460) |
| Нормативные ссылки: |
|


















































