Скачать Пособие к СНиП II-64-80 Пособие по проектированию дошкольных учрежденийДата актуализации: 01.01.2021
|
| Обозначение: | Пособие к СНиП II-64-80 |
| Обозначение англ: | SNIP Handbook II-64-80 |
| Статус: | не действует |
| Название рус.: | Пособие по проектированию дошкольных учреждений |
| Дата добавления в базу: | 01.09.2013 |
| Дата актуализации: | 01.01.2021 |
| Область применения: | В документе даны основные принципы проектирования детских дошкольных учреждений, общие для всех климатических зон, с отражением особенностей проектирования зданий яслей-садов в различных климатических районах страны. |
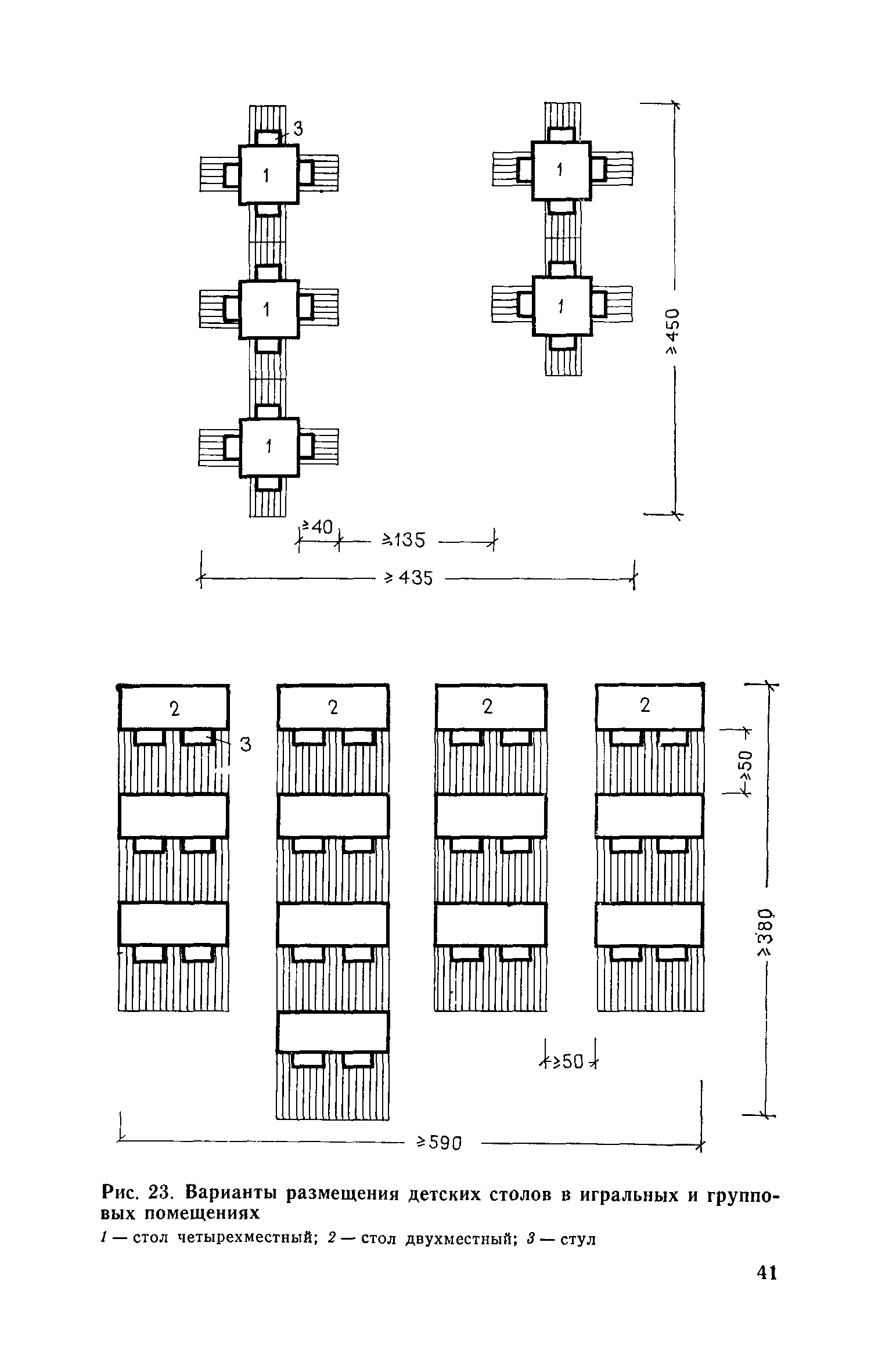
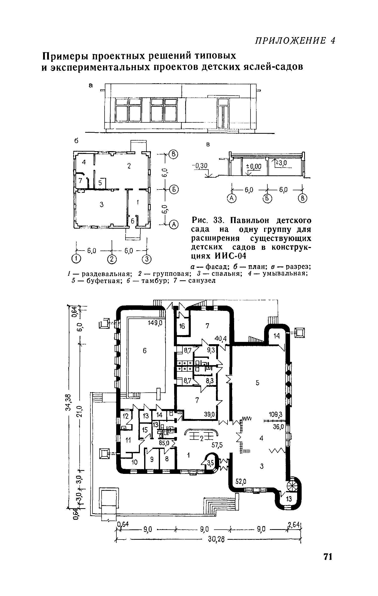
| Оглавление: | Предисловие 1. Общие положения 2. Генеральные планы 3. Объемно-планировочные и конструктивные решения зданий 4. Водоснабжение и канализация 5. Теплоснабжение, отопление и вентиляция 6. Теплоснабжение, отопление и вентиляция для IА, IБ, и IГ климатических подрайонов (рекомендации ЛенЗНИИЭП) 7. Электроснабжение и электротехнические устройства 8. Электроснабжение и электротехнические устройства для IА, IБ, и IГ климатических подрайонов (рекомендации ЛенЗНИИЭП) Приложение 1. Состав и площади помещений детских яслей-садов, проектируемых для всех климатических районов, за исключением IА, IБ, и IГ климатических подрайонов Состав и площади помещений детских яслей-садов, проектируемых для IА, IБ, и IГ климатических подрайонов Состав и площади помещений комплекса детских яслей-садов на 28 групп (660 мест), проектируемых для всех климатических районов, за исключением IА, IБ, и IГ климатических подрайонов Приложение 2. Показатели рабочей полезной, общей площади и строительного объема по дошкольным учреждениям Приложение 3. Номенклатура встроенной мебели и оборудования для детских дошкольных учреждений Приложение 4. Примеры проектных решений типовых и экспериментальных проектов детских яслей-садов |
| Разработан: | ЦНИИЭП учебных зданий Госгражданстроя |
| Утверждён: | 23.10.1984 ЦНИИЭП учебных зданий Госгражданстроя (102) |
| Издан: | Стройиздат (1985 г. ) |
| Нормативные ссылки: |
















































































