Скачать Пионерские лагеря. Иллюстрированный каталог типовых проектов санаторно-оздоровительных и туристских зданий и сооружений

Дата актуализации: 01.01.2021

Пионерские лагеря. Иллюстрированный каталог типовых проектов санаторно-оздоровительных и туристских зданий и сооружений

Статус:действует
Название рус.:Пионерские лагеря. Иллюстрированный каталог типовых проектов санаторно-оздоровительных и туристских зданий и сооружений
Дата добавления в базу:01.09.2013
Дата актуализации:01.01.2021
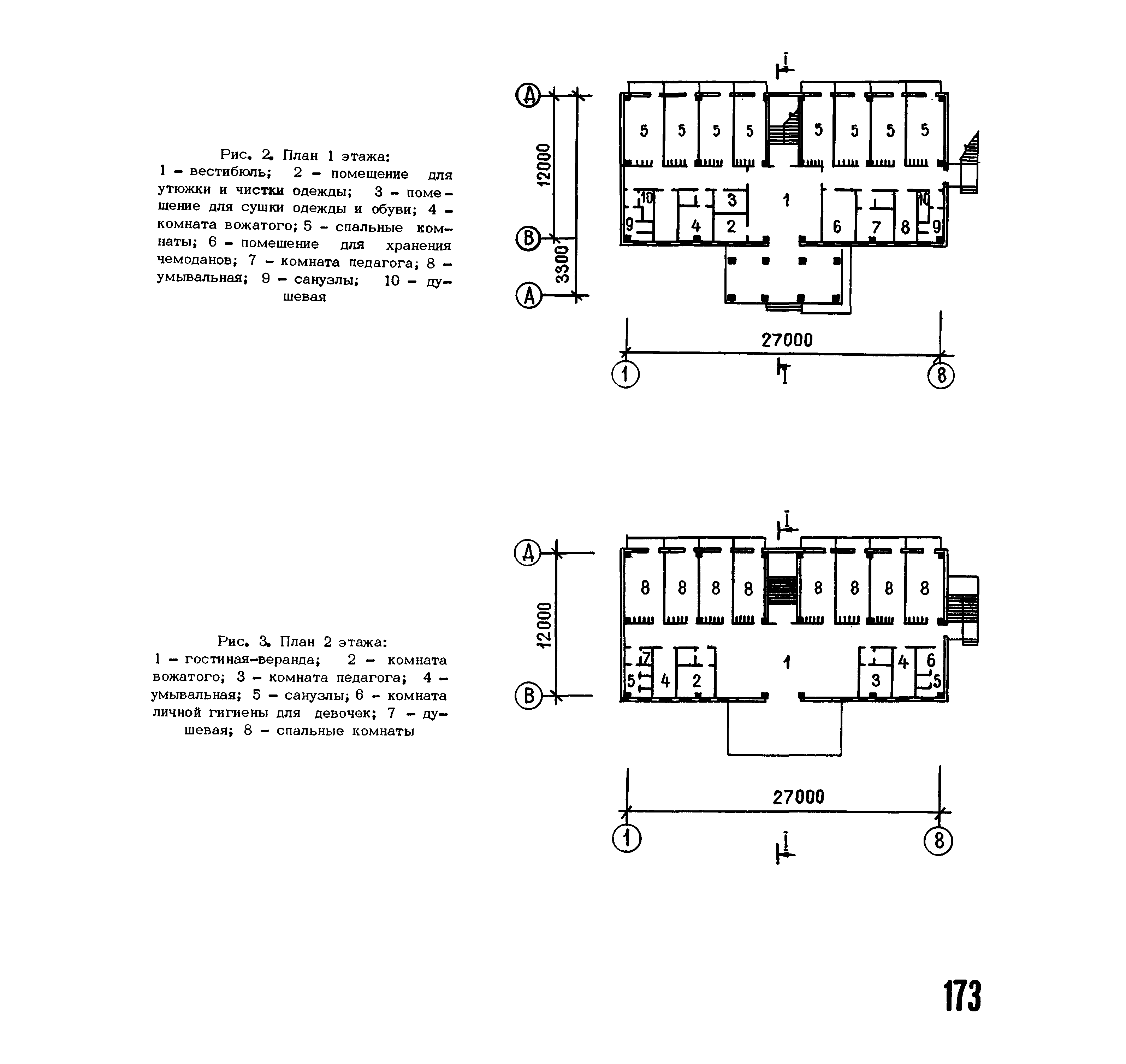
Область применения:Цель издания — ознакомление проектировщиков, архитекторов, руководителей проектных организаций, партийных, профсоюзных и советских работников, занимающихся вопросами строительства оздоровительных учреждений и учреждений отдыха, с действующими типовыми проектами (на 01.01.1981 г.) по отрасли курортно—оздоровительного строительства.
Оглавление:1. Пионерские лагеря - базы отдыха
   Пионерский лагерь - база отдыха на 720 - 640 мест
   Пионерский лагерь - база отдыха на 720 - 600 мест
   Пионерский лагерь - база отдыха на 640 - 500 мест
   Пионерский лагерь - база отдыха на 360 - 288 мест (со стенами из кирпича)
   Пионерский лагерь - база отдыха на 320 - 280 мест (со стенами из местных материалов)
   Пионерский лагерь - база отдыха на 240 - 210 мест
2. Пионерские лагеря санаторного типа
   Пионерский лагерь санаторного типа на 510 мест
   Лечебный блок для пионерского лагеря санаторного типа на 720 мест (стены кирпичные)
   Лечебно-учебный корпус для пионерского лагеря санаторного типа на 500 мест (со стенами из местных материалов и кирпича)
   Лечебно-учебный корпус для пионерского лагеря санаторного типа на 500 мест (в конструкциях серии ИИ-04)
3. Клубы-столовые пионерских лагерей - баз отдыха
   Клуб-столовая с обеденным залом на 360 - 300 посадочных мест пионерского лагеря - базы отдыха на 720 - 600 мест (со стенами из кирпича и внутренним каркасом)
Приложение 1
Приложение 2
Разработан: ЦНИИЭП курортно-туристских зданий и комплексов Госгражданстроя
Утверждён: ЦНИИЭП курортно-туристских зданий и комплексов Госгражданстроя
Издан: Госгражданстрой (1982 г. )