Скачать Рекомендации по комплексному определению теплофизических характеристик строительных материалов

Дата актуализации: 01.01.2021

Рекомендации по комплексному определению теплофизических характеристик строительных материалов

Статус:не действует
Название рус.:Рекомендации по комплексному определению теплофизических характеристик строительных материалов
Дата добавления в базу:01.09.2013
Дата актуализации:01.01.2021
Область применения:В документе описаны методика и измерительная аппаратура для комплексного определения теплофизических характеристик материалов импульсным методом. Изложены физические концепции метода, причины появления и способы компенсации систематических ошибок.
Оглавление:Предисловие
1. Общие положения
2. Основы импульсного метода определения теплофизических характеристик строительных материалов
3. Оценка систематических и случайных отклонений
4. Программа для ЭВМ по обработке экспериментальных данных ЭВМ по обработке экспериментальных данных
5. Оборудование, измерительная аппаратура, оснастка
6. Подготовка и проведение эксперимента. Обработка полученных результатов
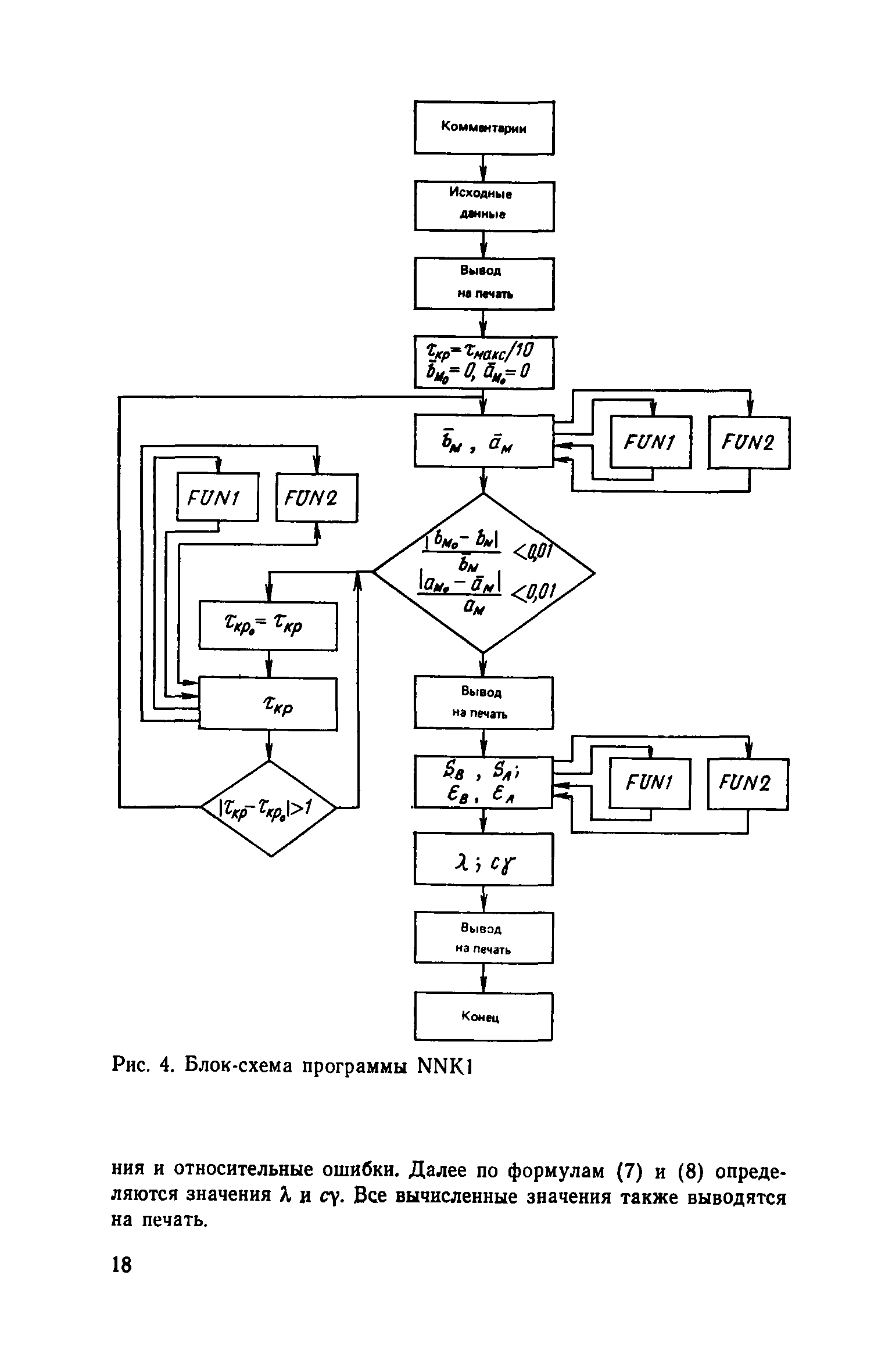
Приложение 1. Программа NNK1
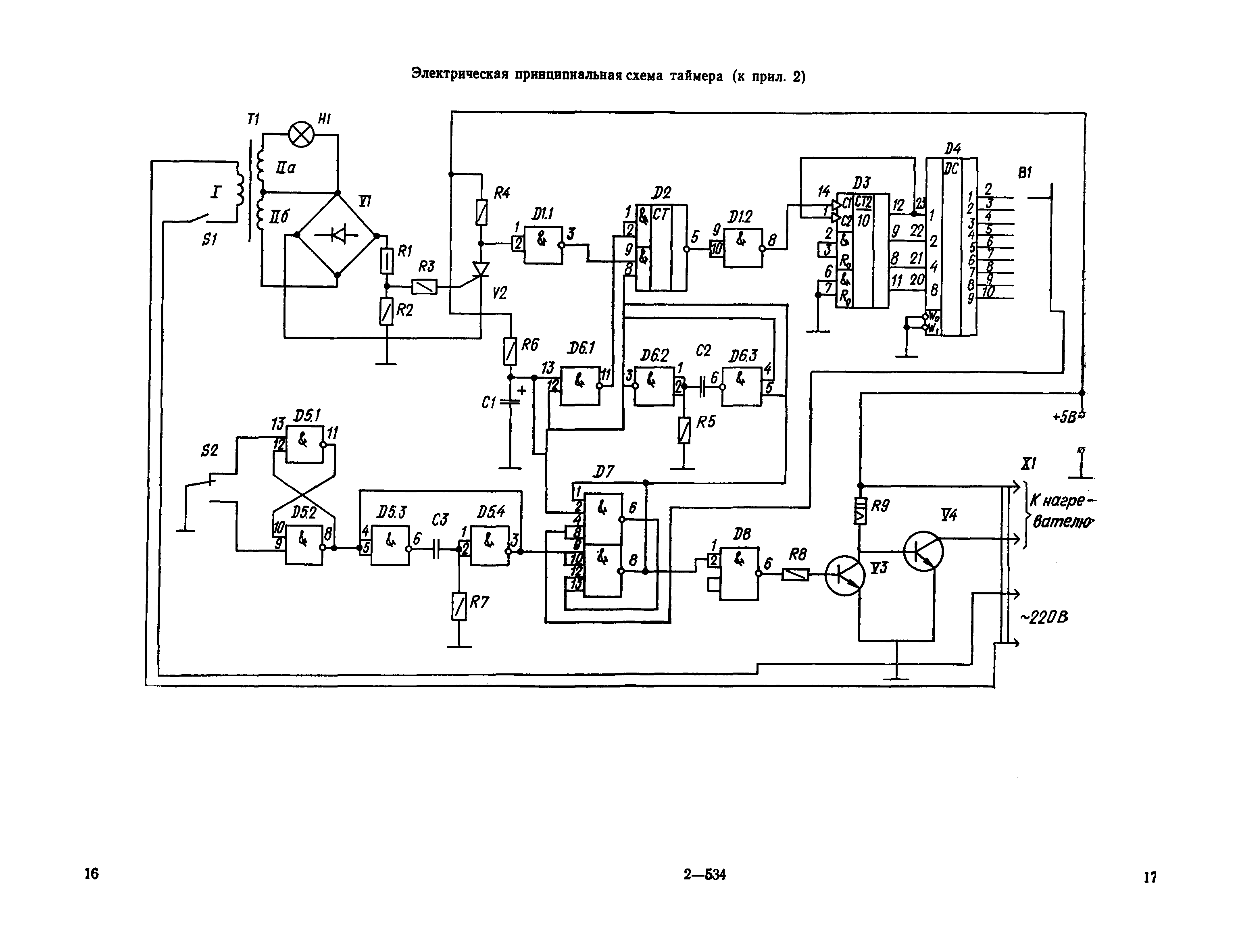
Приложение 2. Электрическая принципиальная схема таймера
Разработан: НИИСФ Госстроя СССР
Издан: Стройиздат (1987 г. )
Нормативные ссылки: