Скачать Типовые проектные решения 901-03-171 Альбом I. Пояснительная записка и чертежиДата актуализации: 01.01.2021
|
| Обозначение: | Типовые проектные решения 901-03-171 |
| Обозначение англ: | 901-03-171 |
| Статус: | справочные материалы, мп, тпр |
| Название рус.: | Альбом I. Пояснительная записка и чертежи |
| Дата добавления в базу: | 01.09.2013 |
| Дата актуализации: | 01.01.2021 |
| Дата введения: | 05.04.1982 |
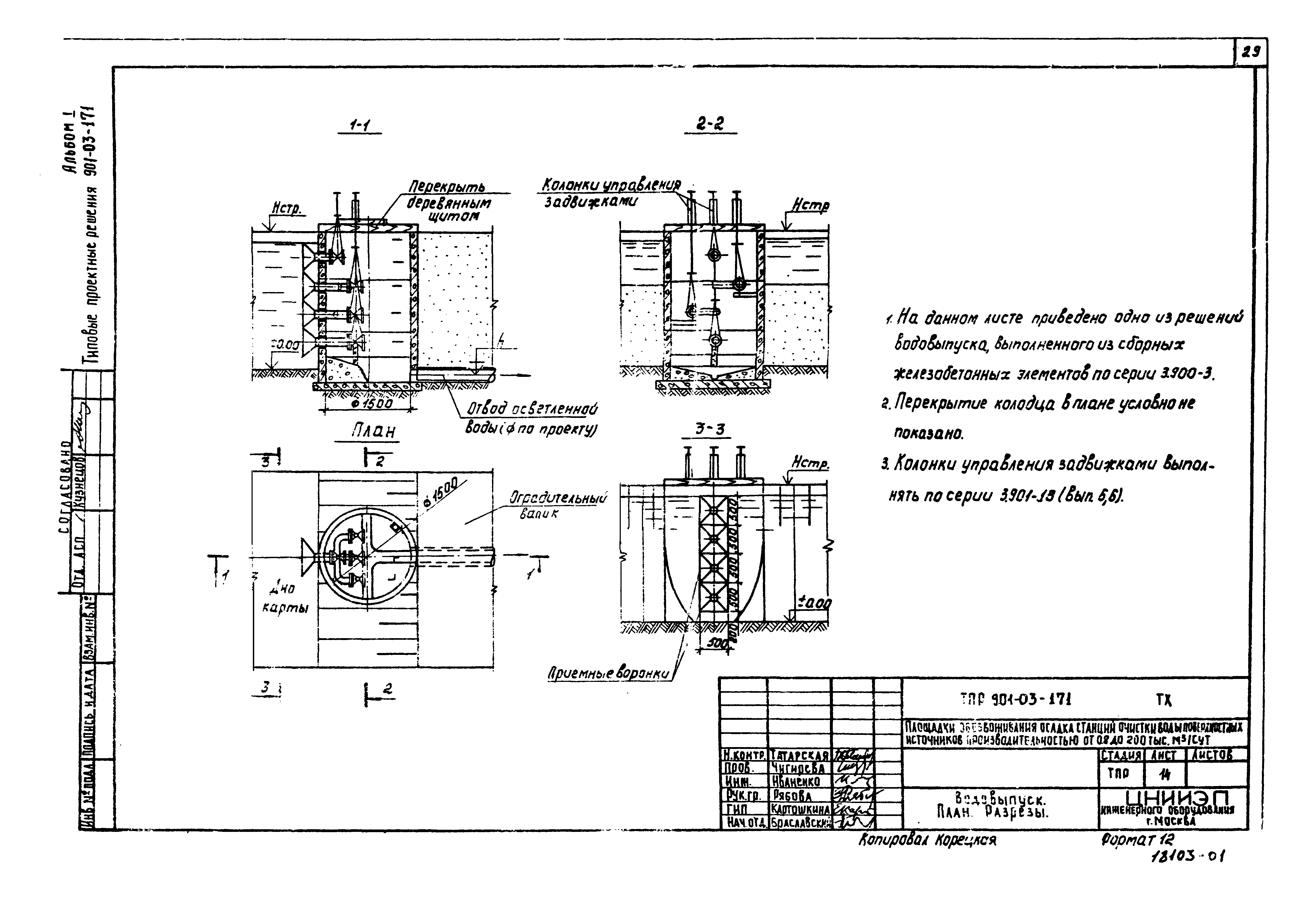
| Оглавление: | Содержание Пояснительная записка Принципиальные схемы обработки осадка Типоразмеры карт Примерный план расположения площадок. Схемы размещения карт Распределение осадка лотками. План. Разрез Типы основания площадок. Площадки на естественном основании Типы основания площадок. Площадки на искусственном основании Колодец для напуска осадка. Планы. Разрезы Конструкция напусков осадка Колодцы для выпуска осадка в лотки. Планы. Разрезы Водовыпуск. План. Разрезы Детали дренажа и лампового колодца Приложение |
| Разработан: | ЦНИИЭП инженерного оборудования Госгражданстроя |
| Утверждён: | 05.04.1982 Госгражданстрой (Gosgrazhdanstroy 96) |
































