Скачать Руководство по измерению тепловых потоков в ограждающих конструкциях эксплуатируемых зданий и сооружений при помощи прибора ИТП-7

Дата актуализации: 01.01.2021

Руководство по измерению тепловых потоков в ограждающих конструкциях эксплуатируемых зданий и сооружений при помощи прибора ИТП-7

Статус:действует
Название рус.:Руководство по измерению тепловых потоков в ограждающих конструкциях эксплуатируемых зданий и сооружений при помощи прибора ИТП-7
Дата добавления в базу:01.09.2013
Дата актуализации:01.01.2021
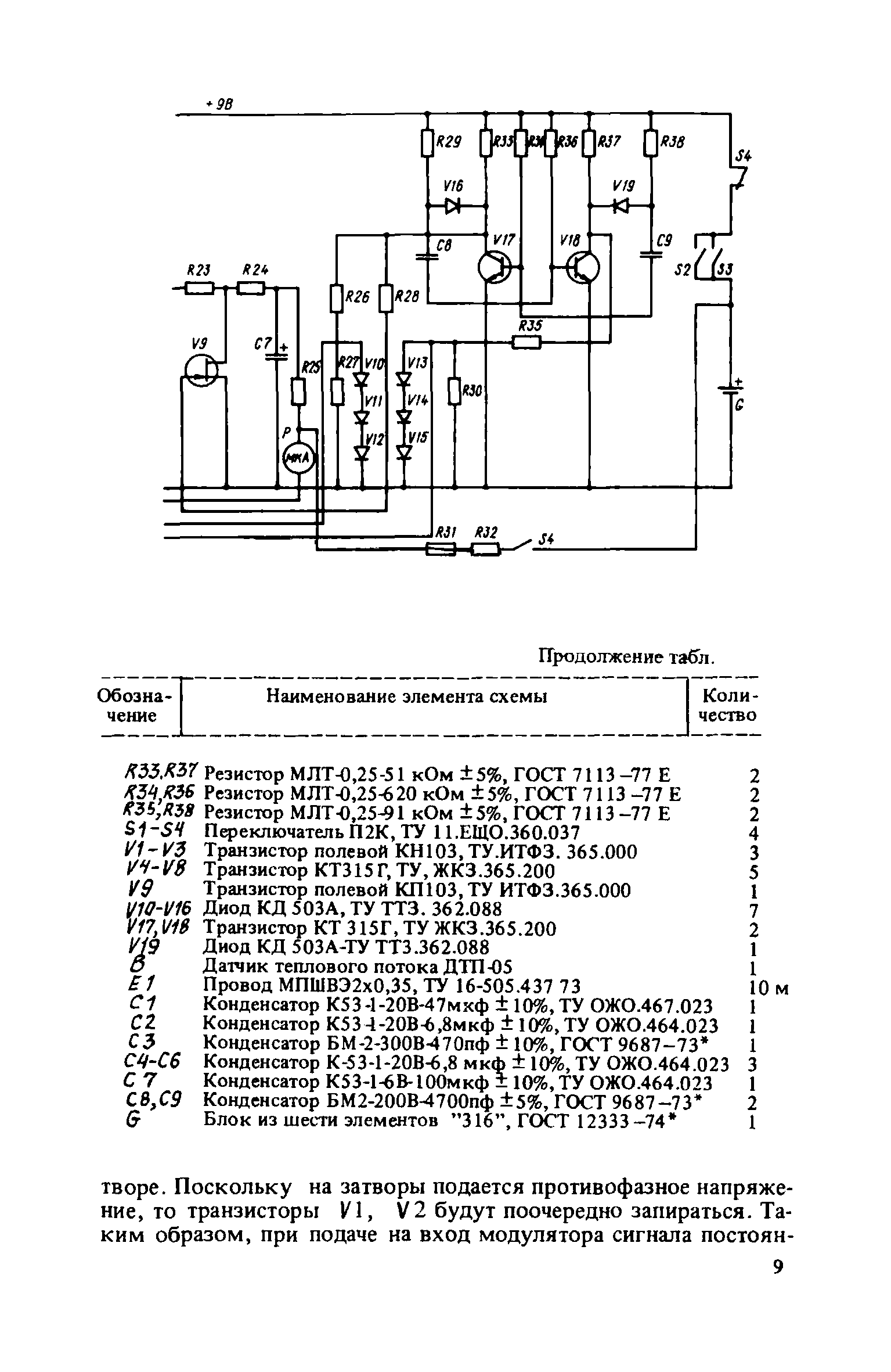
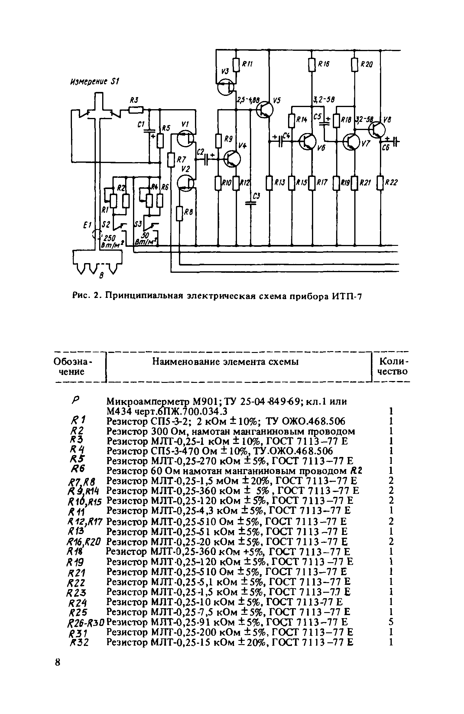
Область применения:Документ содержит сведения о конструкции, технических характеристиках, области применения и особенностях использования нового прибора ИТП-7 для измерения плотности тепловых потоков, а также пример применения этого прибора для оценки технологических свойств ограждающих конструкций в натурных условиях эксплуатации зданий.
Оглавление:Предисловие
1. Назначение и область применения
2. Техническая характеристика
3. Метод измерения плотности теплового потока
4. Принцип работы и устройство измерителя плотности теплового потока
5. Подготовка прибора к работе
6. Выполнение измерений
Приложение. Пример применения прибора ИТП-7 для оценки теплотехнических качеств ограждающей конструкции
Разработан: НТС НИИСФ Госстроя СССР
ИТТФ АН УССР
Утверждён: НИИСФ Госстроя СССР (NIISF, USSR Gossstroy )
Издан: Стройиздат (1982 г. )
Нормативные ссылки: