Скачать Руководство по расчету и применению многорежимных и многовентиляторных систем вентиляции при нестационарном выделении газовых вредностей в помещениях с малыми тепловыделениямиДата актуализации: 01.01.2021
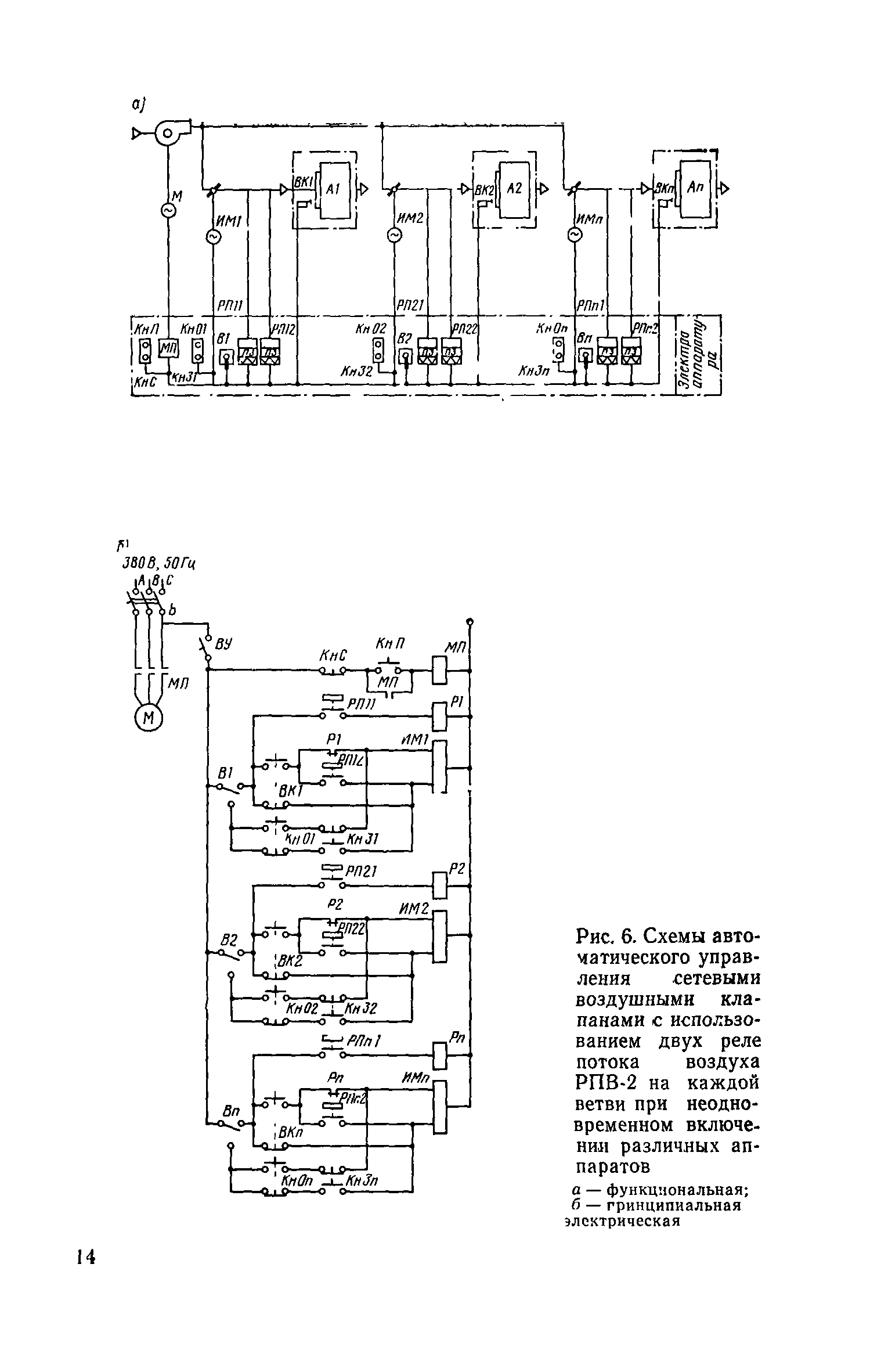
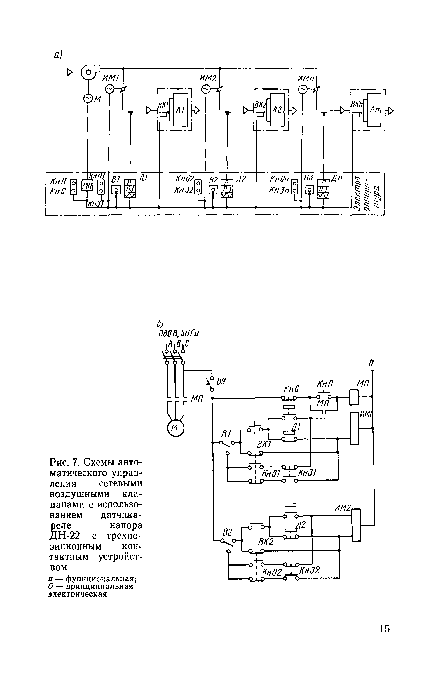
Руководство по расчету и применению многорежимных и многовентиляторных систем вентиляции при нестационарном выделении газовых вредностей в помещениях с малыми тепловыделениями| Статус: | действует | | Название рус.: | Руководство по расчету и применению многорежимных и многовентиляторных систем вентиляции при нестационарном выделении газовых вредностей в помещениях с малыми тепловыделениями | | Дата добавления в базу: | 01.09.2013 | | Дата актуализации: | 01.01.2021 | | Область применения: | Руководство рекомендуется для применения при проектировании вентиляции помещений с нестационарными технологическими источниками газовых выделений с целью улучшения состояния воздушной среды и повышения экономичности и эффективности новых и реконструируемых систем. | | Оглавление: | 1. Общая часть 2. Методика расчета концентрации газовых вредностей, воздухообмена, продолжительности действия вентиляции 3. Выбор режимов работы вентиляции 4. Схемы автоматического управления многорежимными и многовентиляторными системами 5. Порядок расчета многорежимной одновентиляторной системы с центрально-местным регулированием 6. Порядок расчета многорежимной многовентиляторной системы с центрально-местным регулированием 7. Проектирование систем Приложение 1. Схемы автоматического управления вентиляционными системами Технико-экономический анализ и обоснование выбора схемы вентиляционной системы Приложение 2. Примеры расчета многорежимных одновентиляторных и многовентиляторных систем при периодической подаче Приложение 3. Примеры определения концентрации газов, продолжительности периода аккумуляции, воздухообменов | | Разработан: | ЦНИИпромзданий
| | Издан: | Стройиздат (1979 г. )
|
                                        
|