Скачать Серия 1.236-3 Выпуск 7. Витражи с двойным остеклением. Рабочие чертежи КМДата актуализации: 01.01.2021
|
| Обозначение: | Серия 1.236-3 |
| Обозначение англ: | Series 1.236-3 |
| Статус: | не действует |
| Название рус.: | Выпуск 7. Витражи с двойным остеклением. Рабочие чертежи КМ |
| Дата добавления в базу: | 01.09.2013 |
| Дата актуализации: | 01.01.2021 |
| Дата введения: | 01.11.1980 |
| Дата окончания срока действия: | 01.10.1981 |
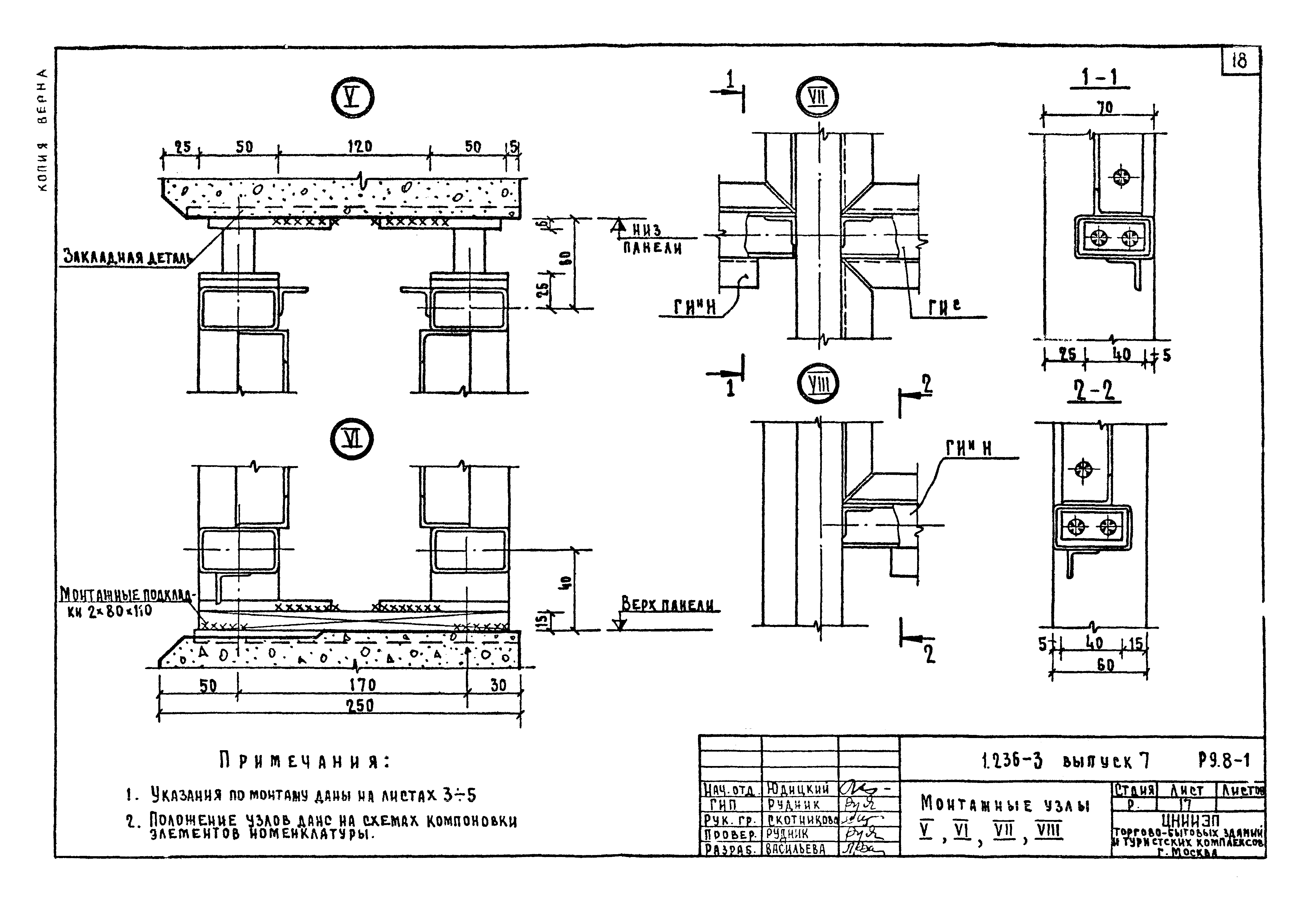
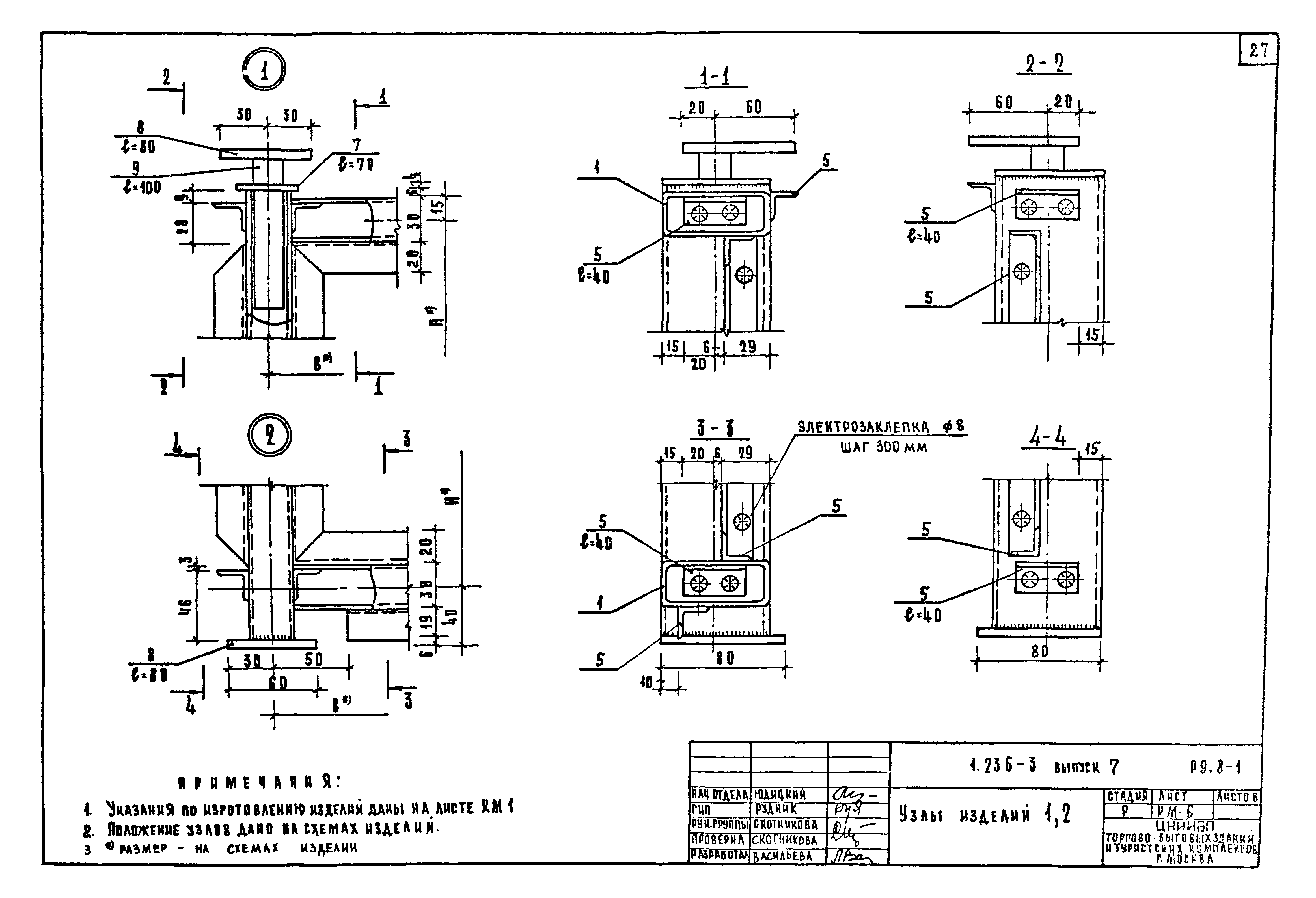
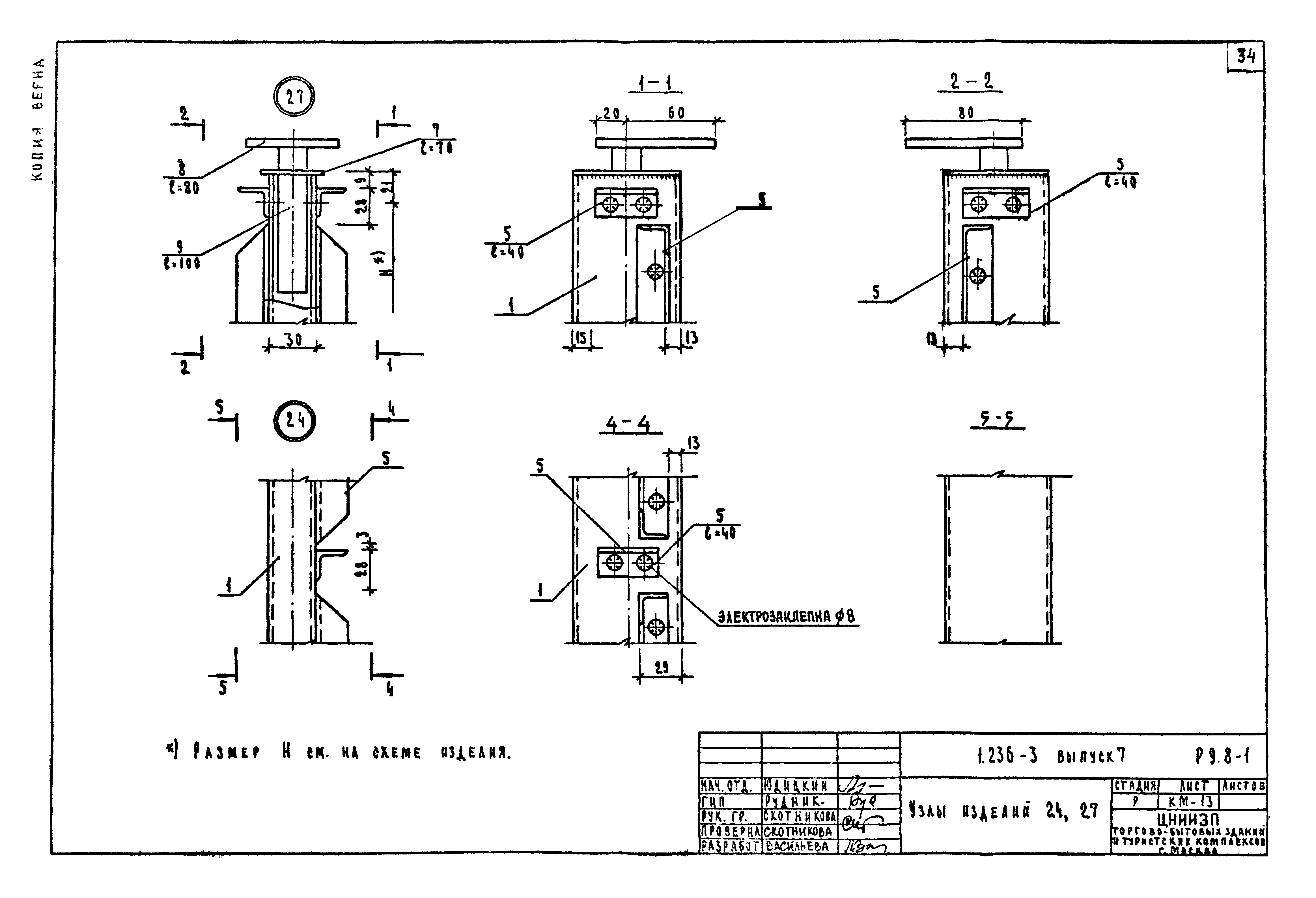
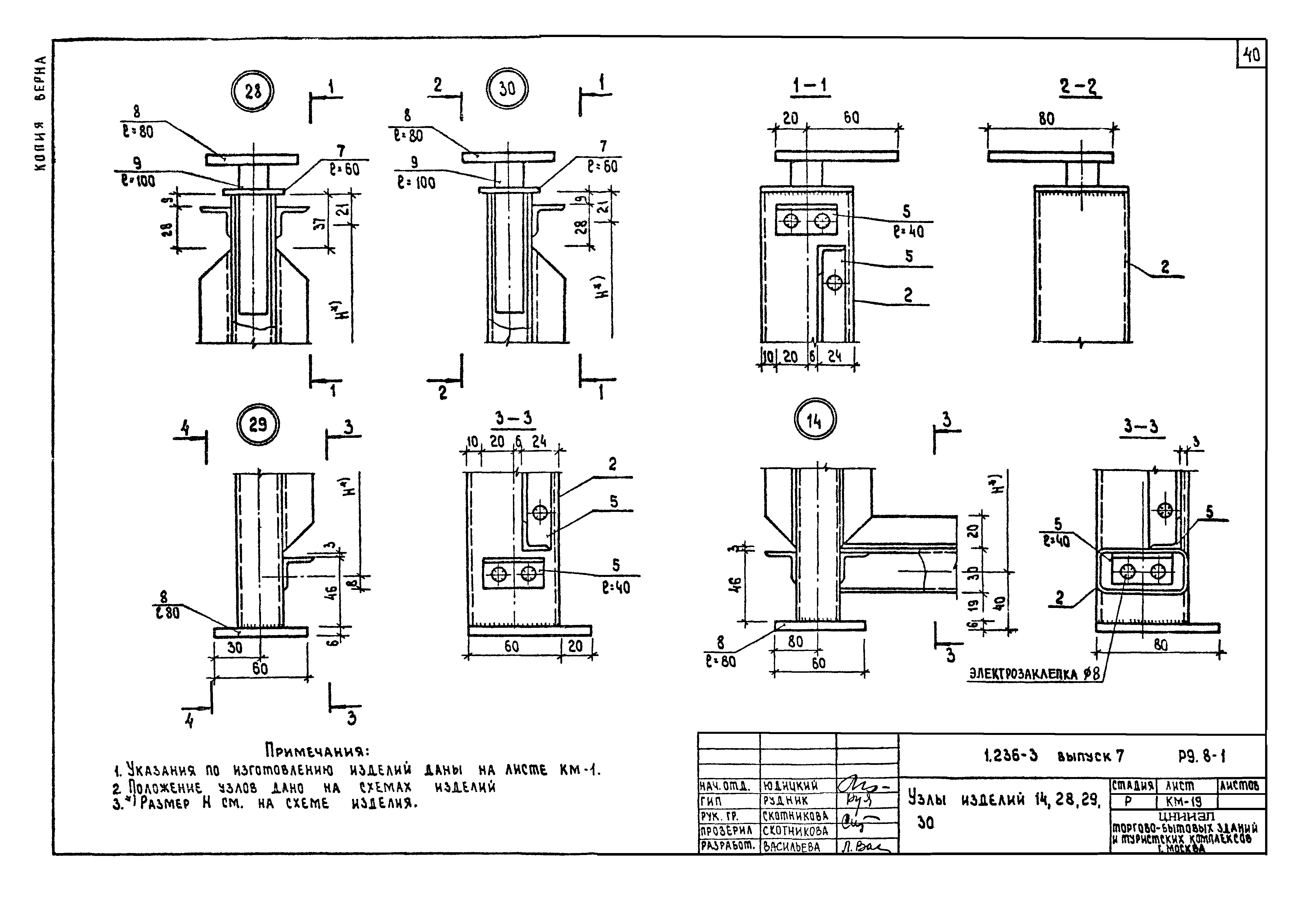
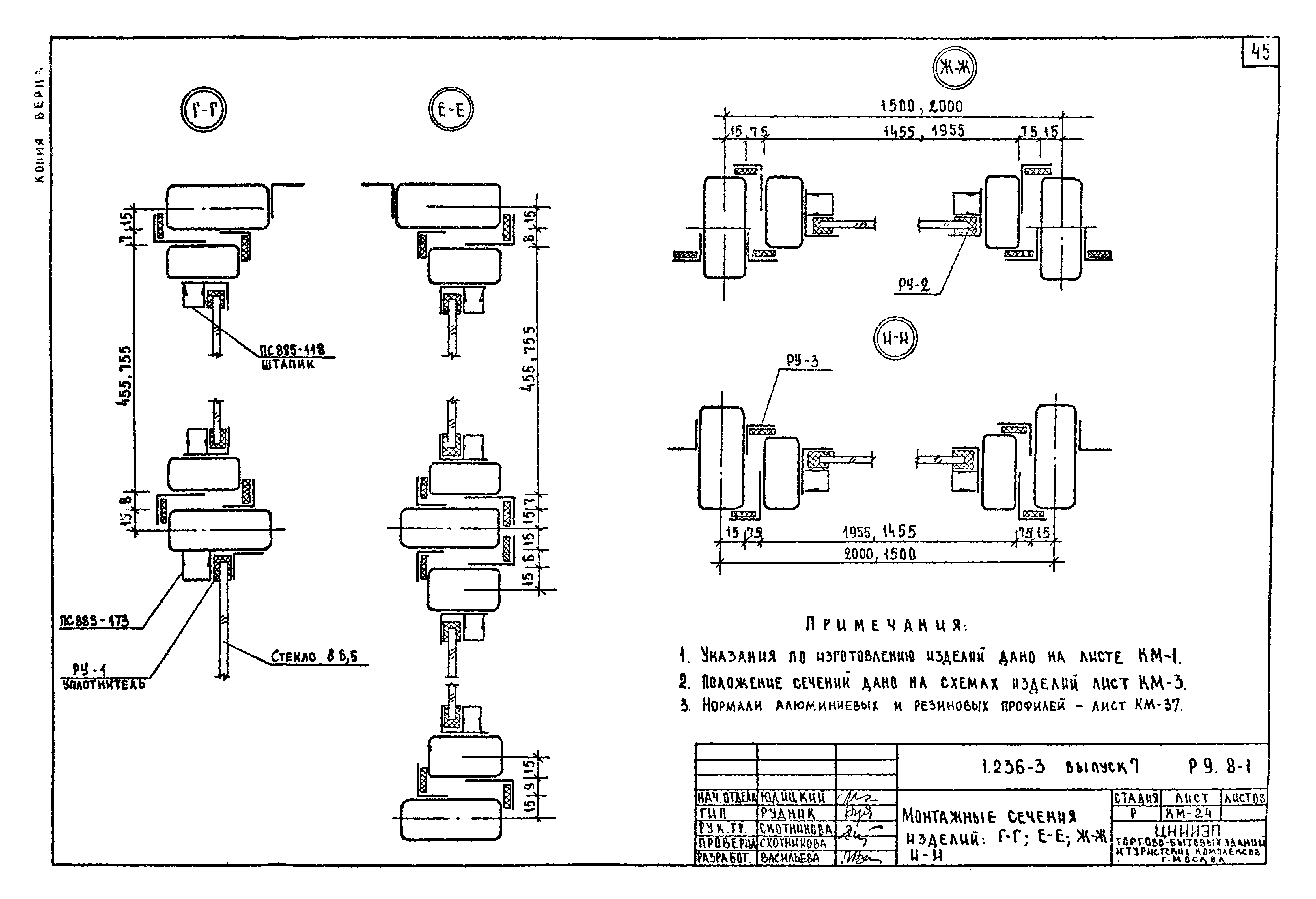
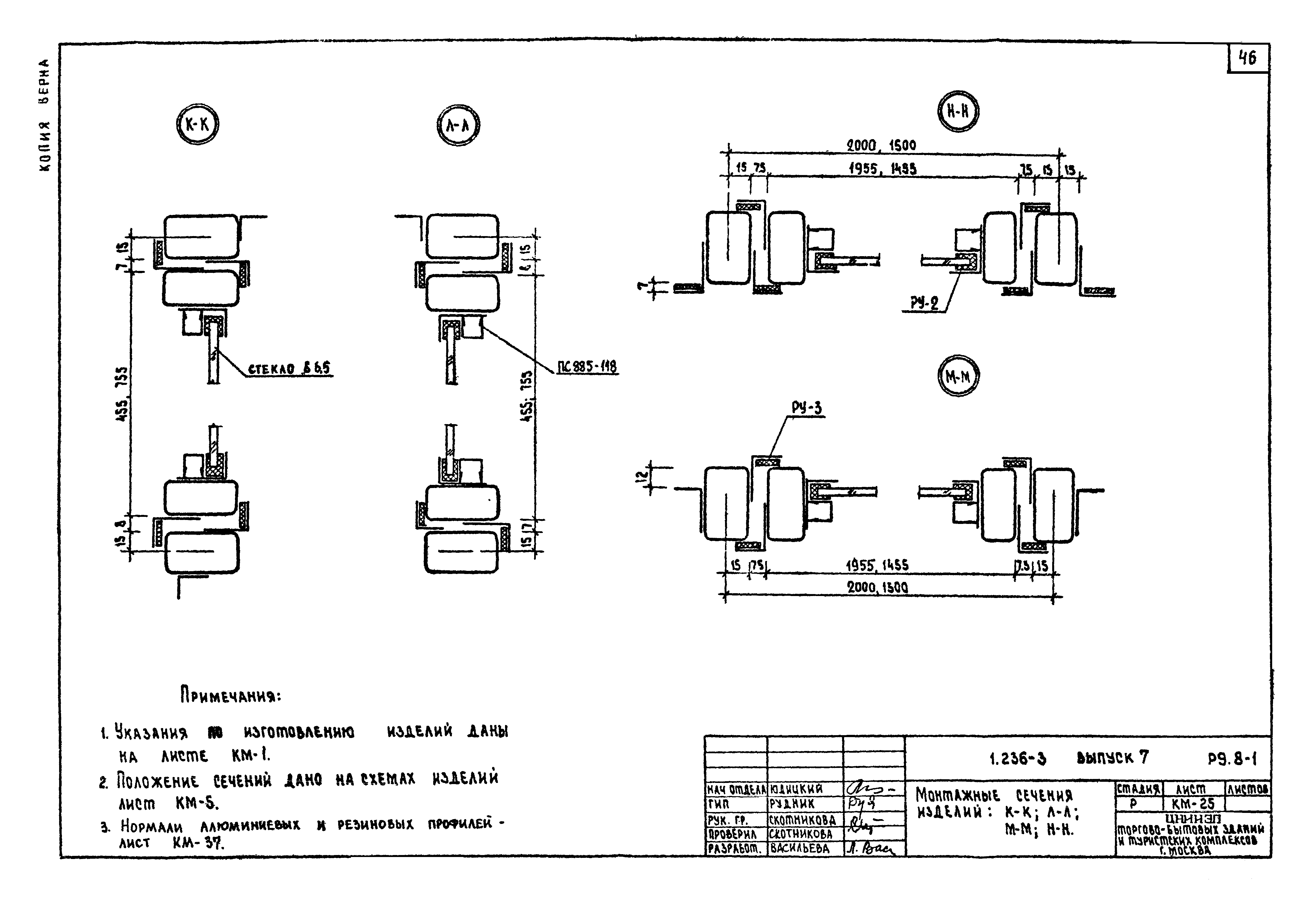
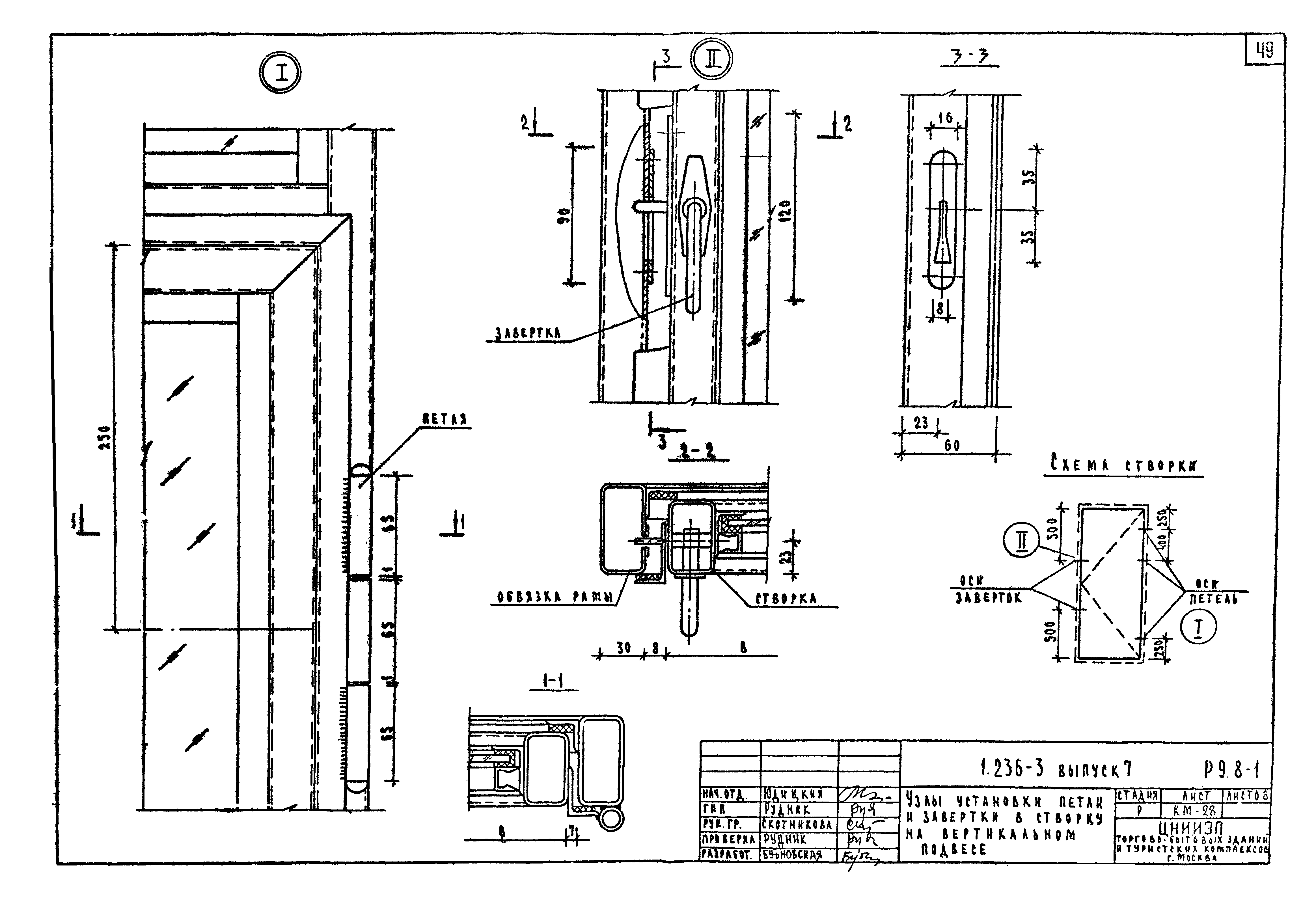
| Оглавление: | Обложка Титульный лист Содержание Общие указания Номенклатура изделий витражей Схема компоновки элементов номенклатуры для витражей с простеночными панелями Схема компоновки элементов номенклатуры для витражей в виде сплошной ленты Монтажные узлы I, II, III, IV Монтажные узлы V, VI, VII, VIII Монтажные узлы IX, X, XI, XII, XIII, XIV Монтажные сечения 1-1, 2-2, 4-4 Монтажные сечения 3-3, 5-5 Общие указания к листам КМ Конструкция изделий витражей высотой 2900, 2600, 2300, 2000 мм Конструкция изделий витражей высотой 1700, 1400 мм Конструкция изделий витражей высотой 1100, 800, 500 мм Узлы изделий 1, 2 Узлы изделий 3, 7 Узлы изделий 4, 5 Узлы изделий 6, 8 Узлы изделий 9, 15 Узлы изделий 10, 11 Узлы изделий 12, 13 Узлы изделий 24, 27 Узлы изделий 16, 17 Узлы изделий 18, 19 Узлы изделий 20, 21, 39, 40 Узлы изделий 22, 23 Узлы изделий 25, 26 Узлы изделий 14, 28, 29, 30 Узлы изделий 31, 32, 33, 34 Узлы изделий 35, 36, 37, 38 Конструкция створных элементов. Узлы 41, 42 Монтажные сечения изделий К-К, Л-Л, М-М, Н-Н Монтажные сечения изделий Д-Д, Е-Е, Ж-Ж, И-И Монтажные сечения изделий К-К, Л-Л, М-М, Н-Н Схема установки фрамужного прибора. Узел I Установка фрамужного прибора и защелки. Узлы II, III Узлы установки петли и завертки на створку на вертикальном подвесе Узлы установки петли и завертки на створку на горизонтальном подвесе Показатели расхода материалов Нормали алюминиевых и резиновых профилей, стальных пружинок |
| Разработан: | ЦНИИЭП торгово-бытовых зданий и туристских комплексов |
| Утверждён: | 11.09.1980 Государственный комитет по гражданскому строительству и архитектуре при Госстрое СССР (239) |
































































