Скачать Инструкция по эксплуатации судоподъемных сооружений

Дата актуализации: 01.01.2021

Инструкция по эксплуатации судоподъемных сооружений

Статус:утратил силу
Название рус.:Инструкция по эксплуатации судоподъемных сооружений
Дата добавления в базу:01.09.2013
Дата актуализации:01.01.2021
Дата окончания срока действия:03.05.1978
Область применения:В Инструкции рассматриваются устройство и обслуживание основных элементов слипа (судоподъемных и стапельньих тележек, подъемных лебедок, электрооборудования, подводных и надводных судоаозных путей и других сооружений); особенности технологии производства судоподъемных работ; эксплуатация слипа; способы повышения эффективности использования слипа при отрицательных температурах воздуха. Предназначается для инженерно-технических работников судоремонтных предприятий и обслуживающего персонала слипов и эллингов.
Оглавление:Введение
1. Особенности устройства и обслуживания слипов и эллингов
Принципы устройства и работы типовых слипов и эллингов
   Гребенчатый слип и эллинг
   Кормоподъемные устройства для гребенчатых слипов и эллингов
   Продольный двухопорный слип, эллинг и кормоподъемник
Подъемные тележки
   Типы подъемных тележек и их основные характеристики
   Подъемные тележки гребенчатых слипов
   Подъемные тележки эллинга типа "Убигау"
   Подъемные тележки продольных двухопорных слипов (эллингов) и судонатасок
Подъемные лебедки
   Типы подъемных лебедок и их основные характеристики
   Устройство для автоматического выключения лебедки при остановке подъемной тележки на спуске
   Защита лебедок от перегрузок
   Устройство для контроля величины перекоса поезда подъемных тележек с судном
Стапельные тележки
   Типы стапельных тележек и их основные характеристики
   Особенности работы гидравлической системы стапельных тележек
   Подвеска питающих кабелей
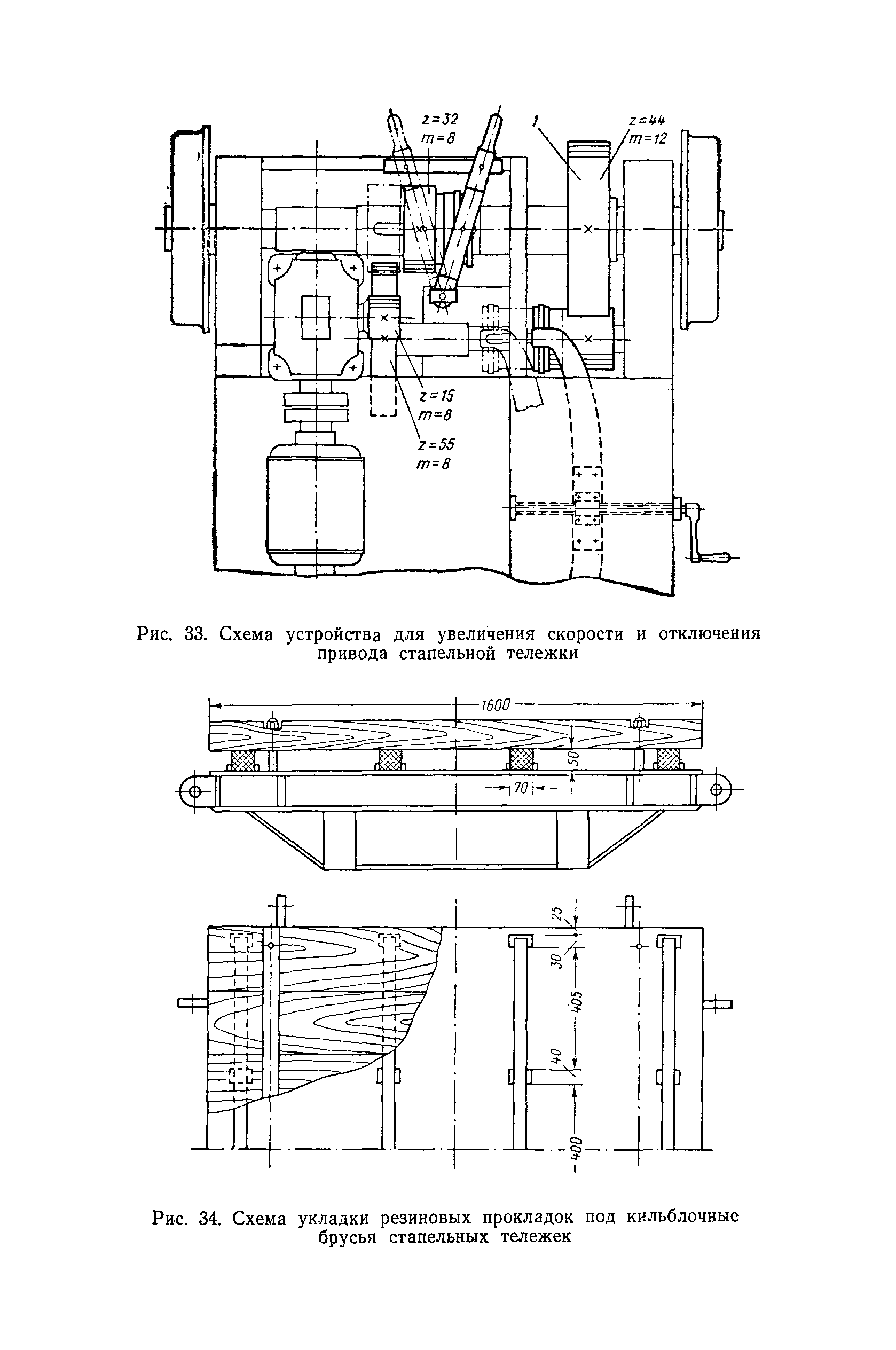
   Устройство для переключения шестерен привода стапельной тележки
   Способы ликвидации отставаний стапельных тележек при разгрузке
Уход за механическим оборудованием судоподъемных сооружений
   Общие требования по уходу
   Уход за тяговыми канатами
   Уход за зубчатыми передачами и редукторами при их эксплуатации и монтаже
   Уход за рамами механизмов
   Уход за соединительными и фрикционными муфтами
   Уход за канатными блоками
   Уход за тормозами
   Уход за валами, осями и подшипниками
Электрооборудование
   Назначение электропривода подъемных лебедок гребенчатых слипов
   Порядок включения электропривода подъемных лебедок поставки 1949-1951 гг.
   Схема контроля перекосов и пути, пройденного подъемными тележками поставки 1949-1951 гг.
   Особенности схемы электропривода подъемных лебедок поставки 1952 г
   Особенности схемы контроля перекосов и пути, пройденного подъемными тележками поставки 1952 г
   Особенности схемы электропривода подъемных тележек поставки 1953 г
   Особенности схемы контроля перекосов подъемных тележек поставки 1953 г
   Замена импортного электрооборудования слипов отечественным
   Особенности схемы электрооборудования гребенчатых слипов Г-150 и Г-300 (по типовому проекту 1963 г.)
   Электропривод одномоторных слипов и эллингов
   Электропривод продольного слипа П-600
   Электропривод судонатаски грузоподъемностью 60 т
   Электропривод наводочного шпиля (тяговое усилие 3 т)
   Электрооборудование стапельных тележек
Судовозные пути
   Общие требования
   Уход за подводными путями
   Уход за надводными путями
   Уход за пересечками стапельных путей
   Уход за твердыми покрытиями на стапелях слипов
Обслуживание слипов и эллингов при работе в условиях отрицательных температур воздуха
Организация планово-предупредительных осмотров и ремонтов
   Общие положения
   Осмотры и обследования сооружения
   Планирование и организация ремонта
   Прием сооружения после ремонта
II. Производство подъемно-спусковых работ
Подготовка судна к подъему
   Разработка схемы подъема судна и расчет нагрузок
   Расчет нагрузок от кормового (баксового) давления
   Пример расчетов установки судна на подъемные тележки слипа
   Проверка местной прочности корпусов судна
   Осмотр судна перед подъемом на слип
Подготовка судоподъемного сооружения к работе
   Подготовка судоподъемного оборудования
   Подготовка судовозных путей
Подъем судна из воды
   Общие указания
   Наводка и посадка судна на подъемные тележки
   Передвижение судна по наклонной плоскости слипа
   Пересадка судна с подъемных тележек на стапельные
   Передвижение судна по откатным путям
   Разворот стапельных тележек
   Передвижение поезда тележек по стапельным путям и установка судна на кильблочные тумбы
   Спуск судов на воду
   Подъем судов на поперечные слипы и эллинги типа "Убигау" с одномоторным приводом лебедок
   Подъем судов на продольные двухопорные слипы
Выполнение подъемно-спусковых работ в зимних условиях
    Подготовка слипа к подъему судов
   Подготовка судна к подъему
   Подъем судна по наклонному стапелю
Безопасность производства работ и пожарная безопасность на слипах (эллингах)
Разработан: Ленинградский институт водного транспорта Минречфлота РСФСР
Утверждён:30.09.1968 Министерство речного флота РСФСР
Издан: Издательство Транспорт (1969 г. )