Скачать Пособие по проектированию сети физкультурно-спортивных сооружений городов различной величины

Дата актуализации: 01.01.2021

Пособие по проектированию сети физкультурно-спортивных сооружений городов различной величины

Статус:действует
Название рус.:Пособие по проектированию сети физкультурно-спортивных сооружений городов различной величины
Дата добавления в базу:01.09.2013
Дата актуализации:01.01.2021
Область применения:В Пособии рассмотрены вопросы детальной планировки и застройки районов: состав сети физкультурно-спортивных сооружений городов, организационные формы их строительства и эксплуатации, общие принципы организации и размещения сети физкультурно-спортивных сооружений и их расчетные показатели, особенности построения сети физкультурно-спортивных сооружений в малых, средних , больших и крупнейших городах в пределах II и III строительно-климатических зон. Предназначено для архитекторов-проектировщиков.
Оглавление:Предисловие
1. Общие положения
   Состав сети физкультурно-спортивных сооружений города
   Организация физкультурно-спортивной работы, строительства н эксплуатации сооружений
   Теоретические основы построения сети
   Распределение физкультурно-спортивных сооружений по основным функциональным зонам города
2. Принципы организации сети физкультурно-спортивных сооружений селитебной зоны города
   Принципиальная структурная модель сети
   Преобразования принципиальной структурной модели сети в зависимости от величины города и его положения в системе группового расселения
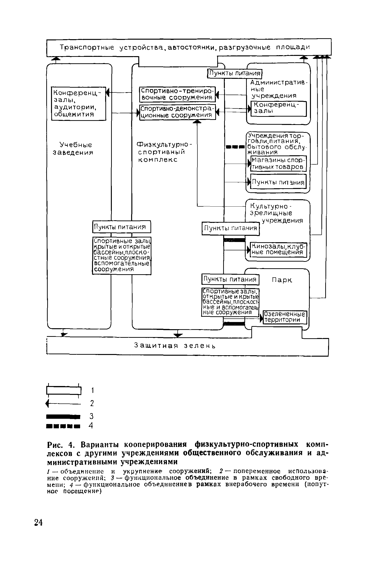
   Кооперированные сети физкультурно-спортивных сооружений с другими учреждениями общественного обслуживания
   Принципы размещения физкультурно-спортивных комплексов и требования к их участкам
   Реконструкции существующей сети
   Развитие сети на перспективу
   Художественно-образные характеристики системы физкультурно-спортивных сооружений
   Методика проектирования сети
3. Особенности проектирования сети физкультурно-спортивных сооружений в городах различной величины
   Малые города
   Средние. Большие и крупные города
   Крупнейшие города
Приложение 1. Состав и площадь сооружений комплексов площадок для игр детей дошкольного возраста
Приложение 2. Примерное оборудование комплексов площадок для игр детей дошкольного возраста -
Приложение 3. Состав и площадь сооружений комплексов площадок для игр детей младшего школьного возраста
Приложение 4. Состав и количество сооружений комплексов площадок для спортивных игр детей школьного возраста и взрослых
Приложение 5. Примерное оборудование комплексов площадок для игр детей младшего школьного возраста и для спортивных игр детей школьного возраста и взрослых
Приложение 6. Состав и количество сооружений зон спортивных сооружений общественных центров жилых районов
Приложение 7. Состав и количество сооружений спортивных центров планировочных районов и зон физкультурных сооружений парков культуры и отдыха
Приложение 8. Состав и количество сооружений общегородского спортивного центра
Приложение 9. Нормы расчета на 1000 жителей
Приложение 10. Состав и площадь участков общегородских физкультурно-спортивных сооружений, устраиваемых в зависимости от местных условий
Приложение 11. Количество мест для зрителей на трибунах
Приложение 12. Состав сооружений физкультурно-спортивных комплексов на 1-ю очередь и расчетный срок
Приложение 13. Расчет количества сооружений и размеров земельных участков физкультурно-спортивных комплексов
Приложение 14. Рекомендуемый состав сооружений общегородского спортивного центра на первую очередь строительства
Приложение 15. Показатели пропускной способности единицы территории открытых плоскостных сооружений
Список литературы
Разработан: ЦНИИЭП зрелищных зданий и спортивных сооружений им. Б.С. Мезенцева
Утверждён:26.05.1980 ЦНИИЭП зрелищных зданий и спортивных сооружений
Издан: Стройиздат (1980 г. )
Нормативные ссылки: