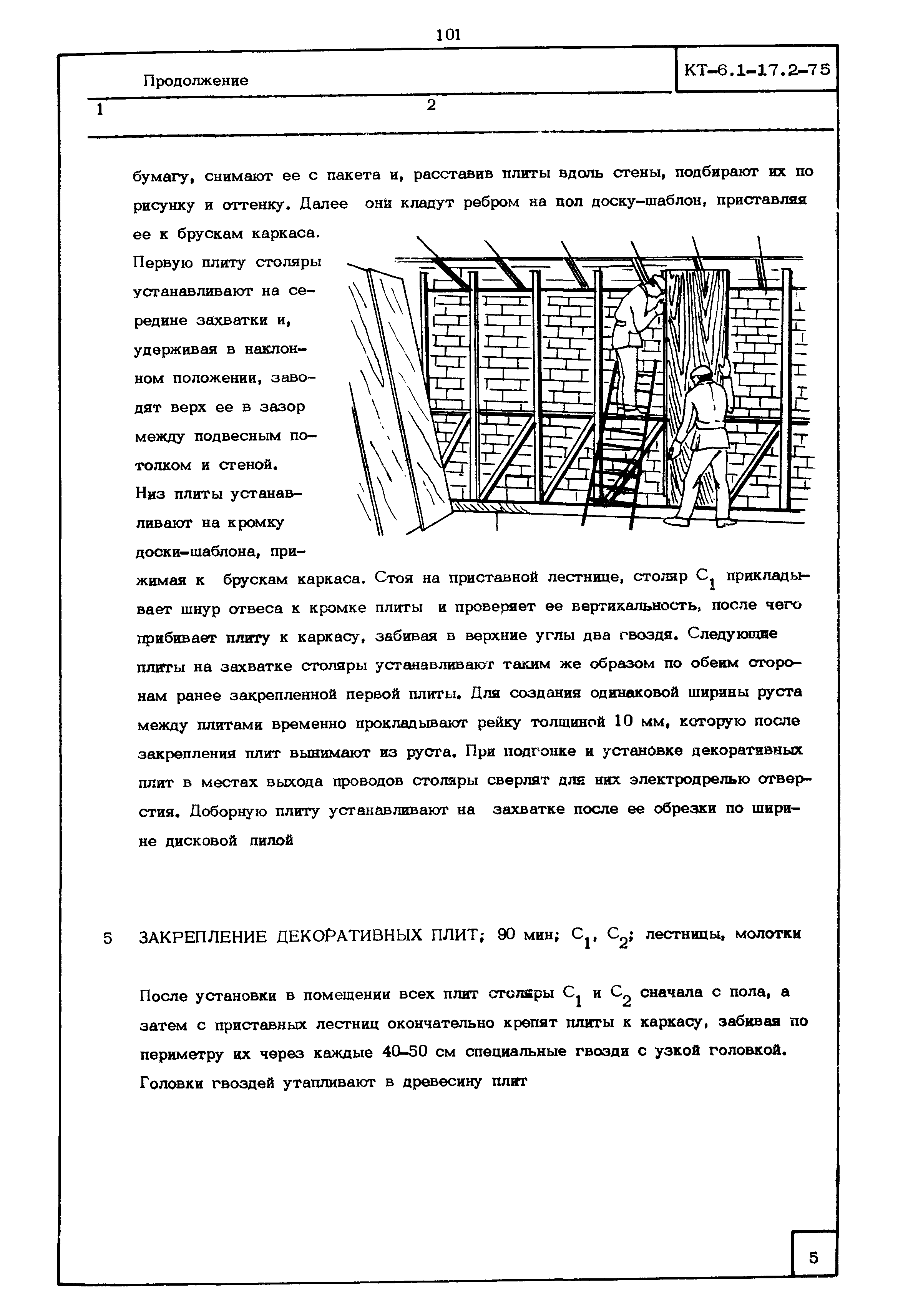
Скачать КТ 6.1-17.2-75 Обшивка стен декоративными древесно-стружечными плитамиДата актуализации: 01.01.2021
|
| Обозначение: | КТ 6.1-17.2-75 |
| Обозначение англ: | 6.1-17.2-75 |
| Статус: | не установлен срок действия |
| Название рус.: | Обшивка стен декоративными древесно-стружечными плитами |
| Дата добавления в базу: | 01.09.2013 |
| Дата актуализации: | 01.01.2021 |
| Область применения: | Карта предназначена для организации труда рабочих при обшивке стен древесно-стружечными декоративными плитами по деревянному каркасу. |
| Оглавление: | 1. Область и эффективность применения карты 2. Условия и подготовка выполнения процесса 3. Исполнители, предметы и орудия труда 4. Технология процесса и организация труда |
| Разработан: | Трест Ленинградоргстрой Главленингрдстроя |
| Принят: | ВНИПИ труда в строительстве Госстроя СССР (VNIPI of Labor in Construction, USSR Gosstroy ) |
| Заменяет собой: |
|
| Нормативные ссылки: |





