Скачать Типовой проект 409-28-41.86 Альбом I. Пояснительная записка. Технология производстваДата актуализации: 01.01.2021
|
| Обозначение: | Типовой проект 409-28-41.86 |
| Обозначение англ: | 409-28-41.86 |
| Статус: | действует |
| Название рус.: | Альбом I. Пояснительная записка. Технология производства |
| Дата добавления в базу: | 01.09.2013 |
| Дата актуализации: | 01.01.2021 |
| Дата введения: | 16.09.1985 |
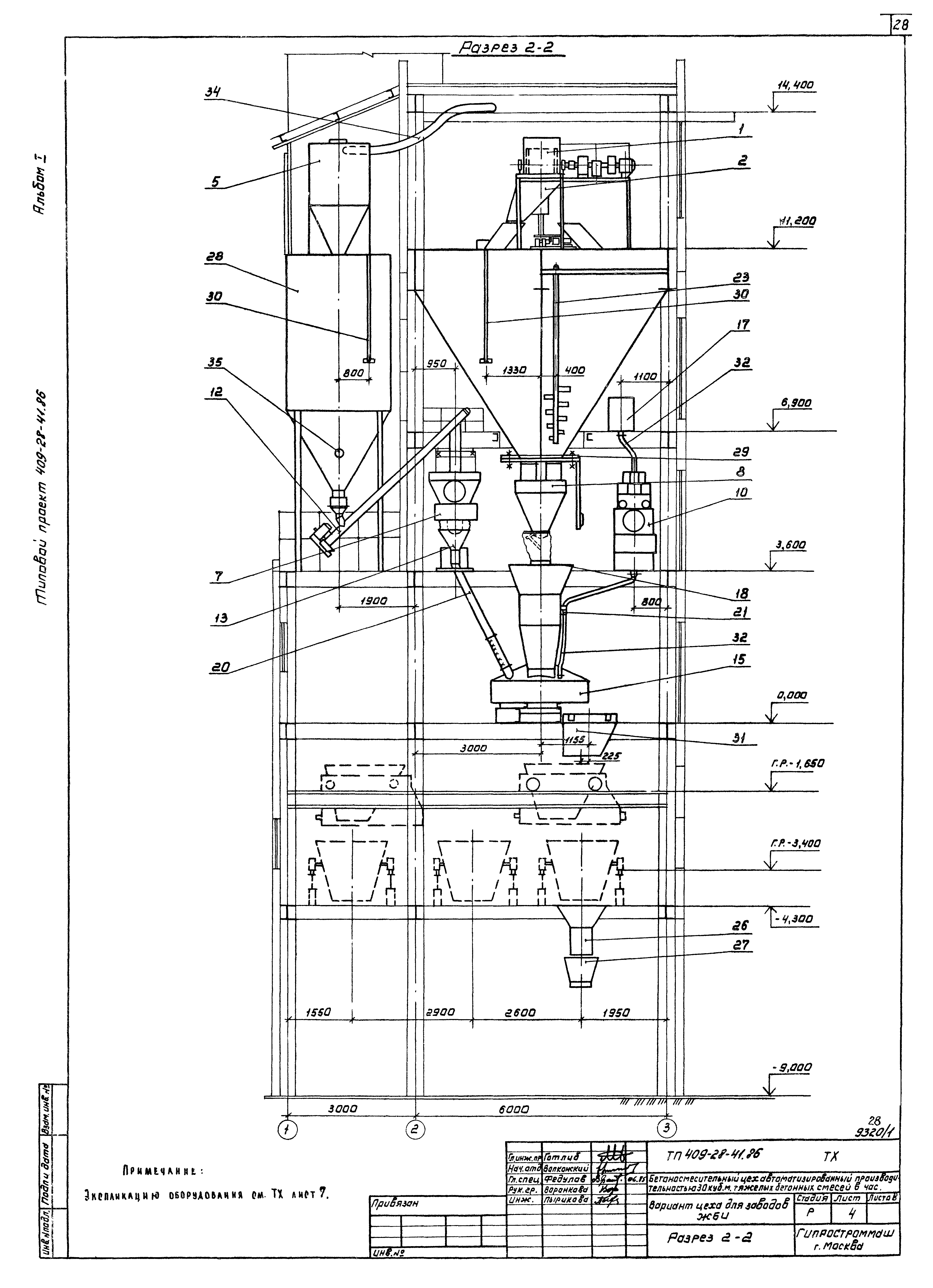
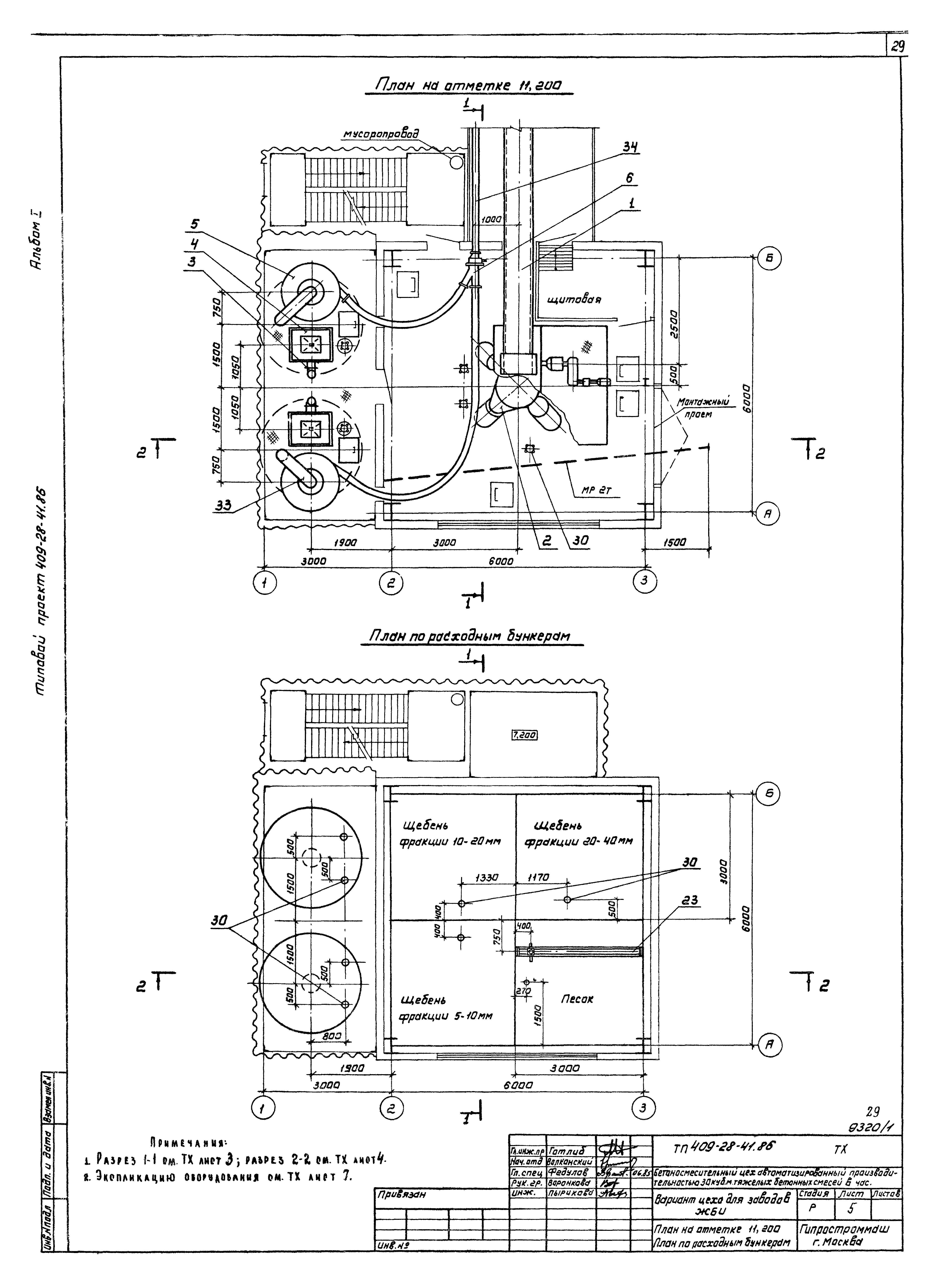
| Оглавление: | Содержание альбома Пояснительная записка Общие данные Технологическая схема Разрез 1-1 Разрез 2-2 План на отм. 11.200. План по расходным бункерам План на отм. 6.900 и 3.600 План на отм. 0.000. Экспликация Галерея подачи заполнителей. Разрезы 1-1, 2-2. План галереи |
| Разработан: | Гипростроммаш |
| Утверждён: | 15.03.1984 Минстройдормаш (Minstroydormash ) |

































