Скачать Рекомендации по изготовлению железобетонных самонапряженных низконапорных трубДата актуализации: 01.01.2021 |
| Статус: | не действует |
| Название рус.: | Рекомендации по изготовлению железобетонных самонапряженных низконапорных труб |
| Дата добавления в базу: | 01.09.2013 |
| Дата актуализации: | 01.01.2021 |
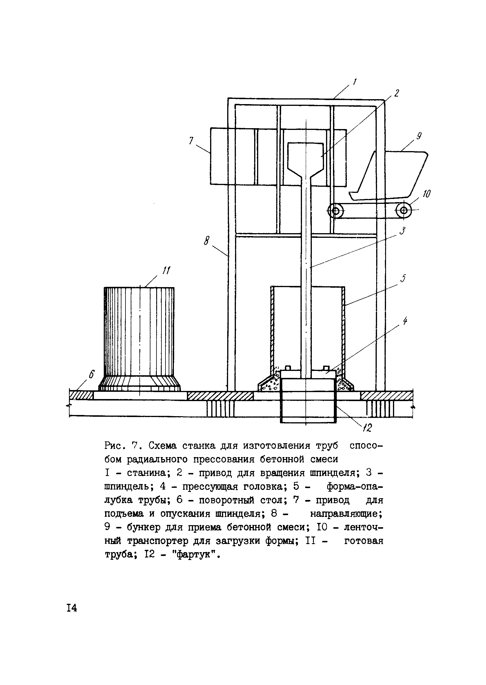
| Область применения: | В Рекомендациях рассмотрены основные положения технологии производства сборных железобетонных самонапряженных низконапорных и напорных труб III класса прочности на расчетное давление жидкости соответственно до 0,3 МПа и до 0,5 МПа диаметром от 300 до 2000 мм. Даны характеристики применяемых материалов, изложена последовательность основных технологических переделов на оборудовании, мало отличающемся от оборудования для производства железобетонных безнапорных труб. Приведены требования к испытанию и применение труб, а также методы контроля качества изделий, показана технико—экономическая эффективность производства железобетонных самонапряженных низконапорных труб. Рекомендации предназначены для инженерно—технических работников промышленности сборного железобетона. |
| Оглавление: | Предисловие 1. Основные положения и область применения 2. Требования к материалам 3. Изготовление арматурных каркасов и подготовка форм к бетонированию 4. Приготовление бетонной смеси 5. Формование труб 6. Производство низконапорных труб с пропариванием в формах в вертикальном положении 7. Производство низконапорных труб с пропариванием в формах в горизонтальном положении 8. Производство напорных труб III класса прочности 9. Шлифование концов труб 10. Испытание труб и их приемка 11. Контроль качества бетона Приложение. Технико-экономическая эффективность производства железобетонных самонапряженных низконапорных и напорных труб III класса прочности |
| Разработан: | МИСИ им. В.В. Куйбышева Минвуза СССР НИИЖБ Госстроя СССР |
| Утверждён: | 18.11.1980 НИИЖБ Госстроя СССР (NIIZhB, USSR Gosstroy ) |
| Нормативные ссылки: |
|







































