Скачать МУ 2729-83 Методические указания по фотометрическому определению метилового эфира метоксиуксусной кислоты в воздухеДата актуализации: 01.01.2021
|
| Обозначение: | МУ 2729-83 |
| Обозначение англ: | MU 2729-83 |
| Статус: | справочные материалы, мп, тпр |
| Название рус.: | Методические указания по фотометрическому определению метилового эфира метоксиуксусной кислоты в воздухе |
| Дата добавления в базу: | 01.10.2014 |
| Дата актуализации: | 01.01.2021 |
| Область применения: | Методические указания распространяются на определение содержания вредных веществ в воздухе промышленных помещений при санитарном контроле. |
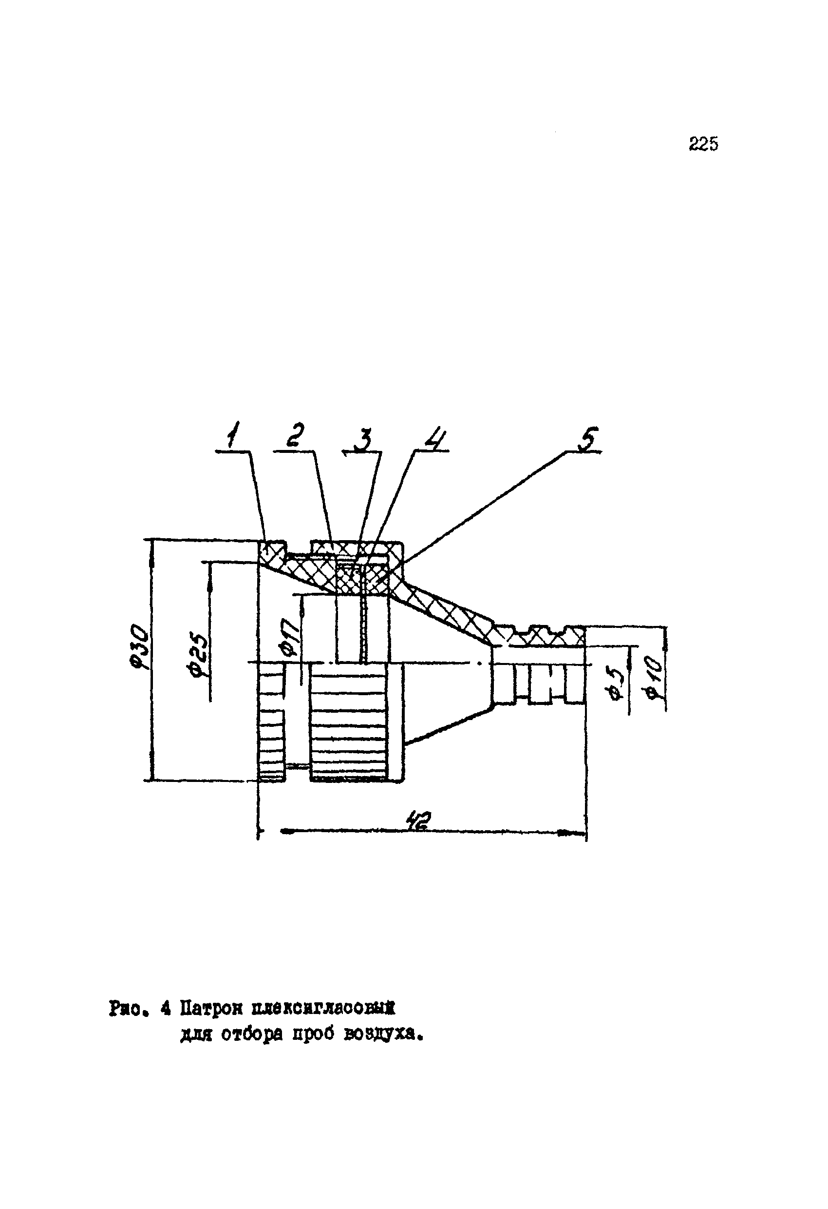
| Оглавление: | I Общая часть II Реактивы и аппаратура III Отбор пробы воздуха IV Описание определения Приложение 1. Формула для приведения объема воздуха к стандартным условиям Приложение 2. Таблица коэффициентов для приведения объема воздуха к стандартным условиям Приложение 3. Рисунки к сборнику № 18 Приложение 4. Перечень учреждений, представивших методические указания в данный сборник |
| Утверждён: | 21.04.1983 Заместитель Главного государственного санитарного врача СССР |
| Нормативные ссылки: |
|























