Скачать Рекомендации по проектированию комплексной схемы художественного и монументально-декоративного оформления города

Дата актуализации: 01.01.2021

Рекомендации по проектированию комплексной схемы художественного и монументально-декоративного оформления города

Статус:не действует
Название рус.:Рекомендации по проектированию комплексной схемы художественного и монументально-декоративного оформления города
Дата добавления в базу:01.09.2013
Дата актуализации:01.01.2021
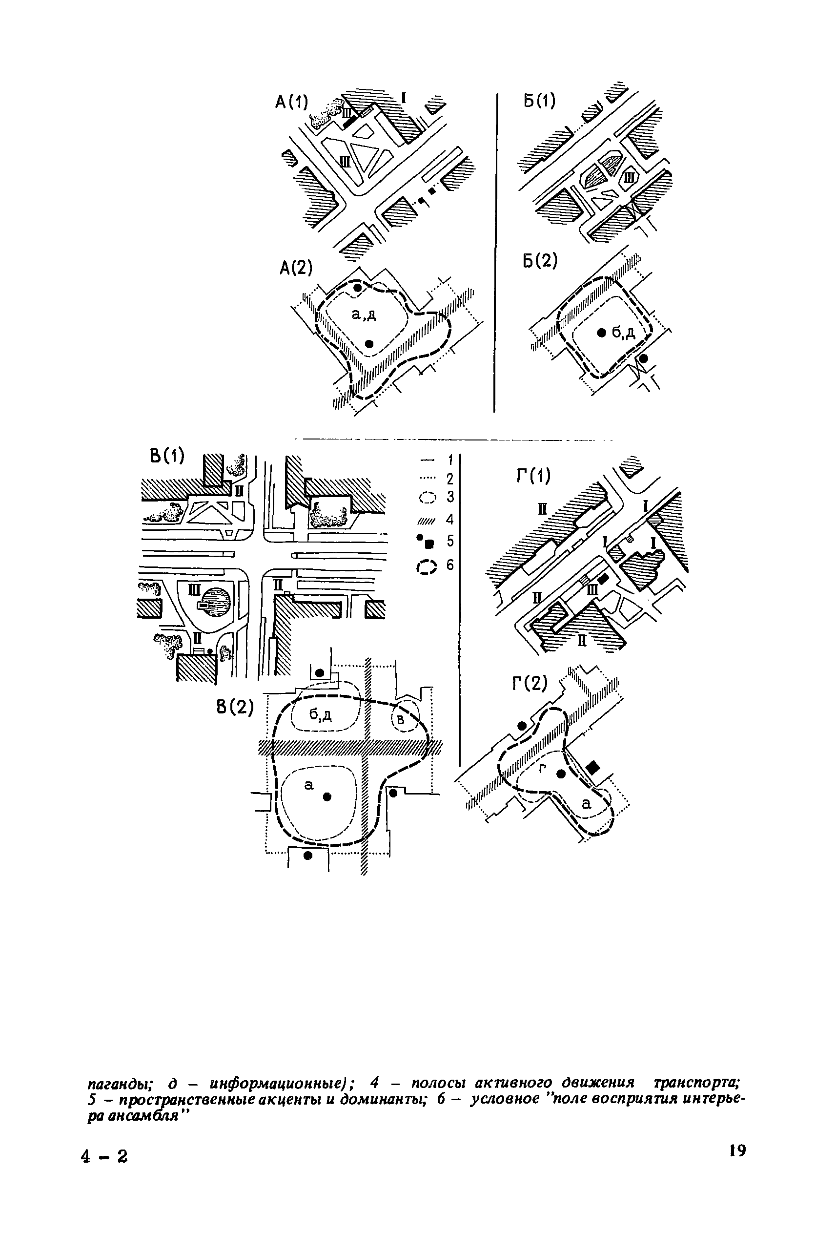
Область применения:Рекомендации содержат основные принципы и методику проектирования системы объектов монументальной пропаганды, наглядной агитации, информации и специального благоустройства при решении общеградостроительных задач и при формировании отдельных городских ансамблей. Рассмотрены основные факторы и приемы проектирования, последовательность и особые случаи составления проекта комплексного монументально-декоративного оформления городской среды.
Оглавление:1. Общая часть
2. Основные элементы и средства монументально-декоративного и художественного оформления города
3. Варианты пространственных сочетаний элементов городского оформления
4. Принципы комплексного решения задач художественного и монументально-декоративного оформления города
5. Ландшафтно-пространственный анализ городской территории
6. Анализ интенсивности и характера использования городской территории
7. Анализ размещения памятных и исторических мест на территории города
8. Анализ планированной структуры и тематического зонирования городской системы оформления
9. Генеральная схема комплексного монументально-декоративного и художественного оформления
10. Особые случаи проектирования и реализации генеральной схемы комплексного оформления города
11. Принципы разработки комплексного оформления отдельных городских ансамблей
12. Учет динамики городской среды при проектировании комплексного оформления отдельных городских ансамблей
13. Предпроектный пространственный анализ фрагментов городской среды, подлежащих комплексному монументально-декоративному оформлению
14. Составление проекта комплексного художественного и монументально-декоративного оформления отдельного городского ансамбля
Разработан: МАрхИ
Утверждён: Московский Ордена Трудового Красного Знамени архитектурный институт (МАрхИ)
Издан: Стройиздат (1986 г. )