Скачать Рекомендации по конструированию и расчету панельно-блочных зданий с применением объемных блоков типа колпакДата актуализации: 01.01.2021 |
| Статус: | действует |
| Название рус.: | Рекомендации по конструированию и расчету панельно-блочных зданий с применением объемных блоков типа "колпак" |
| Дата добавления в базу: | 01.09.2013 |
| Дата актуализации: | 01.01.2021 |
| Область применения: | Документ содержит правила конструирования и расчета, а также основные положения по изготовлению и технико-экономическому анализу конструкций зданий панельно-блочной конструктивной системы. Приводятся рекомендации по дальнейшему совершенствованию массового городского и сельского жилищного строительства путем снижения суммарной и построечной трудоемкости, а также сроков возведения зданий за счет применения объемных блоков и пространственных элементов в сочетании с крупнопанельными конструкциями стен и перекрытий. |
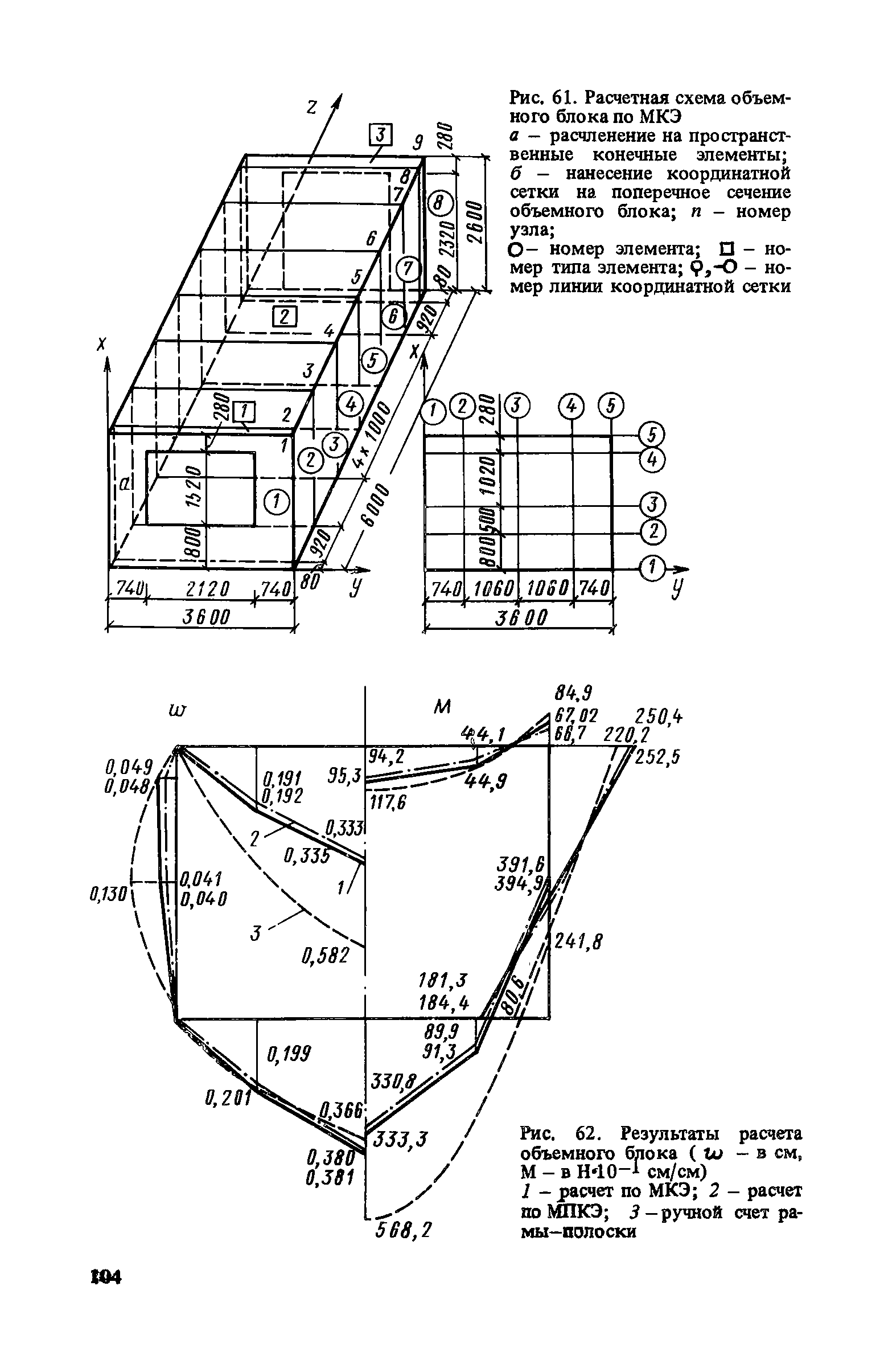
| Оглавление: | 1. Общая часть 2. Конструктивные решения панельно-блочных зданий Конструктивная схема Модульная координация и привязка объемных блоков и пространственных элементов к планировочным осям 3. Конструктивные решения объемных блоков и пространственных элементов Номенклатура и типоразмеры изделий Материалы для конструкций зданий Конструкция объемных блоков Армирование объемных блоков Наружные стены зданий Узлы, стыки, связи зданий с применением объемных блоков Лестнично-лифтовые узлы Лоджии, балконы, эркеры Прочие элементы зданий Принципы изготовления объемных блоков и пространственных элементов Особенности транспортирования блоков и пространственных элементов и монтажа зданий 4. Расчеты конструкций зданий Нагрузки и воздействия Расчет на эксплуатационные воздействия Определение усилий в плоскостях граней элементов зданий Определение эксцентриситетов действия вертикальных сил из плоскости граней Проверка несущей способности стен Расчет на транспортные и монтажные воздействия Расчет на аварийные воздействия Жесткостные характеристики связей 5. Технико-экономические основы конструирования зданий с применением несущих бетонных объемных блоков Основные методические положения технико-экономической оценки Проектные технико-экономические показатели зданий Технико-экономические обоснования создания производственной базы для строительства зданий с применением объемных блоков Технико-экономическое обоснование выбора конструктивных систем здания и определения рациональных областей их применения Приложение 1. Рекомендации по расчету малых объемных блоков Приложение 2. Расчет симметричной рамы с дополнительными связями на поперечный изгиб Приложение 3. Предельная несущая способность внецентренно-сжатых бетонных сечений стен Приложение 4. Формулы для приближенного расчета объемных блоков по деформациям и в стадии предельного равновесия Приложение 5. Расчет составного стержня из двух ветвей на сжатие осевыми силами при отсутствии изгиба Приложение 6. Пример расчета блок-секции Приложение 7. Определение прогибов консольных диафрагм жестокости от единичной горизонтальной нагрузки Приложение 8. Применение метода конечных элементов (МКЭ) и метода пространственных конечных элементов (МПКЭ) для пространственного расчета отдельных объемных блоков на поперечный изгиб Список литературы |
| Разработан: | ЦНИИЭП жилища |
| Утверждён: | ЦНИИЭП жилища Госгражданстроя |
| Издан: | Стройиздат (1986 г. ) |
| Нормативные ссылки: |
|













































































































