Скачать Рекомендации по определению геометрических параметров кубов и поверке форм для контрольных образцов бетона

Дата актуализации: 01.01.2021

Рекомендации по определению геометрических параметров кубов и поверке форм для контрольных образцов бетона

Статус:не действует
Название рус.:Рекомендации по определению геометрических параметров кубов и поверке форм для контрольных образцов бетона
Дата добавления в базу:01.09.2013
Дата актуализации:01.09.2013
Область применения:Документ содержит методику определения отклонений от плоскостности и перпендикулярности граней кубов бетона, позволяющую установить соответствие образцов требованиям ГОСТ 10180-78, а также форм для изготовления - ГОСТ 22685-77. Способствует решению задач по экономному расходованию цемента при производстве сборных железобетонных изделий и конструкций
Оглавление:1. Общие положения
2. Определение геометрических параметров опорных граней куба с помощью стационарного прибора
3. Определение отклонения от плоскостности опорных граней куба с помощью переносного прибора
4. Определение отклонения от перпендикулярности граней куба с помощью переносного прибора
5. Определение геометрических параметров форм для контрольных кубов бетона
6. Ведомственная поверка форм для контрольных образцов бетона
Приложение 1. Определение отклонений от плоскостности и перпендикулярности граней цилиндров и призм
Приложение 2. Примеры обработки результатов измерений кубов с помощью стационарного прибора
Приложение 3. Примеры обработки результатов измерений кубов с помощью переносных приборов
Приложение 4. Пример обработки результатов измерений формы для кубов
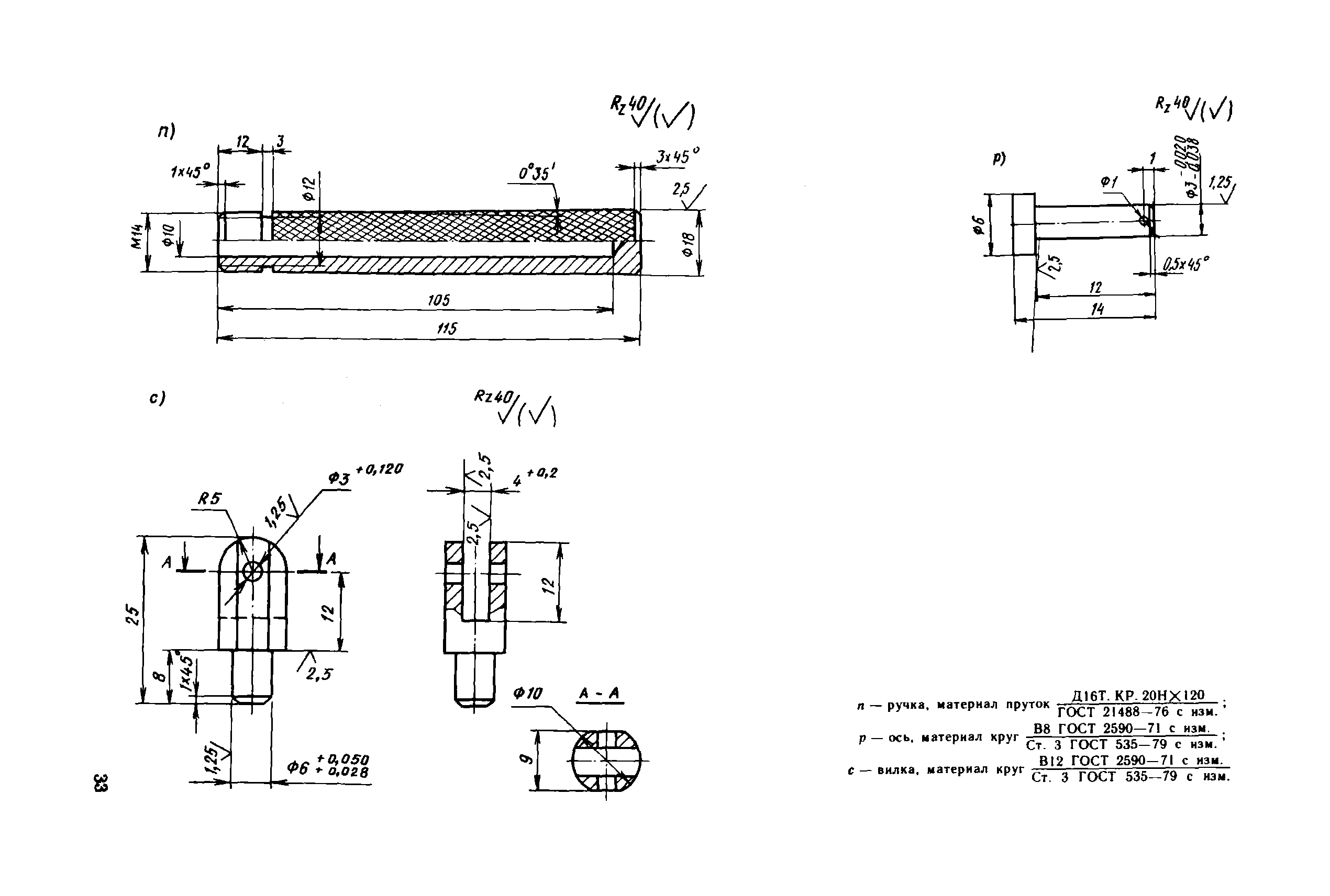
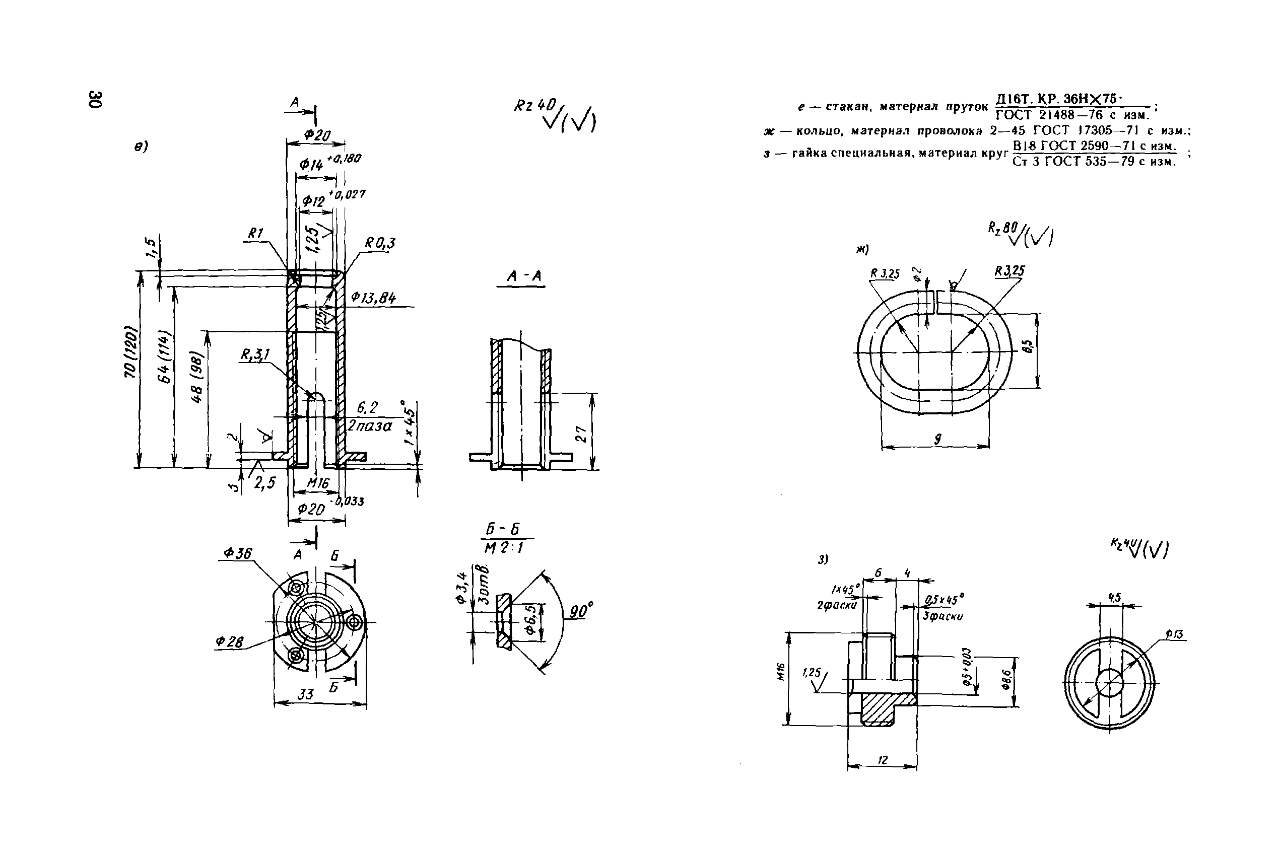
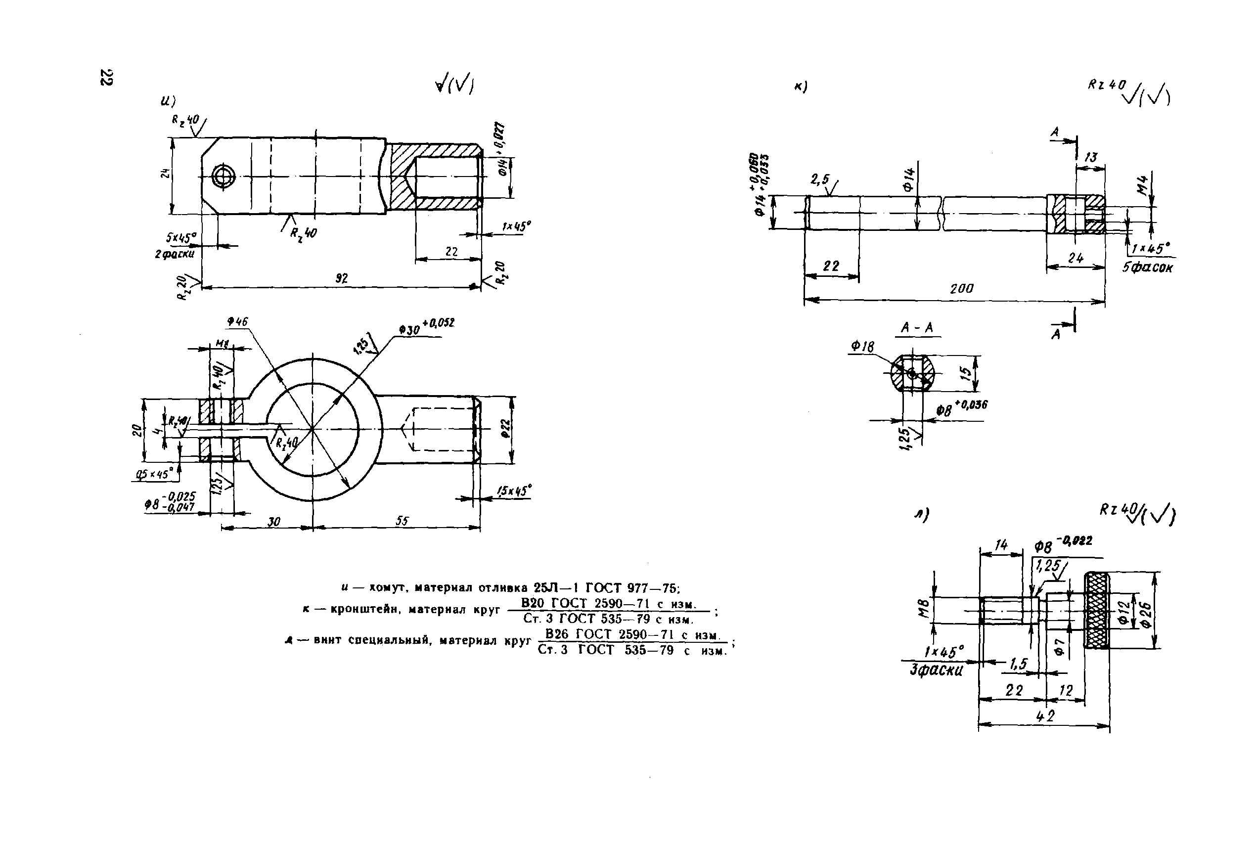
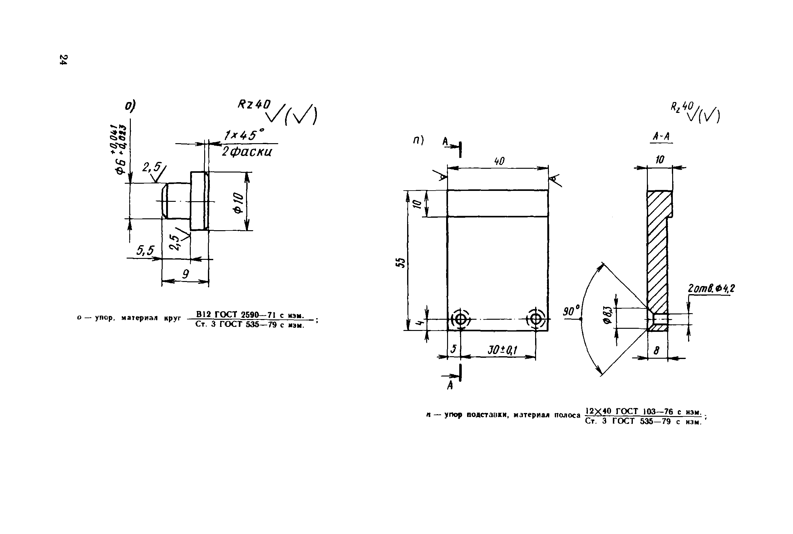
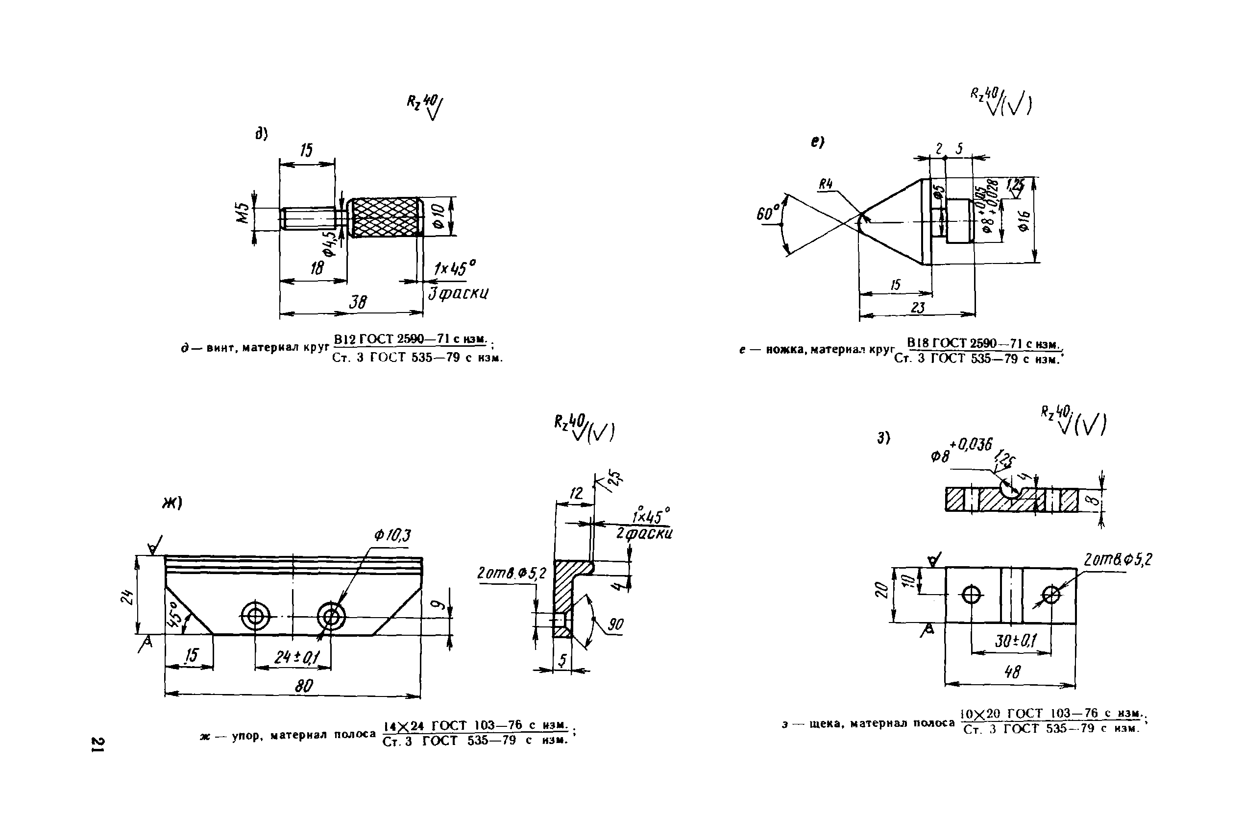
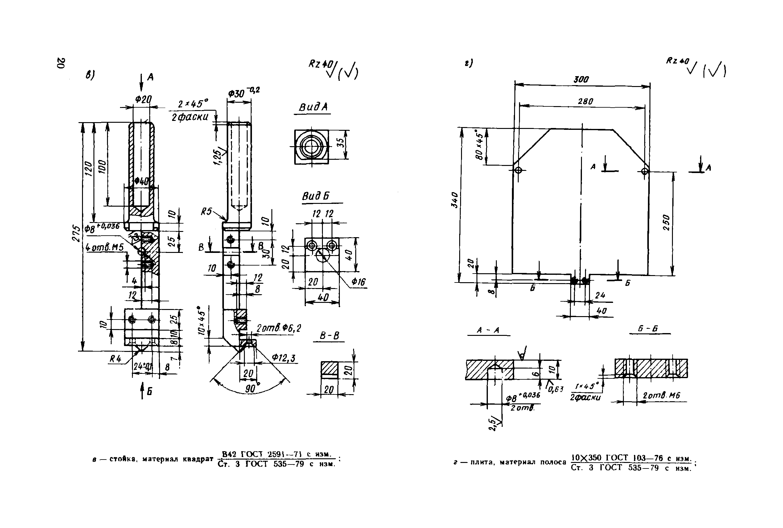
Приложение 5. Стационарный прибор для измерения геометрических параметров опорных граней кубов
Приложение 6. Переносной прибор для определения отклонений от плоскостности опорных граней куба (НПЛ-4)
Приложение 7. Переносной прибор для определения отклонений от перпендикулярности опорных граней куба (НПР-2)
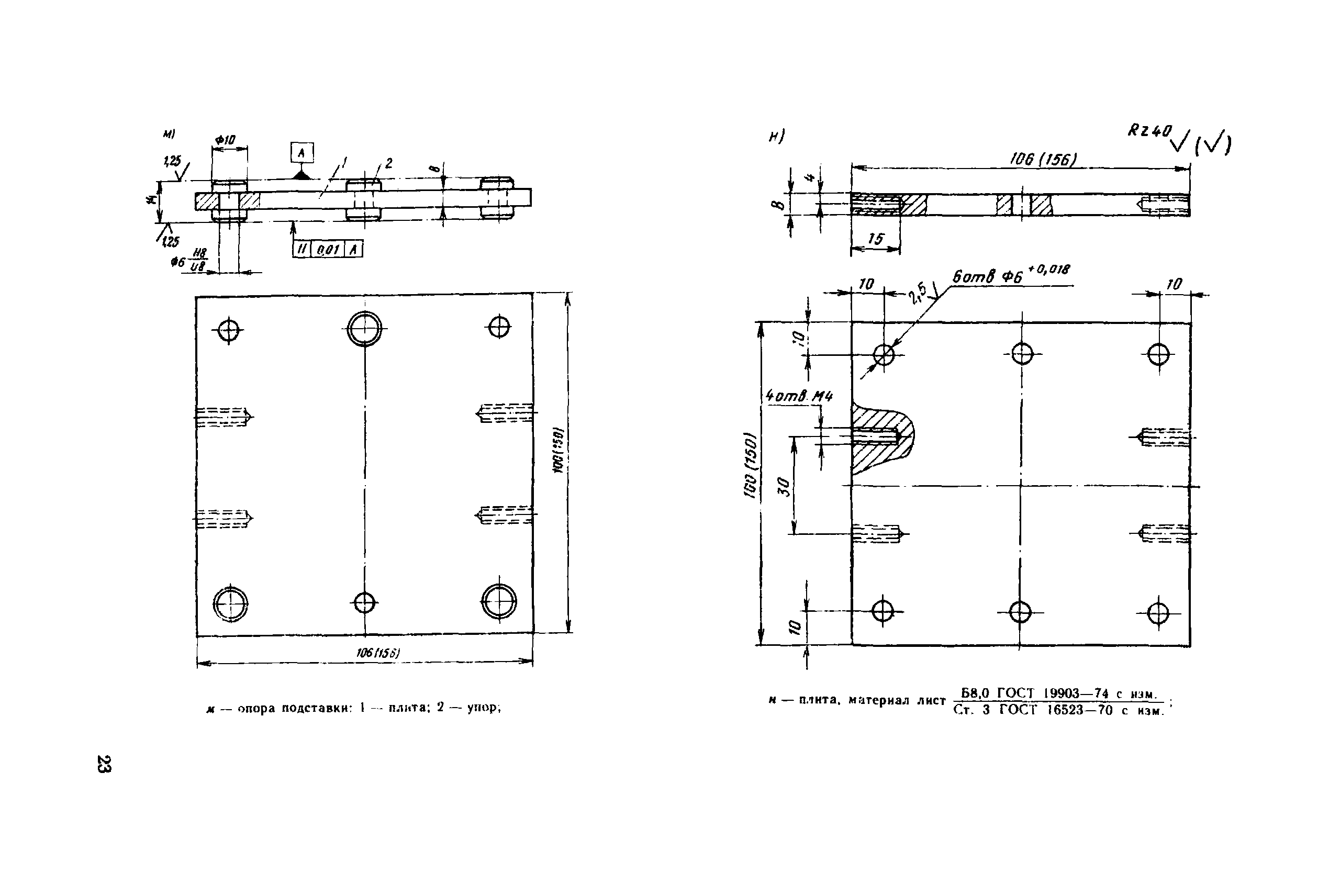
Приложение 8. Переносной прибор для определения отклонений от плоскостности граней формы (НПЛ-1)
Приложение 9. Переносной прибор для определения отклонения от перпендикулярности граней формы (НПР-1)