Скачать Инструкция по технической эксплуатации крупноблочных жилых домов

Дата актуализации: 01.01.2021

Инструкция по технической эксплуатации крупноблочных жилых домов

Статус:не действует
Название рус.:Инструкция по технической эксплуатации крупноблочных жилых домов
Дата добавления в базу:01.09.2013
Дата актуализации:01.01.2021
Область применения:В документе рассматриваются вопросы технической эксплуатации крупноблочных жилых домов, построенных из различных стеновых материалов с применением сборных конструкций и новых синтетических материалов
Оглавление:Аннотация
Введение
Общие указания
Раздел первый. Содержание отдельных частей крупноблочных жилых домов
   Общая часть
   Глава I. Фундаменты и подвальные помещения
      1. Краткое описание сборных фундаментов и стен подвальных помещений
      2. Содержание фундаментов. Подвальных помещений и технических подполий
   Глава II. Стены
      1. Краткое описание стен крупноблочных жилых домов
      2. Содержание крупноблочных стен
         а) Выявление и устранение повреждений стен и заделка стыков
         б) Устранение отсыревания и промерзания наружных стен
   Глава III. Фасады и балконы
      1. Краткое описание
      2. Содержание фасадов
      3. Содержание выступающих архитектурных деталей фасадов (балконов, эркеров, карнизов и др.)
   Глава IV. Перекрытия и полы
      1. Краткое описание
      2. Содержание перекрытий и полов
   Глава V. Перегородки
      1. Краткое описание
      2. Содержание перегородок
      3. Усиление звукоизоляции внутренних стен
   Глава VI. Крыши и чердачные помещения
      1. Краткое описание
      2. Содержание крыш и чердачных помещений
   Глава VII. Окна и двери
       1. Краткое описание
       2. Содержание спаренных оконных переплетов и балконных дверей
   Глава VIII. Лестницы
      1. Краткое описание
      2. Содержание лестниц
Раздел второй. Содержание инженерного оборудования в крупноблочных домах
   Глава IX. Центральное отопление
      1. Краткое описание
      2. Содержание системы центрального отопления
   Глава X. Холодное и горячее водоснабжение, канализация
      1. Краткое описание
      2. Содержание системы водопровода и канализации
   Глава XI. Электроснабжение
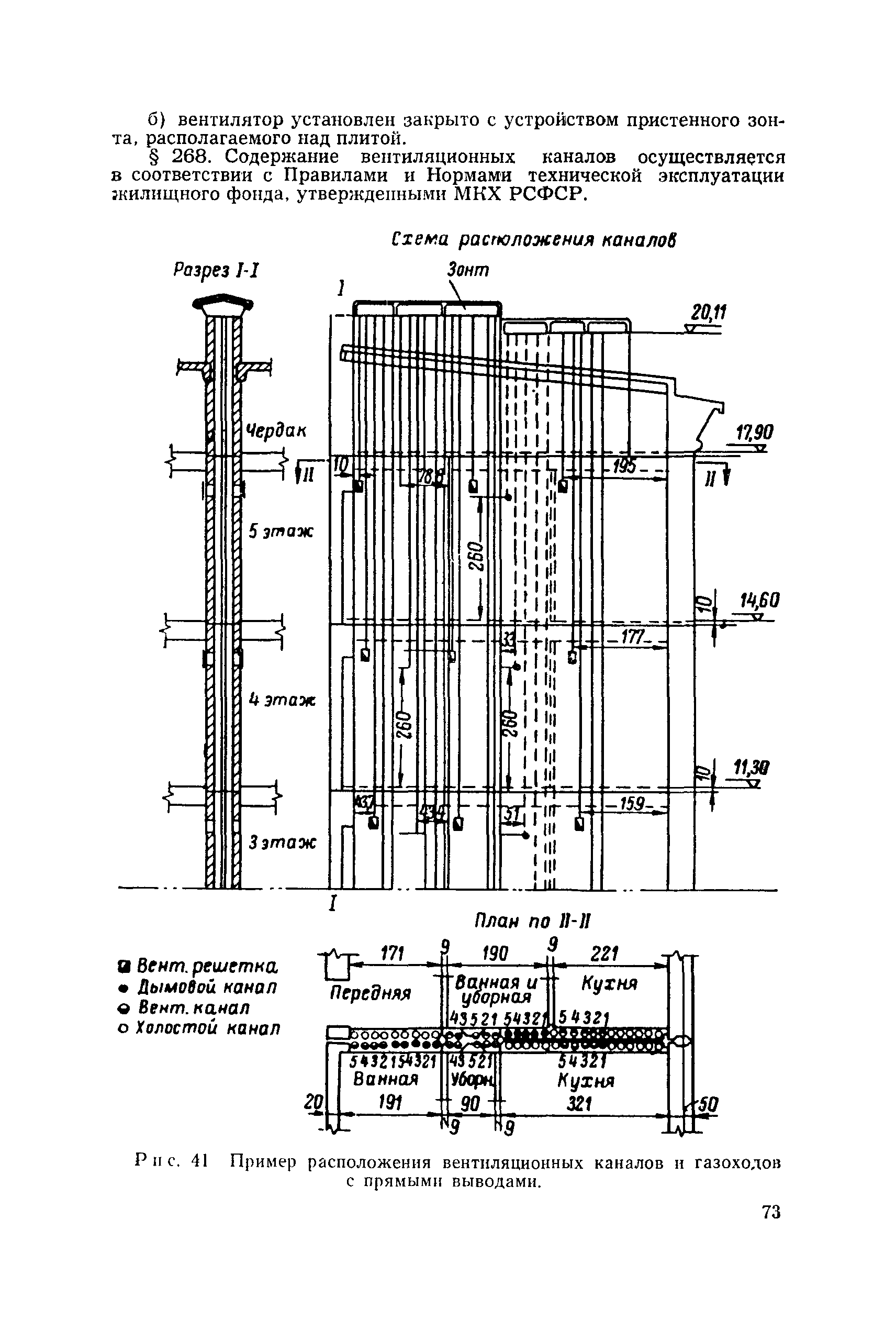
   Глава XII. Вентиляция
      1. Краткое описание
Приложение 1. Перечень основных документов, предъявляемых застройщиком (заказчиком) Государственной комиссии по приемке жилых зданий в эксплуатацию
Приложение 2. Основные недостатки, возникающие при эксплуатации подземной части крупноблочных жилых домов, и рекомендации по их устранению
Приложение 3. Выписка из временных указаний по гидрофобизационной защите стыков наружных стен и фасадов полносборных зданий (ВСН-7-64)
Приложение 4. Указание по наблюдению за трещинами в крупноблочных домах
Приложение 5. Указания по технологии очистки эксплуатируемых фасадов от загрязнений
Разработан: Ленинградский НИИ АКХ им. К.Д. Памфилова
Утверждён:05.05.1966 Министерство коммунального хозяйства РСФСР (147)
Принят:25.12.1965 Госстрой РСФСР (Russian Federation Gosstroy )
Заменяет собой:
  • «Инструкция (временная) по технической эксплуатации крупноблочных и крупнопанельных жилых домов» (1961 год)
Нормативные ссылки: