Скачать Руководство по выполнению отделочных работ индустриальными методамиДата актуализации: 01.01.2021 |
| Статус: | действует |
| Название рус.: | Руководство по выполнению отделочных работ индустриальными методами |
| Дата добавления в базу: | 01.09.2013 |
| Дата актуализации: | 01.01.2021 |
| Область применения: | В документе рассмотрены вопросы выполнения отделочных работ индустриальными методами из стандартных отделочных материалов индустриального изготовления. Систематизированы и конкретизированы требования к отделочным материалам. Описаны рациональные способы выполнения отделочных операций. Приведены данные по расходу материалов и трудозатратам на 1 м2 отделки помещений. Руководство предназначено для инженерно-технических работников проектных в строительных организаций, занимающихся внутренней отделкой зданий общественного, культурно-бытового и административного назначения. |
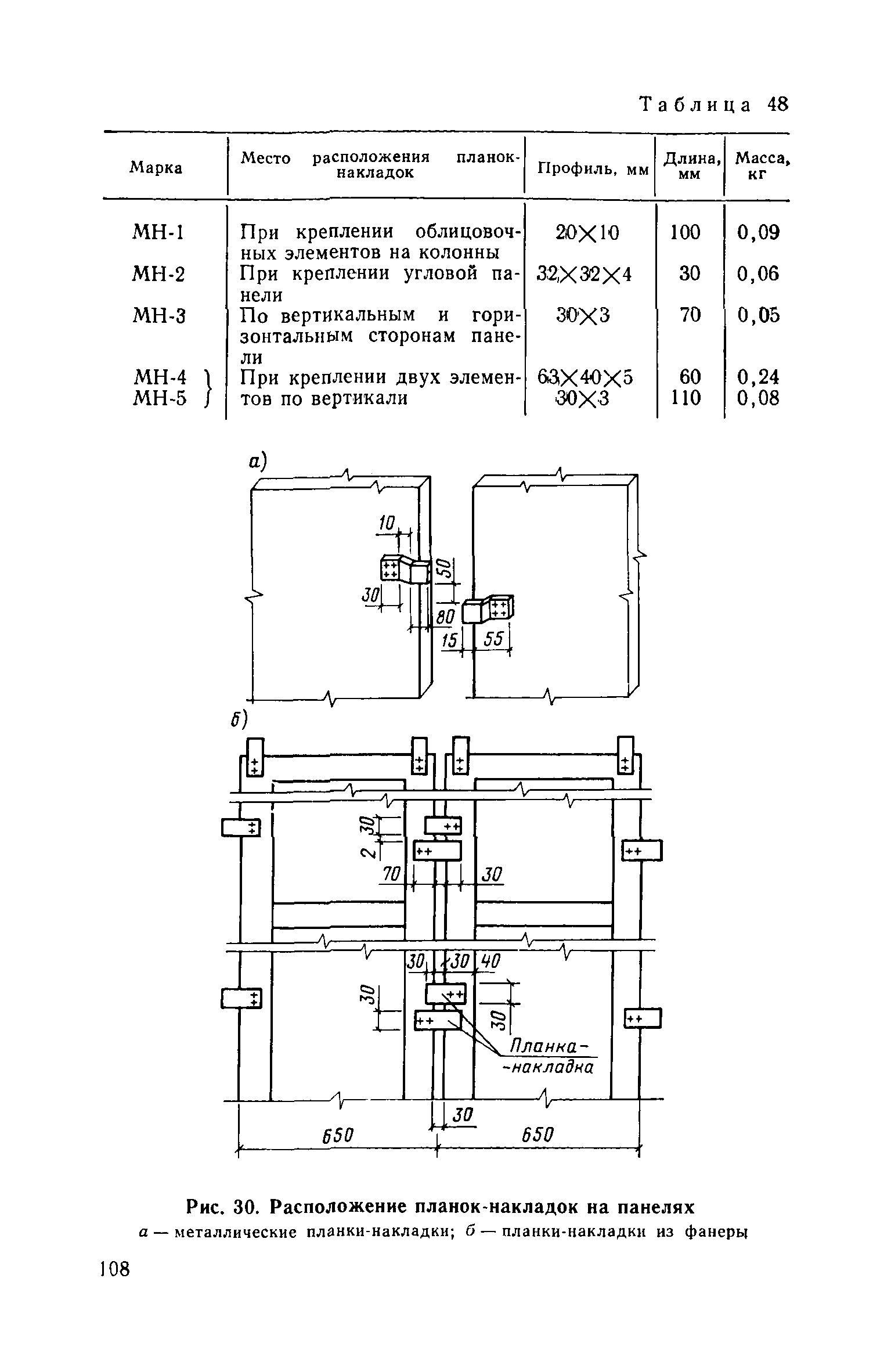
| Оглавление: | Предисловие 1. Общие положения 2. Стандартные отделочные изделия и элементы индустриального изготовления 3. Устройство подвесных потолков 4. Облицовка стен стандартными изделиями и элементами индустриального изготовления 5. Устройство перегородок 6. Устройство полов с использованием индустриальных изделий Приложение. Список предприятий, выпускающих индустриальные изделия для индустриальных методов отделки |
| Разработан: | ЦНИИОМТП |
| Утверждён: | ЦНИИОМТП Госстроя СССР (TsNIIOMTP, USSR Gosstroy ) |
| Издан: | Стройиздат (1979 г. ) |
| Нормативные ссылки: |
|









































































































































































