Скачать РД 39-1-73-78 Руководство по применению потокометрических скважинных измерений при послойном определении характеристик эксплуатируемого разреза для контроля разработки нефтяных месторожденийДата актуализации: 01.01.2021
|
| Обозначение: | РД 39-1-73-78 |
| Обозначение англ: | RD 39-1-73-78 |
| Статус: | не действует |
| Название рус.: | Руководство по применению потокометрических скважинных измерений при послойном определении характеристик эксплуатируемого разреза для контроля разработки нефтяных месторождений |
| Дата добавления в базу: | 01.09.2013 |
| Дата актуализации: | 01.01.2021 |
| Дата введения: | 01.08.1978 |
| Дата окончания срока действия: | 01.08.1982 |
| Область применения: | Руководство предназначено для повышения информативности глубинных потокометрических исследований действующих скважин, т. е. исследований связанных с измерением профилей притока и приемистости, с определением мест притока воды, а также с послойным определением характеристик разреза. В Руководстве рассмотрены как технологические вопросы, связанные с проведением указанных выше измерений, так и вопросы связанные с обработкой и интерпретацией полученных результатов измерений. |
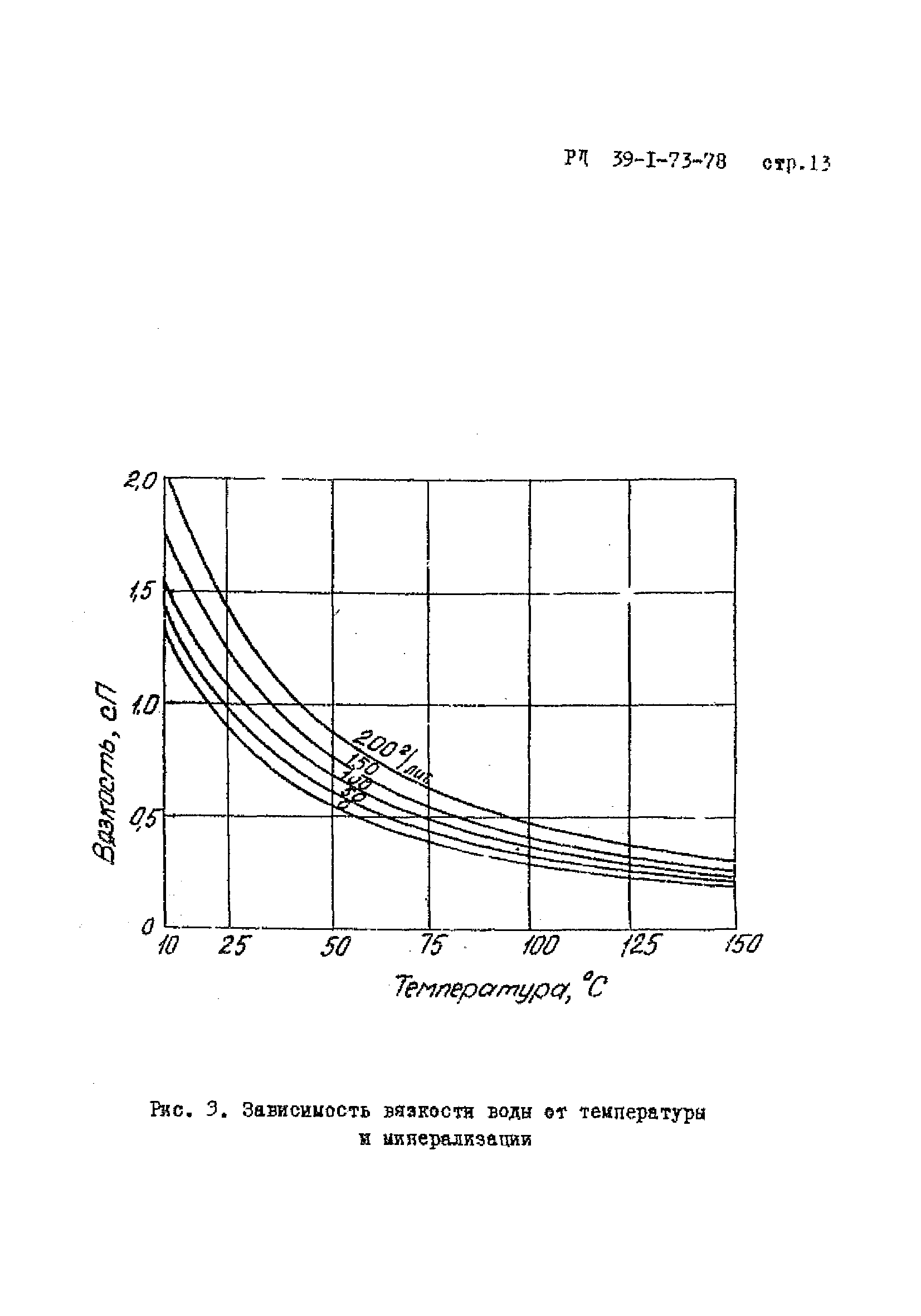
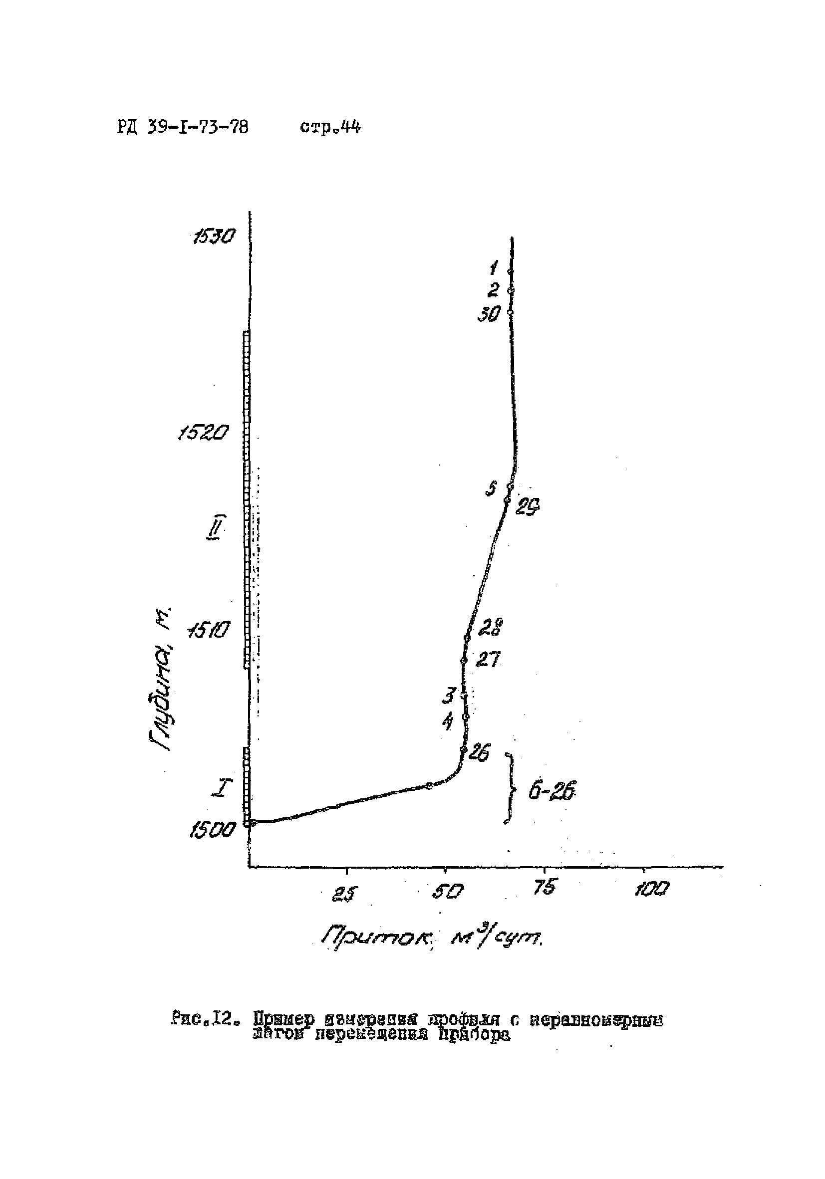
| Оглавление: | 1 Назначение и область применения Руководства 2 Виды потокометрических исследований скважин 3 Условия на забое, влияющие на показание приборов 3.1. Особенности течения жидкости в перфорационной зоне ствола скважины и влияние вихревого движения жидкости на показания приборов 3.2. Физические свойства забойной жидкости 3.3. Влияние характеристик потока и физических свойств жидкости на показание преобразователей 4 Профили притока и приемистости 4.1. Интегральный и дифференциальный профили 4.2. Подготовка к исследованию скважины 4.3. Методы измерения профилей притока или приёмистости 4.4. Виды искажений интегральных и дифференциальных профилей приемистости 4.5. Коррекция формы профилей притока и приемистости 4.6. Нормирование и сопоставление профилей 4.7. Определение водосодержания потока на забое и мест притока воды 4.8. Приведение показаний дебитомеров к поверхностным условиям 4.9. Интерпретация профилей притока и приемистости 5 Послойное определение гидродинамических характеристик продуктивного разреза 5.1. Цели и методы послойного определения гидродинамических характеристик разреза 5.2. Послойное определение коэффициентов продуктивности и приемистости 5.3. Послойные методы исследования интерференции скважин 5.4. Послойные методы исследования скважин по кривым восстановления давления и падения притока (КВдП) 5.5. Определение пластовых давления многопластового месторождения 6 Литература |
| Разработан: | Всесоюзный нефтегазовый научно-исследовательский институт (ВНИИ) |
| Утверждён: | 15.06.1976 Министерство нефтяной промышленности СССР (USSR Ministry of the Petroleum Industry ) |
















































































































