Скачать РД 39-1-417-80 Руководство по разработке мероприятий для повышения давления нагнетания воды на устье нагнетательных скважин Самотлорского месторожденияДата актуализации: 01.01.2021
|
| Обозначение: | РД 39-1-417-80 |
| Обозначение англ: | RD 39-1-417-80 |
| Статус: | введен впервые |
| Название рус.: | Руководство по разработке мероприятий для повышения давления нагнетания воды на устье нагнетательных скважин Самотлорского месторождения |
| Дата добавления в базу: | 01.09.2013 |
| Дата актуализации: | 01.01.2021 |
| Дата введения: | 10.10.1980 |
| Область применения: | Руководство предназначено для разработки мероприятий по повышению давления нагнетания на устье нагнетательных скважин Самотлорского месторождения. |
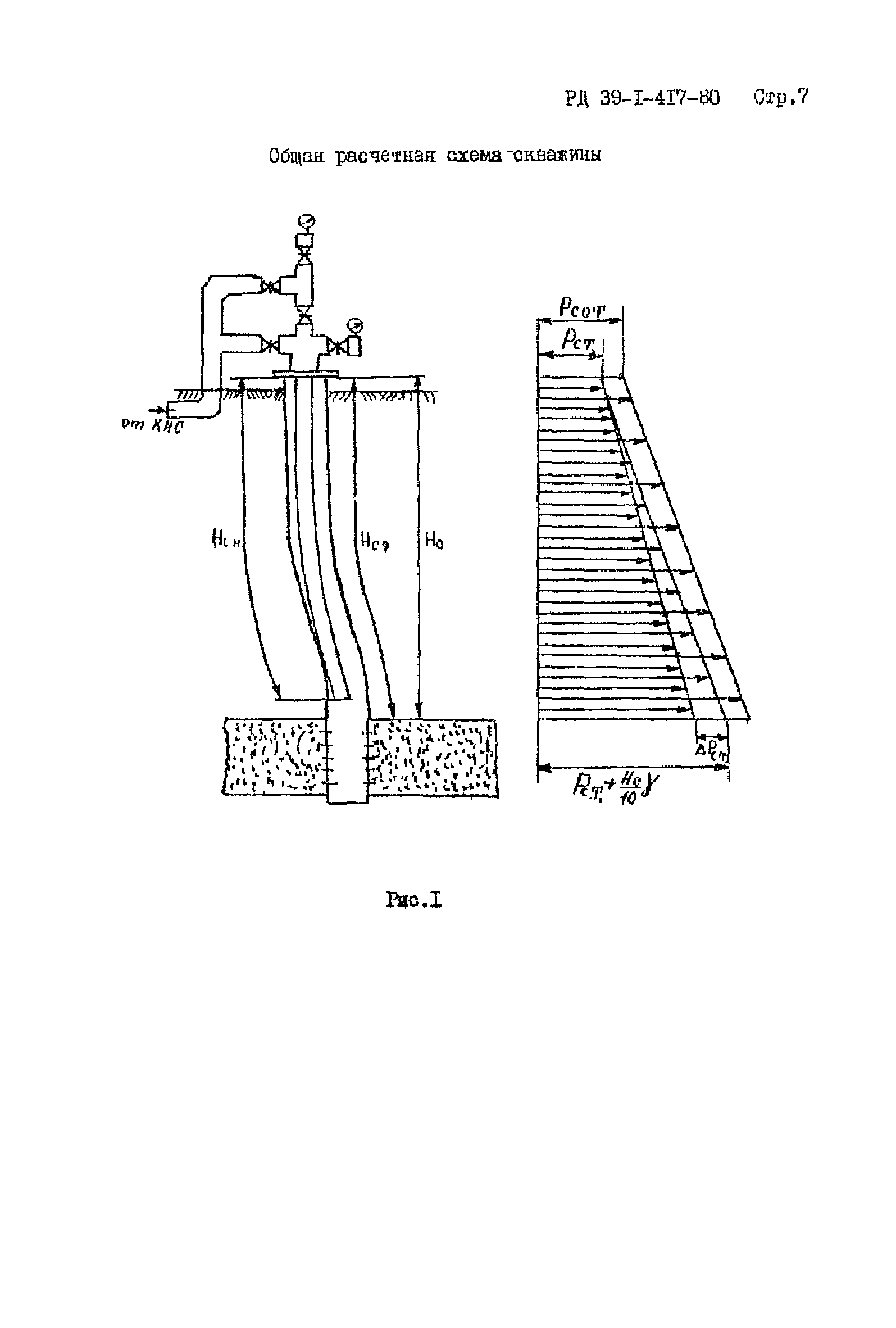
| Оглавление: | 1. Введение 2. Определение приемистости нагнетальных скважин и мероприятий по переоборудованию их 3. Определение технологического режима работы кустовых насосных станций и мероприятий по реконструкции водоводов 4. Определение мероприятий по обеспечению требуемого давления на гребенке кустовой насосной станции Приложения Литература |
| Разработан: | СибНИИ НП |
| Утверждён: | 30.06.1980 Миннефтепром СССР |
| Принят: | 13.03.1980 ВНИИнефть |







































