Скачать Рекомендации по определению физических, прочностных и деформационных характеристик мерзлых и оттаивающих крупнообломочных, полускальных и сильновыветрелых скальных грунтовДата актуализации: 01.01.2021 |
| Статус: | справочные материалы, мп, тпр |
| Название рус.: | Рекомендации по определению физических, прочностных и деформационных характеристик мерзлых и оттаивающих крупнообломочных, полускальных и сильновыветрелых скальных грунтов |
| Дата добавления в базу: | 01.09.2013 |
| Дата актуализации: | 01.01.2021 |
| Область применения: | Рекомендации предназначены дня использования их при строительстве в районах распространения вечномерзлых крупнообломочных, полускальных и скальных грунтов |
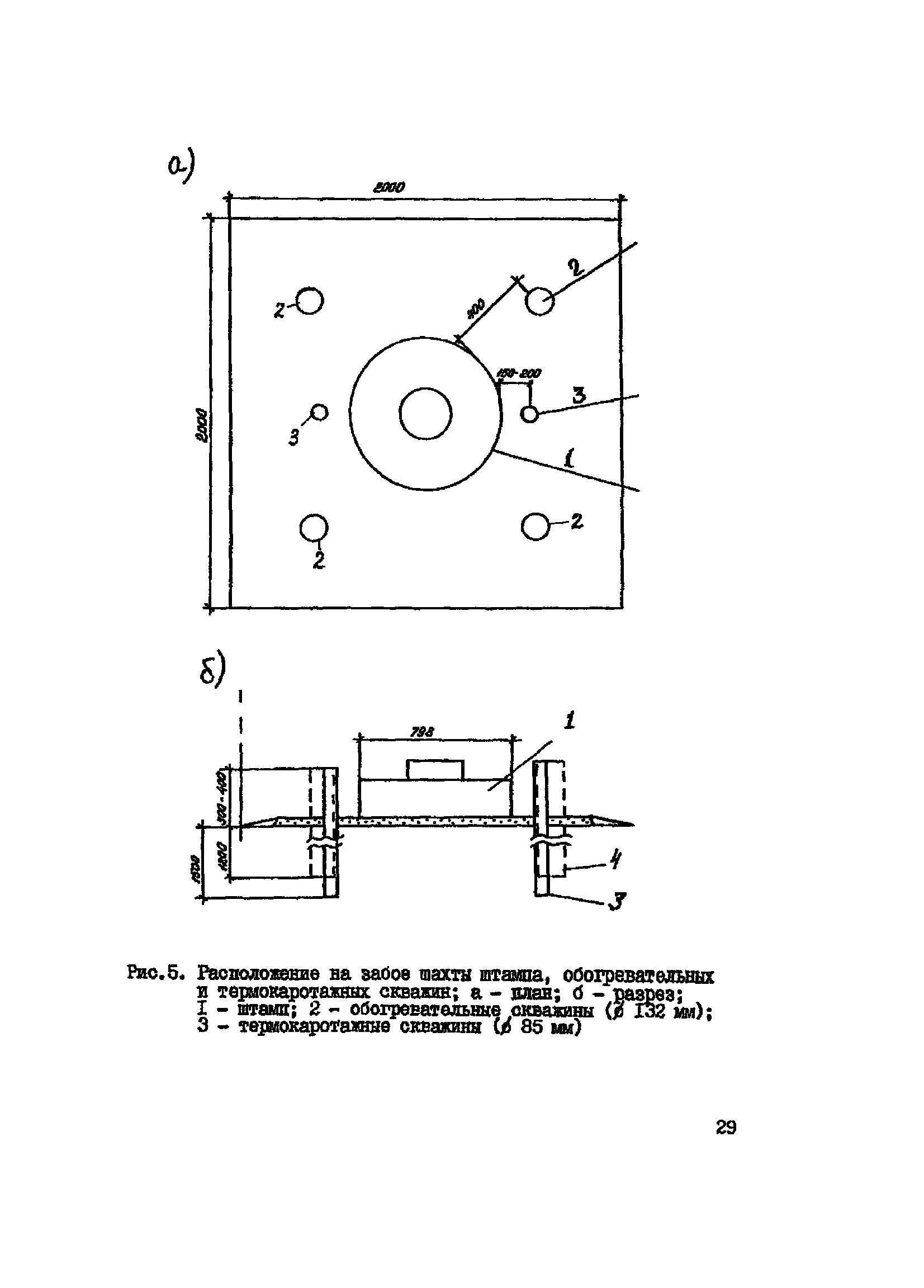
| Оглавление: | 1. Общие положения 2. Определение плотности 2.1 Исходные положения 2.2 Оборудование 2.3 Проведение испытаний 2.4 Обработка результатов 3. Определение суммарной влажности 3.1 Исходные положения 3.2 Оборудование 3.3 Проведение испытаний 3.4 Обработка результатов 4. Определение гранулометрического состава грунта 4.1 Исходные положения 4.2 Оборудование 4.3 Проведение испытаний 4.4 Обработка результатов 5. Определение сопротивления сдвигу целиков грунта 5.1 Исходные положения 5.2 Оборудование 5.3 Выбор варианта анкеровки и монтаж упорно-анкерного устройства 5.4 Подготовка целиком грунта к испытанию 5.5 Монтаж установки 5.6 Методика проведения испытаний целиков грунта на сдвиг по различным схемам 5.7 Обработка результатов 6. Испытания оттаивающих грунтов статическими нагрузками (горячие штампы) 6.1 Исходные положения 6.2 Оборудование 6.3 Подготовка к испытаниям 6.4 Проведение испытания 6.5 Обработка результатов 7. Основные требования по технике безопасности Приложение 1. Формы записи при определении физических свойств и состава грунта Приложение 2. Характеристика установок для полевых испытаний целиков грунта на сдвиг Приложение 3. Рабочий журнал испытания грунта на сдвиг по фиксированной плоскости Приложение 4. Рабочий журнал испытания грунта статическими нагрузками с оттягиванием Приложение 5. Значения коэффициента W+ (из таблицы 39) |
| Разработан: | ВНИИОСП им. Н.М. Герсеванова Фундаментпроект Госстроя СССР |
| Утверждён: | ВНИИОСП имени Н.М. Герсеванова |
| Нормативные ссылки: |
|

















































