Скачать Рекомендации по точечной дуговой приварке профилированного настила к стальным элементам каркасаДата актуализации: 01.01.2021 |
| Статус: | действует |
| Название рус.: | Рекомендации по точечной дуговой приварке профилированного настила к стальным элементам каркаса |
| Дата добавления в базу: | 01.09.2013 |
| Дата актуализации: | 01.01.2021 |
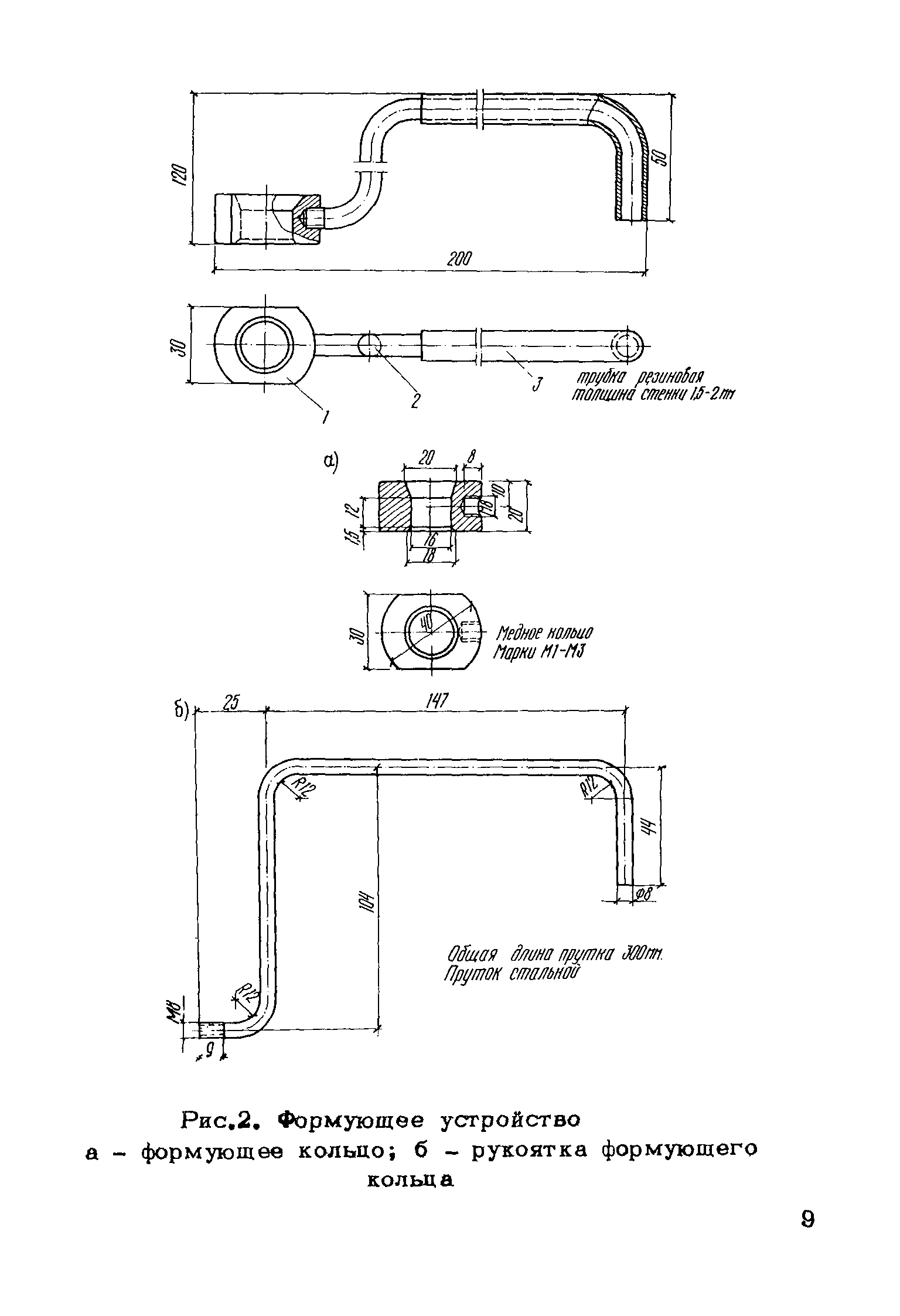
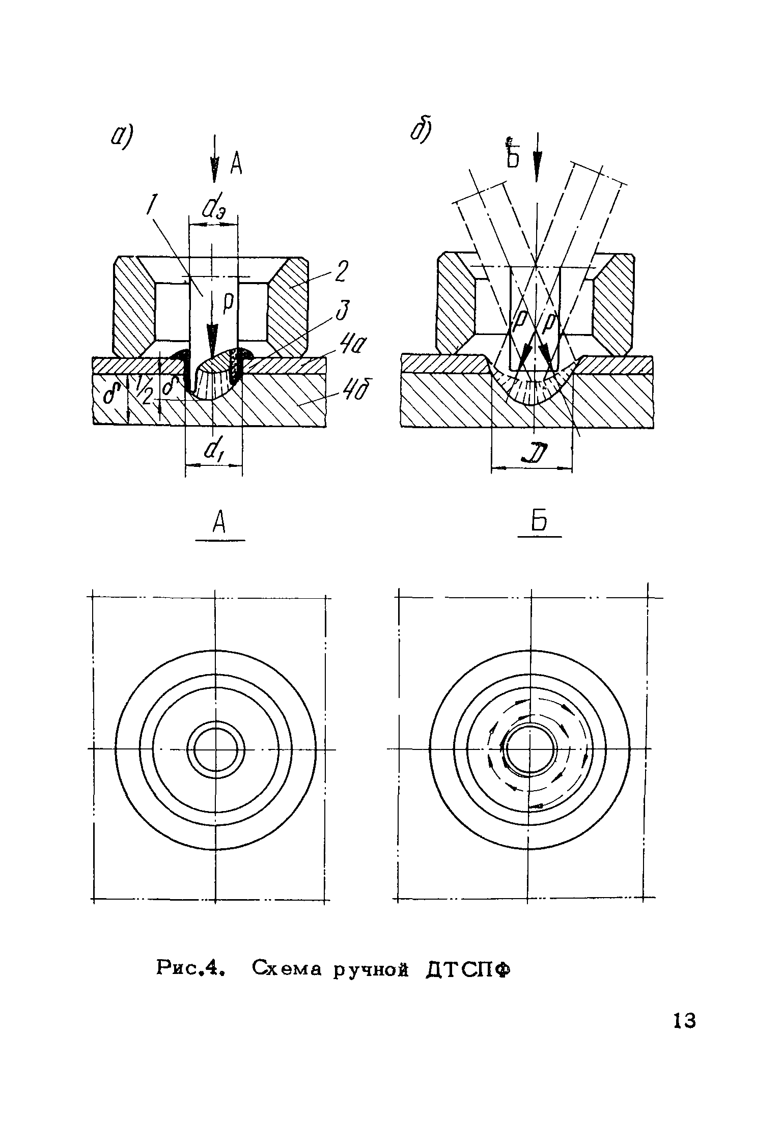
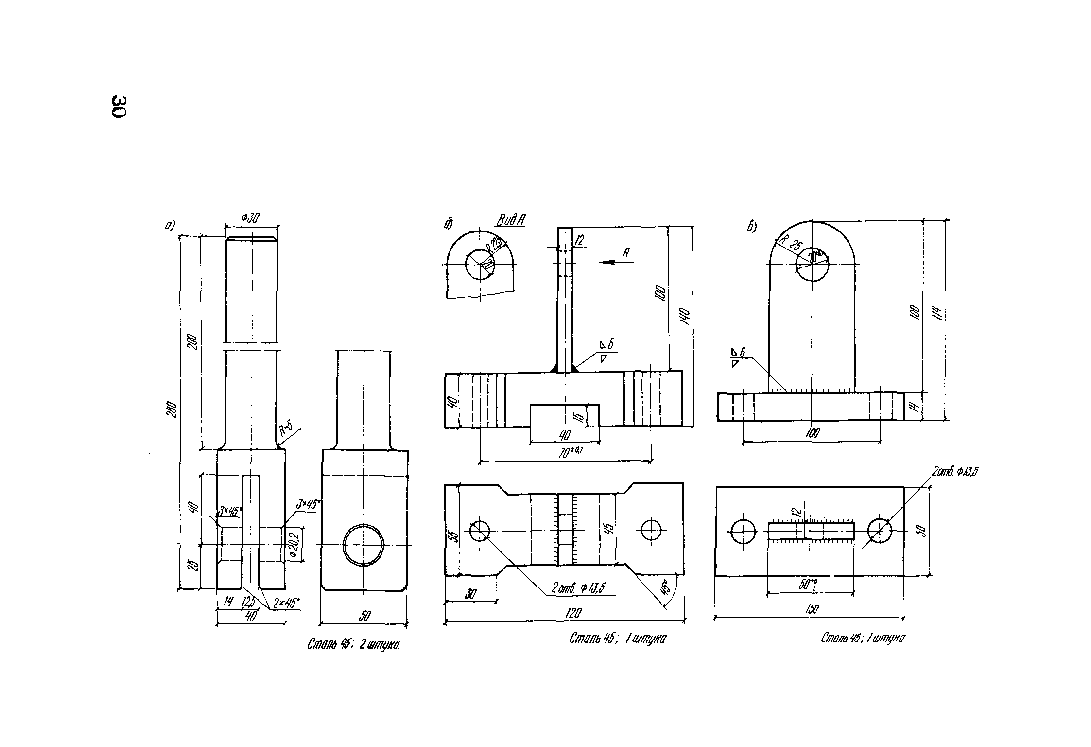
| Область применения: | Рекомендация содержат сведения о технологии ручной точечной дуговой приварки про филированного оцинкованного настила толщиной 1-1,5 мм к элементам каркаса из малоуглеродистой или низколегированной стали толщиной 6-10 мм. |
| Оглавление: | Введение 1. Общие положения 2. Производство сварочных работ 3. Контроль качества точечных соединений 3.А. Внешний осмотр точек 3.Б. Визуальный контроль макроструктуры 3.В. Испытании образцов технологической пробы и контрольных 4. Исправление дефектных точек 5. Требования охраны труда и противопожарной защиты 6. Методические указания и программа обучения рабочих ДТСПФ 6.А. Методические указания 6.Б. Программа практического обучения Приложение. Форма справки |
| Разработан: | ЦНИИСК им. В.А. Кучеренко |
| Утверждён: | 24.05.1978 ЦНИИСК им. В.А. Кучеренко Госстроя СССР |
| Нормативные ссылки: |
|










































