Скачать Методические рекомендации по определению свойств антикоррозионных защитных покрытий бетонаДата актуализации: 01.01.2021
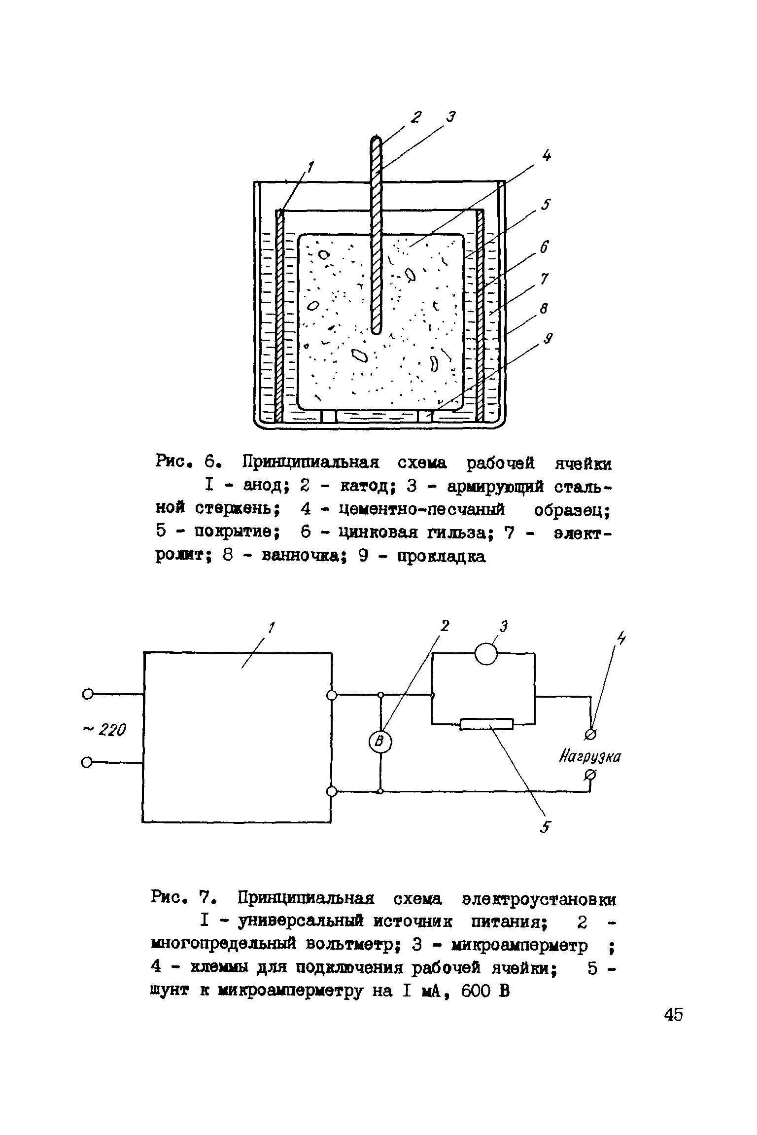
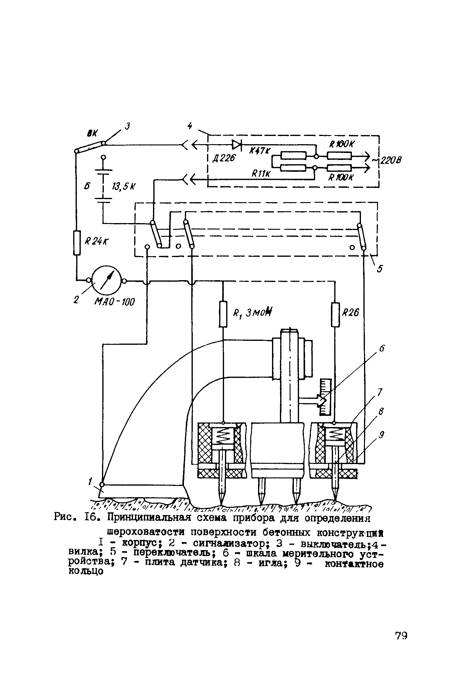
Методические рекомендации по определению свойств антикоррозионных защитных покрытий бетона| Статус: | справочные материалы, мп, тпр | | Название рус.: | Методические рекомендации по определению свойств антикоррозионных защитных покрытий бетона | | Дата добавления в базу: | 01.09.2013 | | Дата актуализации: | 01.01.2021 | | Область применения: | В документе рассмотрены методы определения свойств различных антикоррозионных покрытий: адгезии, водопроницаемости, паропроницаемости, трещиностойкости, химической стойкости. Приведены требования и методы испытаний поверхности бетона под покрытие. Методические рекомендации предназначены для инженерно-технических работников строительных организаций. | | Оглавление: | Предисловие Общие положения и область применения Общие положения методики определения химической стойкости антикоррозионных покрытий Метод определения химической стойкости лакокрасочных покрытий на бетоне Метод определения химической стойкости мастичных и подстилающе-приклеивающих материалов Метод определения химической стойкости оклеечных материалов Метод определения химической стойкости облицовочных элементов Метод определения адгезии лакокрасочных, мастичных и облицовочных покрытий к бетону Метод определения адгезии оклеечных покрытий к бетону Метод определения водопроницаемости лакокрасочных мастичных и оклеечных антикоррозионных покрытий на бетоне Метод определения паропроницаемости антикоррозионных покрытий на бетоне Метод определения трещиностойкости антикоррозионных покрытий на бетоне Приложение 1. Прибор для определения поверхностной пористости Приложение 2. Прибор для определения шероховатости поверхности бетонных конструкций Приложение 3. Перечень рекомендаций по стандартизации (РС) методов испытания антикоррозионных покрытий бетона и железобетона, разработанных Институтом стандартизации СЭВ | | Разработан: | НИИЖБ Госстроя СССР
| | Утверждён: | 22.05.1979 НИИЖБ Госстроя СССР (NIIZhB, USSR Gosstroy )
| | Издан: | НИИЖБ (1980 г. )
|
                                                                                 
|