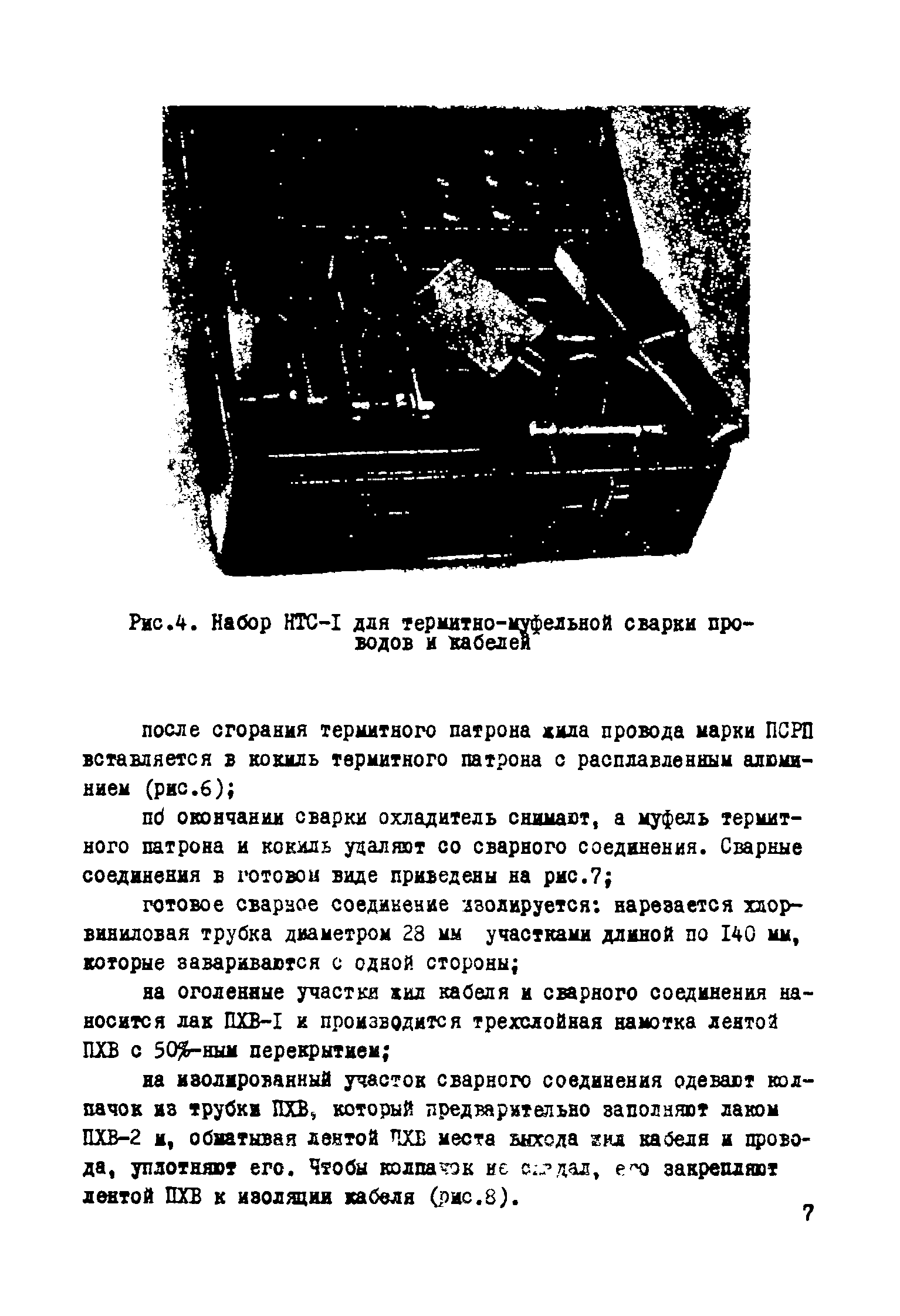
Скачать Р 138-73 Рекомендации по контактным соединениям при монтаже установок электрохимической защиты трубопроводов от коррозииДата актуализации: 01.01.2021
|
| Обозначение: | Р 138-73 |
| Обозначение англ: | R 138-73 |
| Статус: | утратил силу |
| Название рус.: | Рекомендации по контактным соединениям при монтаже установок электрохимической защиты трубопроводов от коррозии |
| Дата добавления в базу: | 01.09.2013 |
| Дата актуализации: | 01.01.2021 |
| Дата введения: | 21.03.1973 |
| Дата окончания срока действия: | 20.09.1983 |
| Область применения: | В “Рекомендациях по контактным соединениям при монтаже установок электрохимической защиты трубопроводов от коррозии” содержатся основные сведения по выполнению контактных соединений при монтаже установок протекторной, катодной и электродренажной защиты гаэонефтепроводов от подземной коррозии. |
| Оглавление: | Введение 1. Термитная сварка 2. Опрессовка 3. Газовая сварка 4. Соединение проводов в овальных соединителях 5. Техника безопасности |
| Разработан: | ВНИИСТ |
| Утверждён: | 21.03.1973 ВНИИСТ (VNIIST ) 14.03.1973 Спецмонтажный трест № 8 |
| Нормативные ссылки: |
































