Скачать РД 39-3-763-82 Инструкция по определению коррозионного состояния и защищенности осадных колонн скважин по их длинеДата актуализации: 01.01.2021
|
| Обозначение: | РД 39-3-763-82 |
| Обозначение англ: | RD 39-3-763-82 |
| Статус: | действует |
| Название рус.: | Инструкция по определению коррозионного состояния и защищенности осадных колонн скважин по их длине |
| Дата добавления в базу: | 01.09.2013 |
| Дата актуализации: | 01.01.2021 |
| Дата введения: | 01.07.1983 |
| Область применения: | В Инструкции рассматриваются вопросы определения коррозионного состояния и защищенности обсадных колонн одноствольных и кустовых скважин газовых и нефтяных промыслов. |
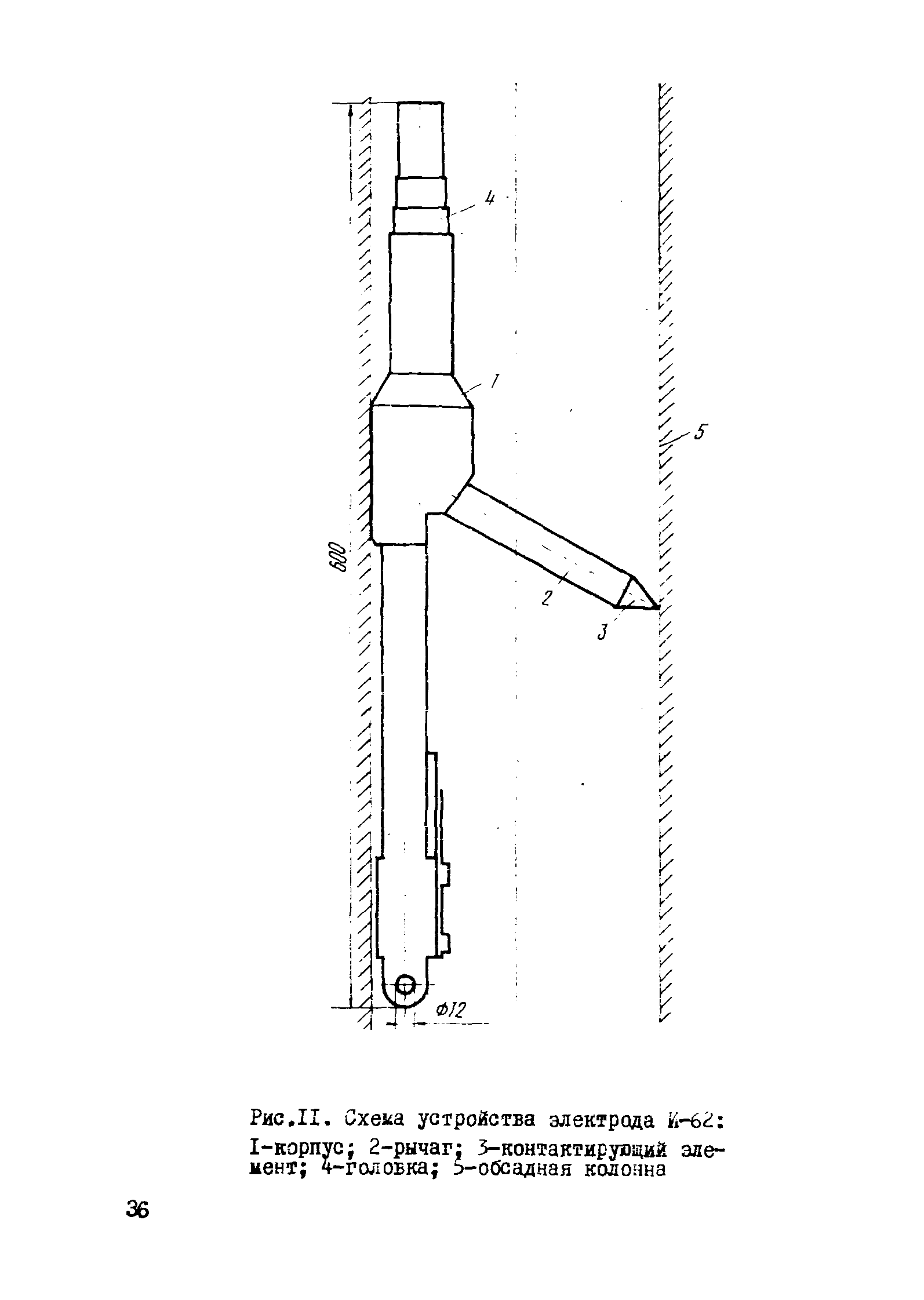
| Оглавление: | 1. Общие положения 2. Коррозионные обследования обсадных колонн 3. Критерии оценки коррозионного состояния и защищенности обсадных колонн 4. Методика обследования обсадных колонн 5. Обеспечение измерений на колонне 6. Учет и устранение погрешностей результатов измерений 7. Результаты измерений, оценка скорости коррозии и степени защищенности 8. Техника безопасности и противопожарные мероприятия Приложения Литература |
| Разработан: | ВНИИгаз (VNIIgaz ) ТатНИПИнефть ВНИИСТ |
| Утверждён: | 01.09.1981 Министерство нефтяной промышленности СССР (USSR Ministry of the Petroleum Industry ) 15.04.1982 Министерство газовой промышленности (Ministry of the Gas Industry ) |
| Заменяет собой: |
|
| Нормативные ссылки: |










































