Скачать Рекомендации по периферийному электрообогреву монолитного бетона термоактивными опалубочными щитами

Дата актуализации: 01.01.2021

Рекомендации по периферийному электрообогреву монолитного бетона термоактивными опалубочными щитами

Статус:справочные материалы, мп, тпр
Название рус.:Рекомендации по периферийному электрообогреву монолитного бетона термоактивными опалубочными щитами
Дата добавления в базу:01.09.2013
Дата актуализации:01.01.2021
Область применения:Рекомендации содержат основные положения по электротермообработке бетона монолитных конструкций с применением термоактивных опалубочных щитов. Даны режимы тепловой обработки с применением комбинированного способа периферийного электропрогрева с контактным электрообогревом бетона. Приведены теплотехнический расчет требуемой мощности для злектротермообработки и конструктивные схемы щитов. Наложены требования к материалам, электрооборудованию, контролю производства работ, качеству бетона и технике безопасности. Даны примеры расчета периферийного электропрогрева и электрообогрева бетона. Предназначены для инженерно—технических работников проектных, строительных и научно-исследовательских организаций.
Оглавление:Предисловие
1. Общие положения
2. Материалы и состав бетона
3. Конструктивное исполнение термоактивных опалубочных щитов (ТЩ)
4. Режимы электротермообработки бетона
5. Теплотехнический расчет требуемой мощности для электротермообработки бетона
6. Электрообогрев бетона
7. Электропрогрев бетона
8. Комбинированный способ электротермообработки бетона
9. Производство работ по электротермообработке бетона
10. Электрооборудование и контроль за режимом электротермообработки бетона
11. Контроль за производством работ и качеством бетона
12. Техника безопасности
Приложение 1. Пример расчета электрообогрева и электропрогрева бетона
Приложение 2. Пример пользования номограммой для определения параметров электропрогрева бетона
Приложение 3. Определение модуля поверхности охлаждения бетона
Приложение 4. Коэффициент теплопередачи опалубок и укрытий неопалубленной поверхности бетона различной конструкции
Приложение 5. Методика определения удельного электрического сопротивления бетона
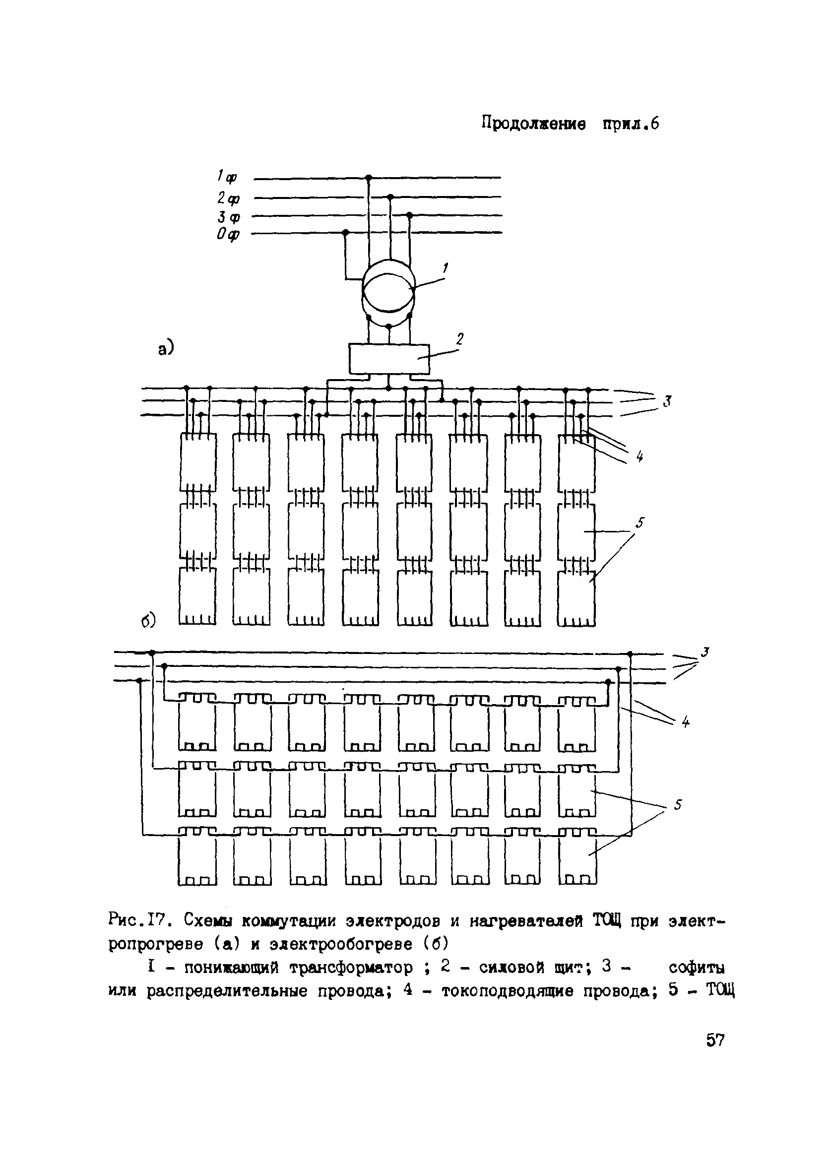
Приложение 6. Иллюстрации к настоящим рекомендациям
Разработан: НИИЖБ Госстроя СССР
Утверждён:21.06.1985 НИИЖБ Госстроя СССР (NIIZhB, USSR Gosstroy )
Нормативные ссылки: