Скачать Рекомендации по расчету прочности и трещиностойкости узлов преднапряженных железобетонных ферм

Дата актуализации: 01.01.2021

Рекомендации по расчету прочности и трещиностойкости узлов преднапряженных железобетонных ферм

Статус:справочные материалы, мп, тпр
Название рус.:Рекомендации по расчету прочности и трещиностойкости узлов преднапряженных железобетонных ферм
Дата добавления в базу:01.09.2013
Дата актуализации:01.01.2021
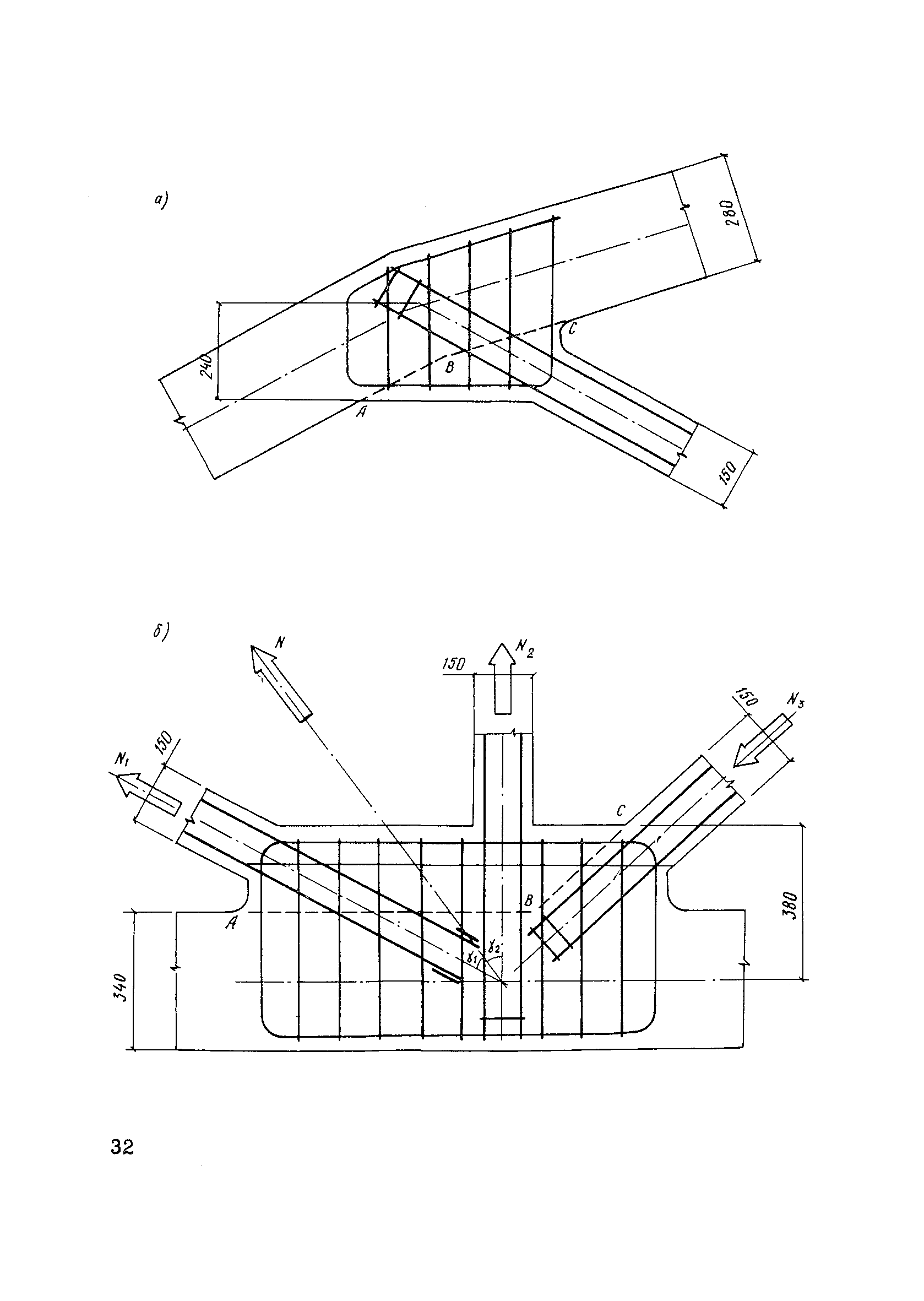
Область применения:В документе содержатся рекомендации по расчету прочности опорных и промежуточных узлов и трещиностойкости опорных узлов железобетонных преднапряженных стропильных и подстропильных ферм. Расчет трещино—стойкости дан при воздействии внешних нагрузок, а также при воздействии усилий обжатия преднапряженной арматуры. Приведены примеры расчетов на прочность и трещиностойкость. Предназначены для инженерно—технических работников проектных и научно—исследовательских организаций
Оглавление:Предисловие
1. Общие положения
2. Расчет прочности опорных узлов
3. Расчет прочности промежуточных узлов
4. Расчет по образованию трещин
5. Приближенный способ определения нагрузки, вызывающей образование трещин
6. Конструирование узлов
Приложение 1. Примеры расчета узлов по прочности
Приложение 2. Определение величины погонных усилий сцепления t с бетоном и усилий в предварительно напряженной арматуре в фермах, армированных канатами диаметром 15 К-7
Приложение 3. Примеры расчета узлов по образованию трещин
Разработан: НИИЖБ Госстроя СССР
НИИЖТ МПС СССР
Утверждён:20.03.1987 НИИЖБ Госстроя СССР (NIIZhB, USSR Gosstroy )
Нормативные ссылки: