Скачать Рекомендации по интенсификации производства сборных железобетонных изделий для промышленного строительства (свай, колонн и ригелей)Дата актуализации: 01.01.2021
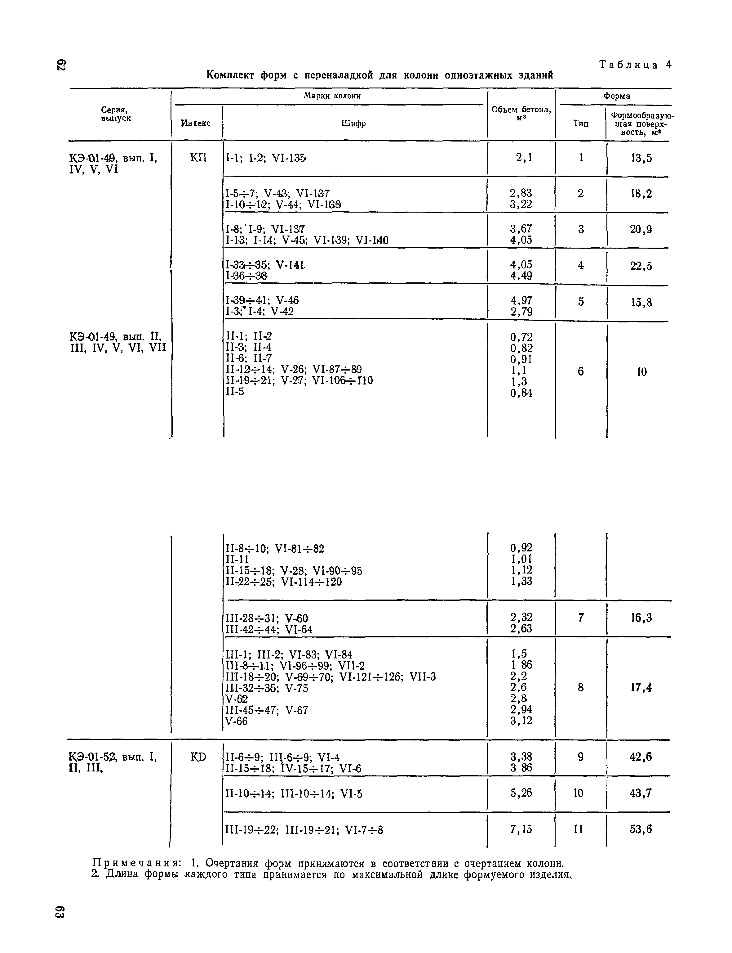
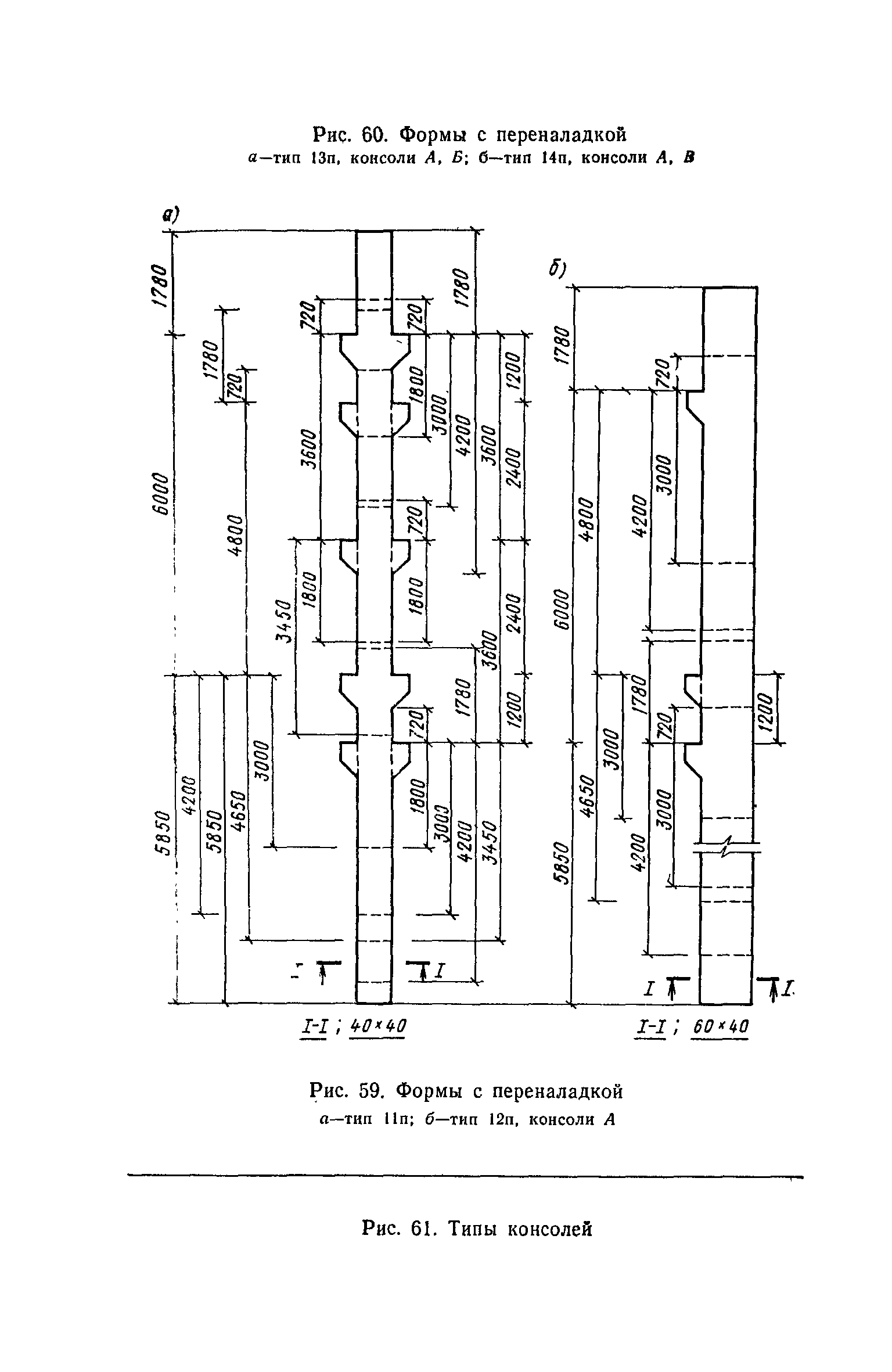
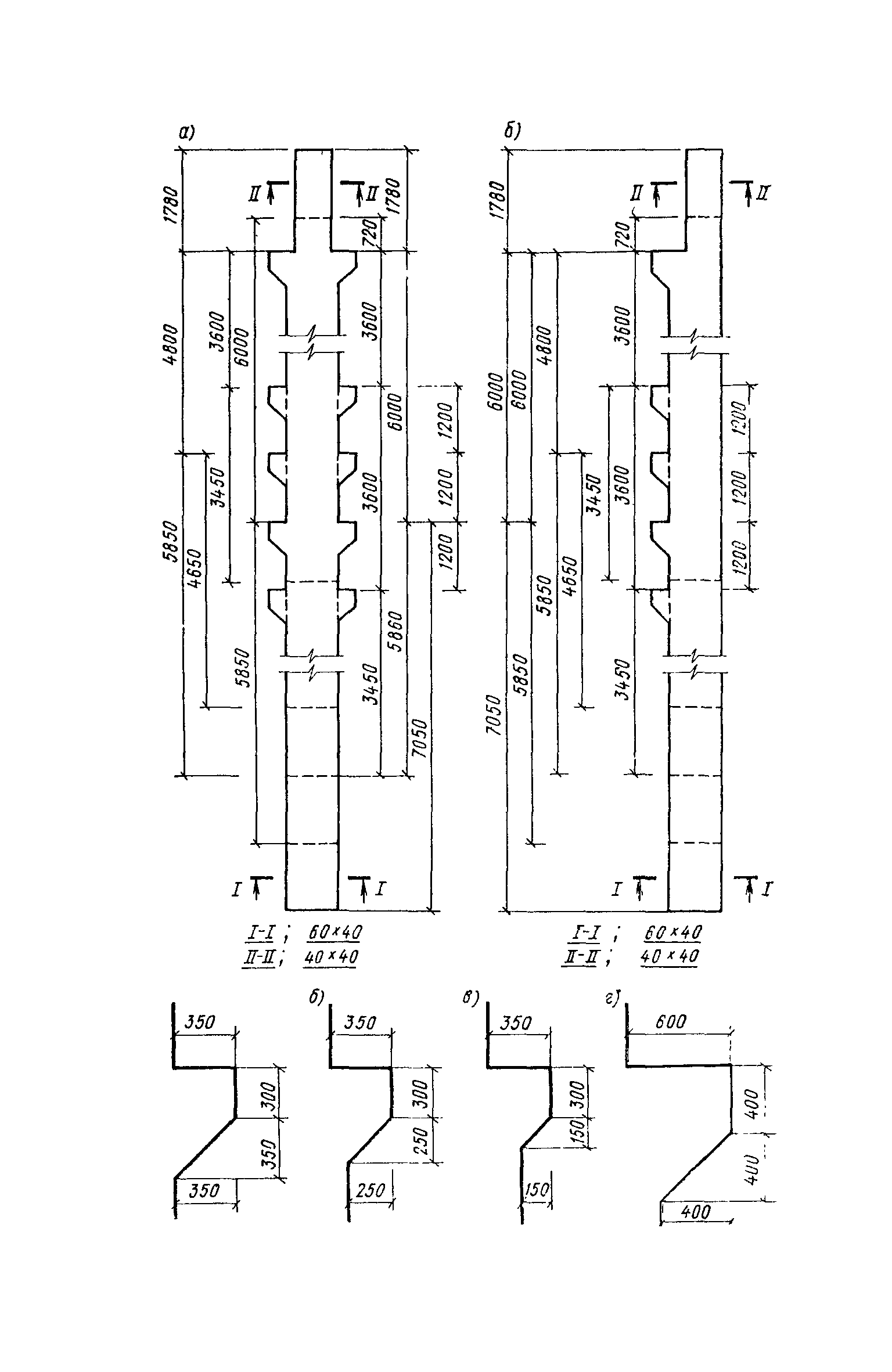
Рекомендации по интенсификации производства сборных железобетонных изделий для промышленного строительства (свай, колонн и ригелей)| Статус: | справочные материалы, мп, тпр | | Название рус.: | Рекомендации по интенсификации производства сборных железобетонных изделий для промышленного строительства (свай, колонн и ригелей) | | Дата добавления в базу: | 01.09.2013 | | Дата актуализации: | 01.01.2021 | | Область применения: | В документе приведены конструктивные особенности свай, колонн и ригелей, их формы, указания по их армированию, технологии производства, в том числе и при ускоренных режимах тепловой обработки бетона, по организации работ. Рекомендации составлены на основе изучения передового опыта изготовления свай колонн и ригелей на открытых полигонах, на ряде заводов Советского Союза, а также с учетом разработок ВНИИжелезобетона и направлены на улучшение технологии производства свай, колонн и ригелей. Для инженерно-технических работников заводов сборного железобетона, а также проектно-конструкторских организаций, занимающихся производством, реконструкцией и проектированием предприятий, изготовляющих сборные железобетонные изделия для промышленного строительства. | | Оглавление: | Предисловие 1. Назначение и область применения 2. Номенклатура и армирование свай, колонн и ригелей Сваи Колонны Ригели 3. Формы Классификация форм Расчет комплектов форм Формы для свай, колонн и ригелей Чистка и смазка форм 4. Камеры тепловой обработки бетона 5. Технологические схемы и линии 6. Контроль качества изделий 7. Организация производства и технико-экономические показатели 8. Техника безопасности Приложение 1. Станки и установки для изготовления арматурных каркасов Станок для навивки и сварки каркасов свай, шифр 945 Станок для непрерывной навивки спирали Установка для изготовления арматурных каркасов колонн, шифр СМЖ-351 Установка для сборки арматурных каркасов тяжелых колонн, шифр 1141 Приложение 2. Комплекты форм для колонн одноэтажных и многоэтажных зданий по признакам универсальности Комплект форм без перекладки для колонн одноэтажных зданий Комплект форм с переналадкой для колонн одноэтажных зданий Комплект форм без переналадки для колонн многоэтажных зданий Комплект форм с переналадкой в пределах этажности для колонн многоэтажных зданий Комплект форм с переналадкой без ограничения этажности для колонн многоэтажных зданий Приложение 3. Пример расчета комплектов форм | | Утверждён: | ВНИИжелезобетон Минстройматериалов СССР
| | Издан: | Стройиздат (1981 г. )
| | Нормативные ссылки: | |
                                                                                       
|